Cap firing order?

Tiny
TIMOTHY BROOKER
  • MEMBER
  • 1979 BUICK REGAL
  • 3.8L
  • V6
  • 2WD
  • 120,000 MILES
Wires missing and need to know what goes where on the cap.
Thursday, November 28th, 2024 AT 3:26 PM

1 Reply

Tiny
STEVE W.
  • MECHANIC
  • 15,697 POSTS
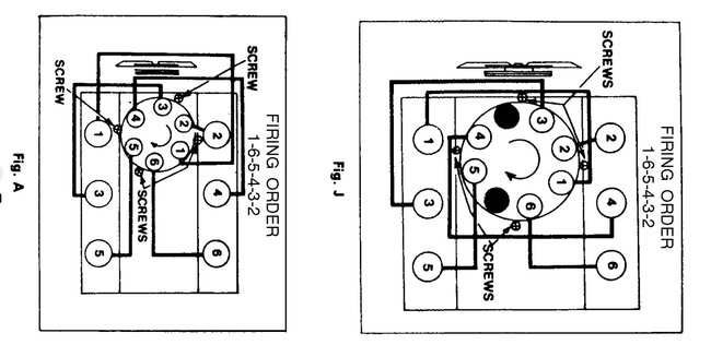
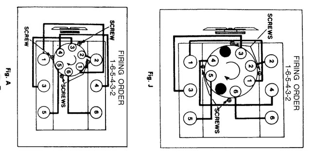
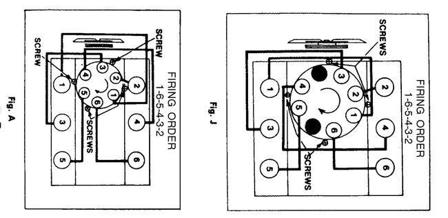
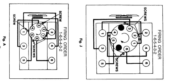
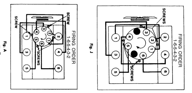
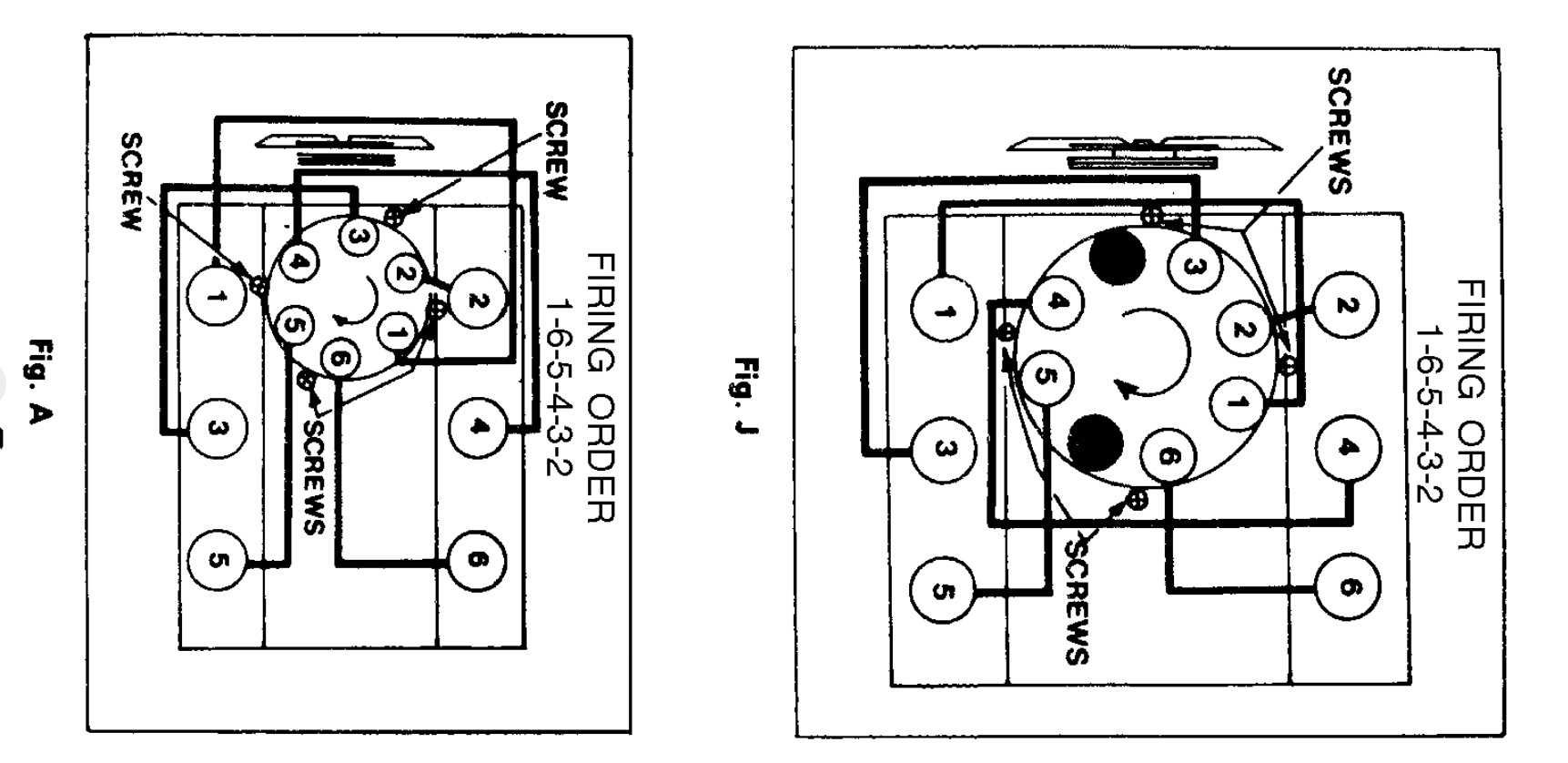
These are the two possible wire layouts depending on which version of the HEI system you have. The firing order is the same on both 1-6-5-4-3-2. Normally the wire tower at the rear is 6. In most wire sets 2 is the shortest wire then 6 then 5 with 3, 1, 4 being the rest in wire length.
Was this
answer
helpful?
Yes
No
Thursday, November 28th, 2024 AT 11:04 PM

Please login or register to post a reply.