Monday, November 11th, 2019 AT 7:48 AM
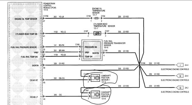
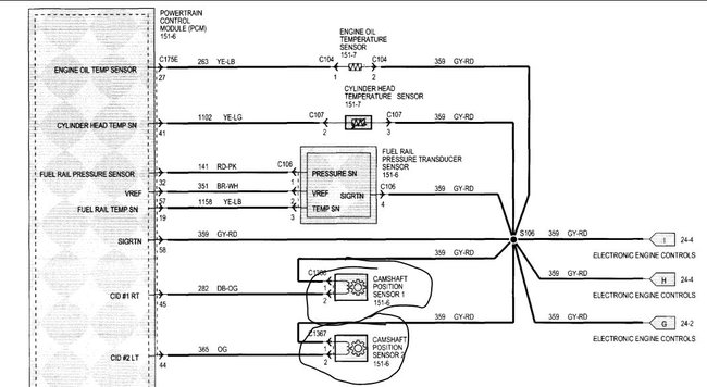
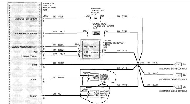
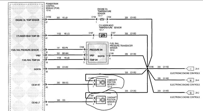
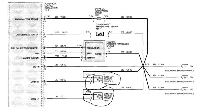
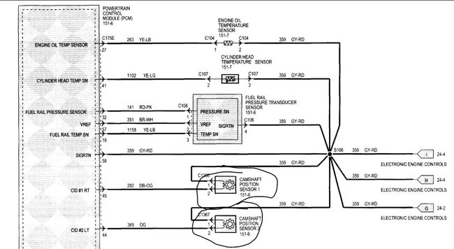
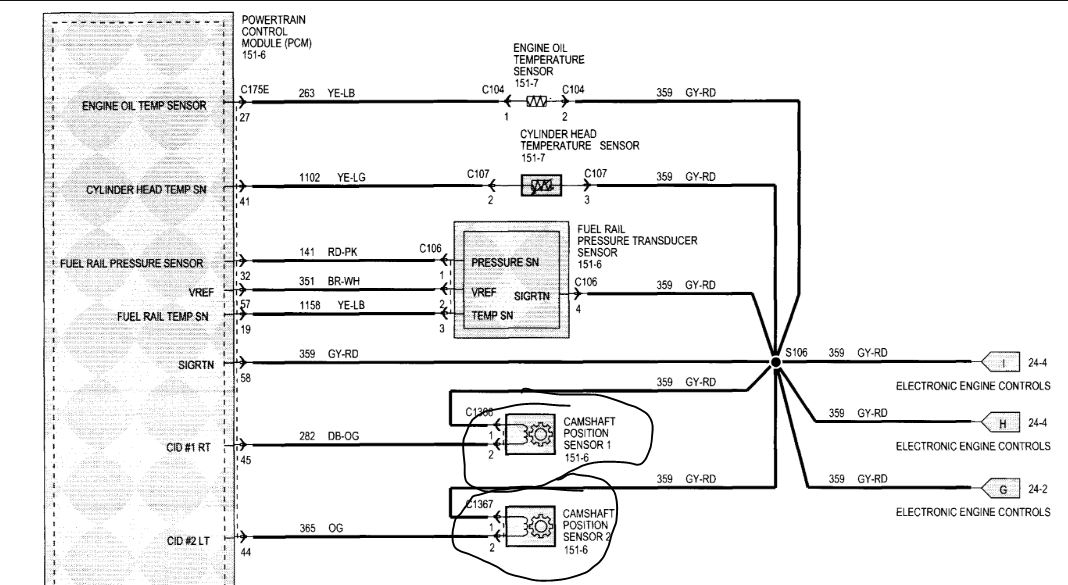
I have a P0340 code and I replaced my sensor but to no avail. I could’ve replaced it wrong but I believe it’s a wiring issue. How would I test the wires going to the CPS?



