While driving sputtering, not being able to accelerate then shuts off when stopped

Tiny
DEVILLE MAN 93
  • MEMBER
  • 1993 CADILLAC DEVILLE
  • 100,000 MILES
I have had this car for about a year now, and when I was driving it one day, I accelerated hard on the road and the car began to sputter and not accelerate had to pull over and restart the car. Now, after a couple of months, the car begins to stall after a short drive, doing the same thing, sputtering, not being able to accelerate then shuts off when stopped. It will start fine after about 3 minutes but still has the chance to stall.

I just replaced the fuel pump, fuel sending unit, and strainer. Still having problems, though.

A person on here said it could be the injection control module in the distributor. Could that be it or is it something more. Pricey?
Saturday, January 11th, 2020 AT 7:48 PM

4 Replies

Tiny
JACOBANDNICKOLAS
  • MECHANIC
  • 110,194 POSTS
Hi,

It could be a few things. Have you ever checked to see if there are diagnostic trouble codes stores in the computer? This vehicle has an OBD 1 system and you can check it at home. All you need is a short jumper wire or even a paper clip. Based on the description, it sounds more ignition related. Do me a favor, follow this link and let me know if you find codes are what they are:

https://www.2carpros.com/articles/buick-cadillac-chevy-gmc-oldsmobile-pontiac-gm-1983-1995-obd1-code-definitions-and-retrieval-method

Let me know what you find.

Take care,
Joe
Was this
answer
helpful?
Yes
No
Saturday, January 11th, 2020 AT 9:09 PM
Tiny
JIS001
  • MECHANIC
  • 3,412 POSTS
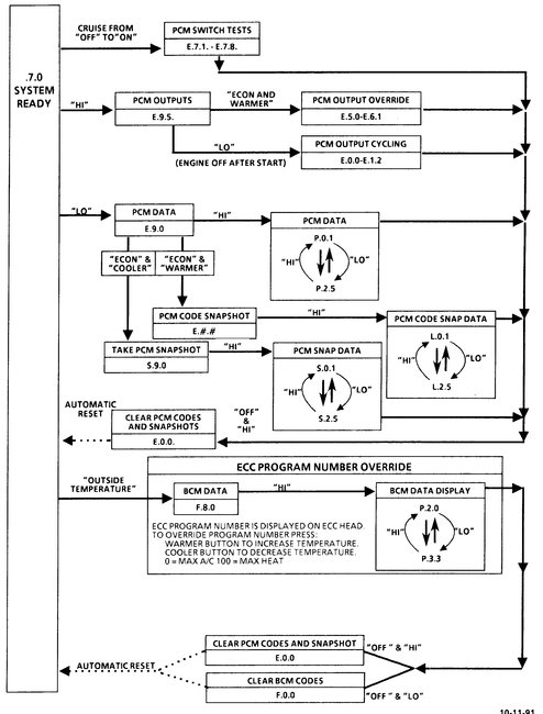
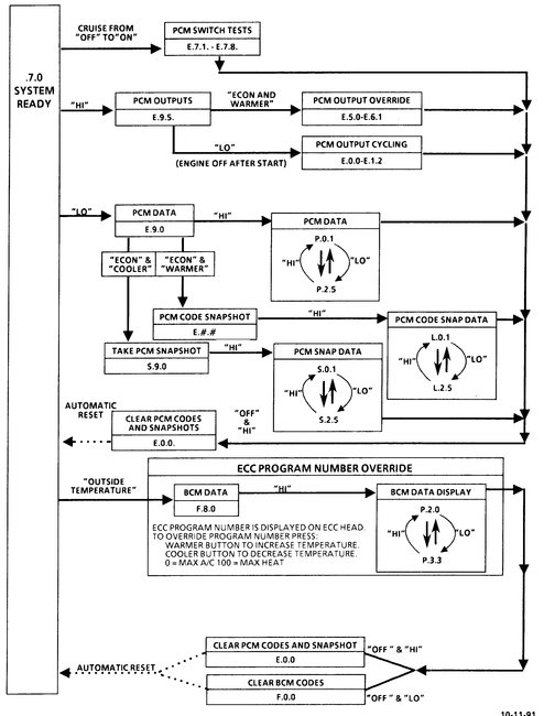
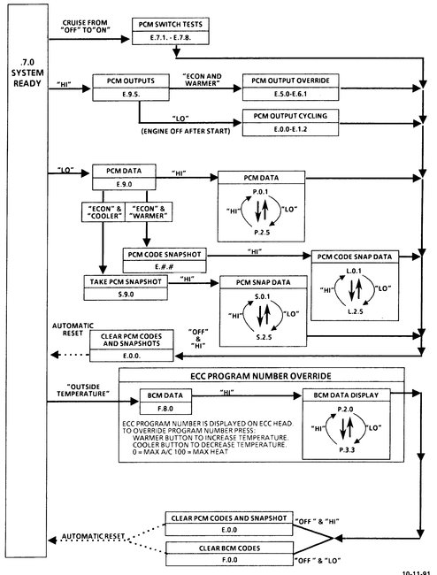
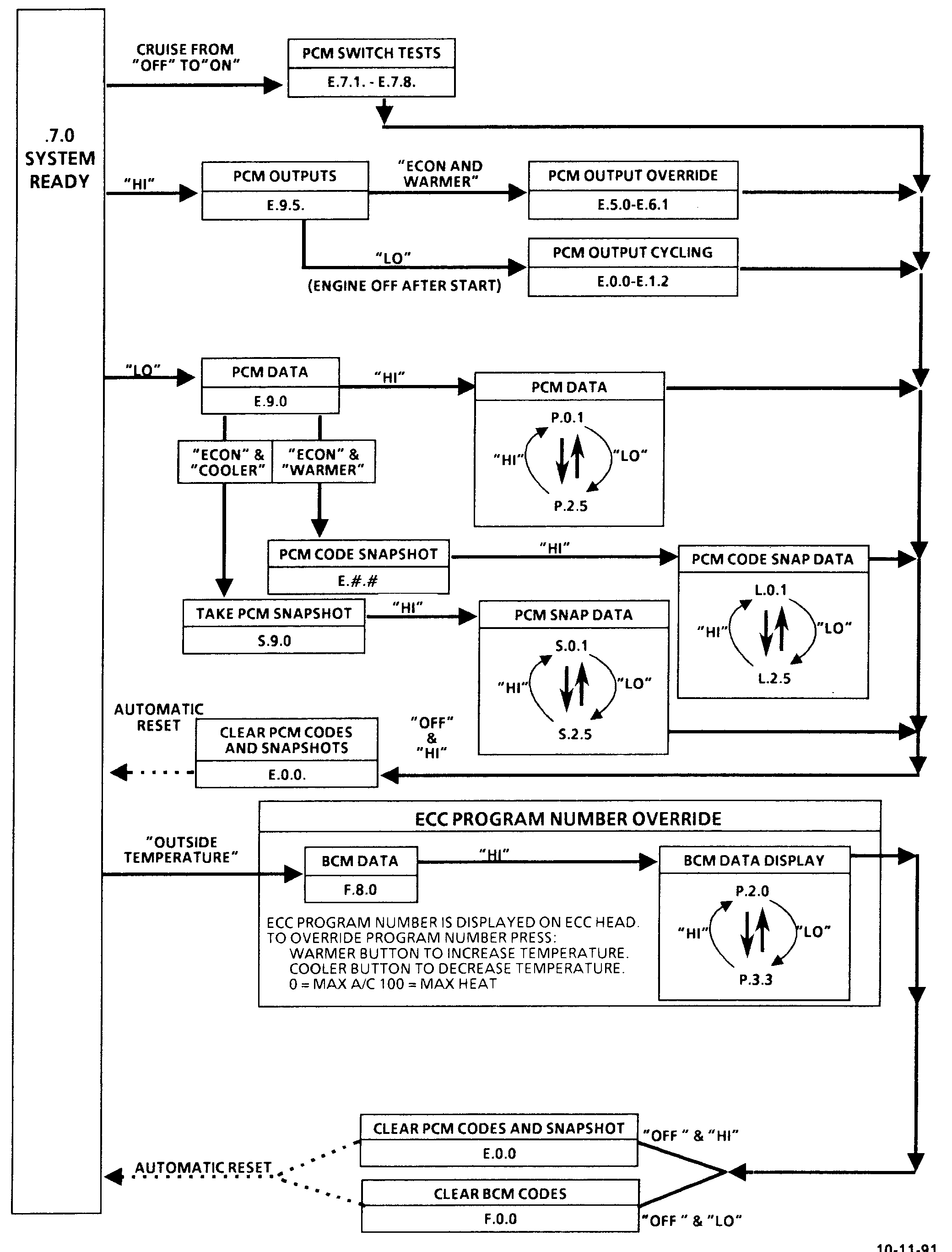
Is the service engine soon light on? You may want to check for trouble codes whether it is on or not. See images below. Basically on the climate control unit you are going to press the off and warmer buttons at the same time to enter diagnostic mode and read codes. If you get codes please post them on here please.
Was this
answer
helpful?
Yes
No
Saturday, January 11th, 2020 AT 9:18 PM
Tiny
DEVILLE MAN 93
  • MEMBER
  • 13 POSTS
Fixed: Sorry for not replying turns out it was the Ignition Module in the distributor. Very easy fix!
Was this
answer
helpful?
Yes
No
+1
Monday, February 3rd, 2020 AT 11:11 AM
Tiny
JACOBANDNICKOLAS
  • MECHANIC
  • 110,194 POSTS
Glad to hear you got if fixed. Based on your original description, I suspected it was ignition related.

Take care and let us know if you have questions in the future.

Joe
Was this
answer
helpful?
Yes
No
+1
Monday, February 3rd, 2020 AT 9:22 PM

Please login or register to post a reply.