Keys stuck in ignition in on position

Tiny
MIKE D HALL
  • MEMBER
  • 2004 BUICK RANIER
Electrical problem 6 cyl All Wheel Drive Automatic 42000 miles

I cannot key out of ignition and it is between on and accessory I got motor off but car stays on accessories. Battery ran down overnight, am recharging but still cannot move key.
Sunday, July 13th, 2008 AT 2:03 PM

1 Reply

Tiny
KEN L
  • MASTER CERTIFIED MECHANIC
  • 55,488 POSTS
Hello,

It sounds like you have one of two problems either the ignition key and tumbler is worn out or the shift interlock is having a problem.

Also if the battery had a short circuit not powering he interlock system for the car. Please load test the battery by checking out this guide,

https://www.2carpros.com/articles/car-battery-load-test

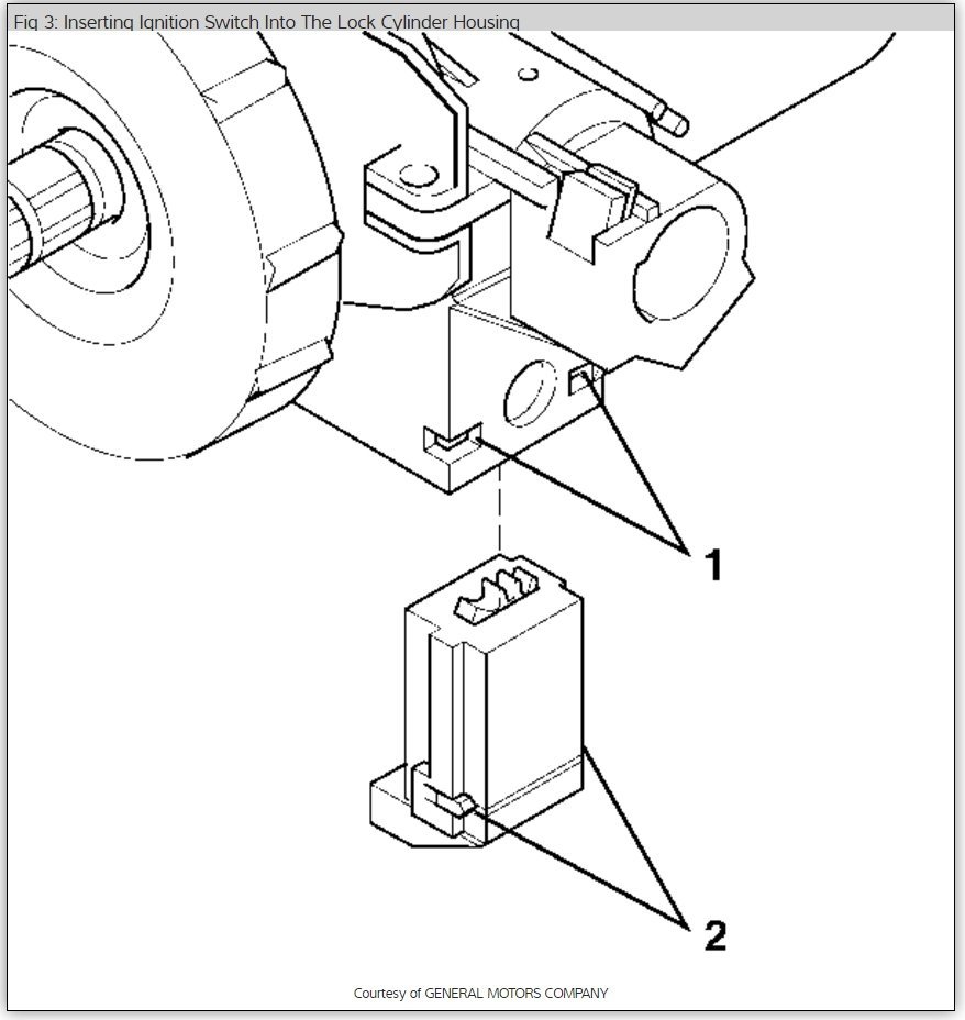
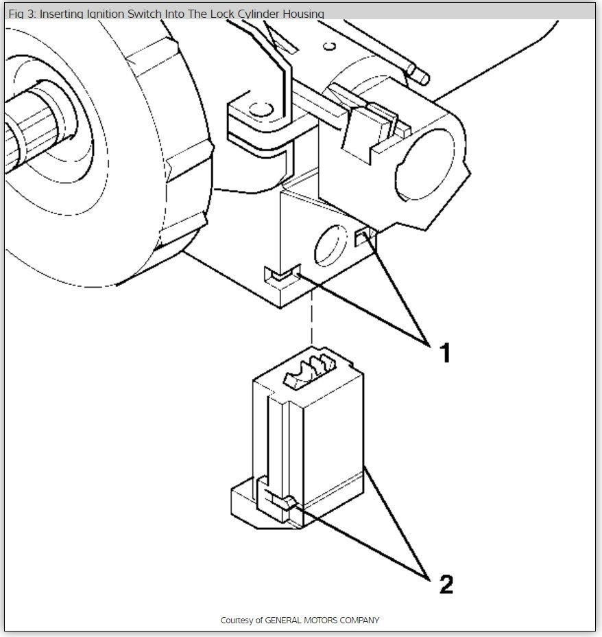
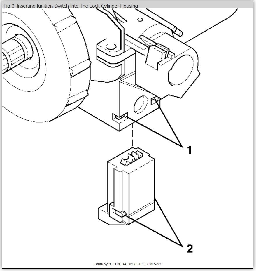
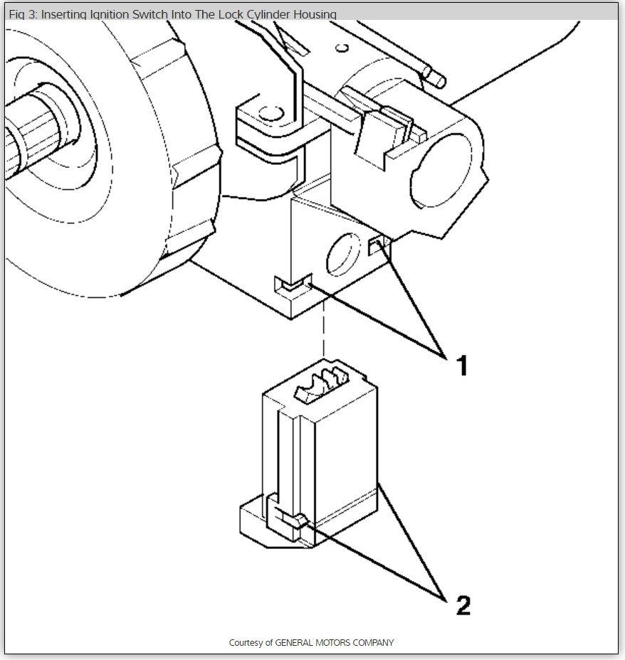
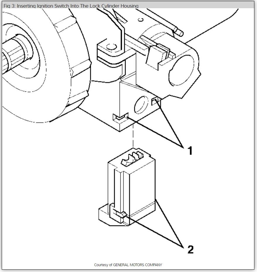
If the battery is okay it sounds like the key tumbler is broken not allowing the lock to fully close. Here are some diagrams so you can take it apart to inspect and confirm the failure. A new key will need to be programmed by a shop or the dealer.

Please let us know happens so it will help others.

Best, Ken
Was this
answer
helpful?
Yes
No
-2
Tuesday, December 13th, 2016 AT 11:35 PM

Please login or register to post a reply.