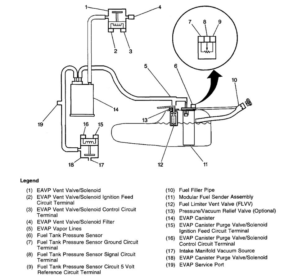
Monday, April 18th, 2022 AT 6:41 AM
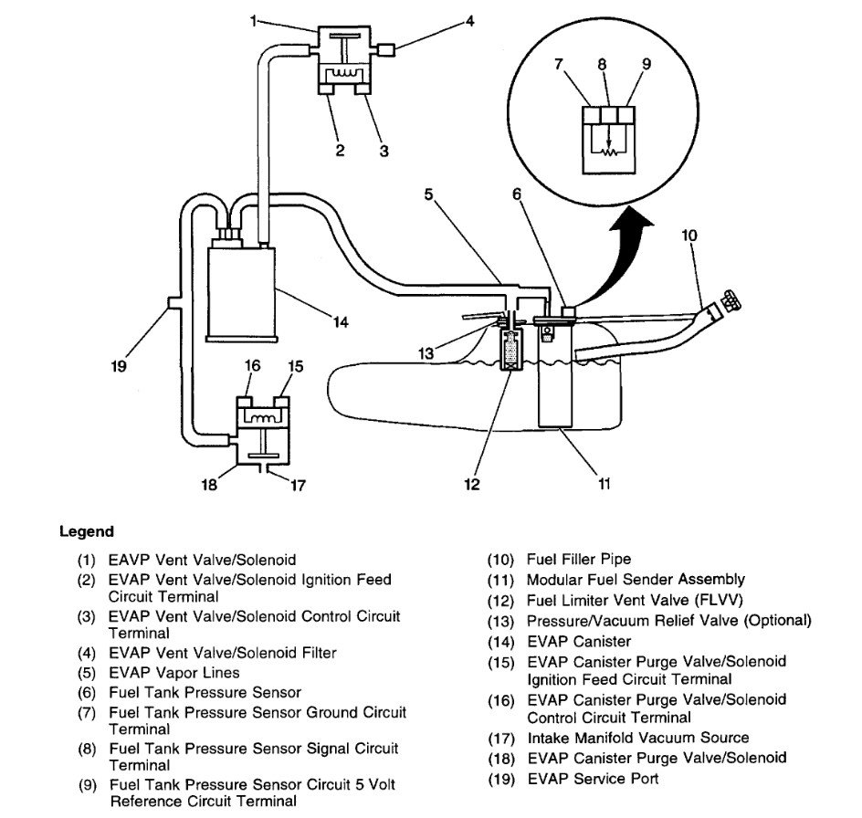
I have a friend who recently got a tune up, she pointed out a broken hose on the manifold right to the left of the vacuum hose. Her van is shaking badly, and we wanted to know what the name of the hose is, and if it could affect the van in any way.



