When car is in motion and I try to stop my brakes go straight to the floor

Tiny
ABBY
  • MEMBER
  • 2009 FORD FOCUS
  • 100,000 MILES
When my car is still the brakes work fine there is resistance and everything, but when car is in motion and I try to stop my brakes go straight to the floor with zero resistance and I have to use emergency brakes to stop. Changed padding and cleaned the line and breaks still act this way.
Tuesday, October 9th, 2018 AT 8:52 PM

26 Replies

Tiny
JACOBANDNICKOLAS
  • MECHANIC
  • 110,194 POSTS
Hi and thanks for using 2CarPros.com.

There are only a few things which can cause the brake pedal to go to the floor. What I need you to do is review this link. It discusses different reasons. Once you do that, let me know which one best matches your symptoms. For example, when you are moving, can the brake pedal be pumped up to some degree? When the pedal goes to the floor, is there any stopping assistance?

I would suspect there is air in the lines. These guides can help you fix it.

https://youtu.be/w7gUsj2us0U

and

https://youtu.be/WDxvEQrMkBg

and

https://www.2carpros.com/articles/brake-pedal-goes-to-the-floor

Please run down these guides and report back.

Let me know. I will watch for your reply.

Take care,
Joe
Was this
answer
helpful?
Yes
No
Wednesday, October 10th, 2018 AT 6:23 PM
Tiny
JEFFCLANDERS
  • MEMBER
  • 1 POST
  • 2007 FORD FOCUS
  • 2.0L
  • 4 CYL
  • FWD
  • AUTOMATIC
  • 165,000 MILES
In order to save myself some money, which is now debateable, I changed the rear brake drums on my car. The reason for the change was that while driving one day recently, the rear of the car started to sway as if fishtailing. When taking of the left rear wheel and drum, it was clear that the bearings were shot. In addition, the race and other components of the bearings had melted to the spindle. In an effort to fix my car, I decided to replace both rear drums as well as spindles. This included replacing the brake shoes as well.
Removing all of the items in questions was fairly straight forward. Putting them back together was a different story. The spindles both went on with ease. I also replaced the ABS line going into each spindle on the back as well. This was easy as well.
The brake shoes were not bad in getting them on but took a little longer. I looked at several diagrams and pictures I took from before I removed them for guidance.
The issue arises when I tried to put the new drum over the new spindle. Most resources stated that these should slide right on. This was not the case. I triple checked that the parts I bought were the correct ones, and it appears they are. That being said, it took a rubber mallet, and basically the same amount of energy it took to get the old ones off, to get the new ones on.
The new brake shoes were always in the way. On both sides it took several attempts, of putting on and pulling off the new drums until I got what I thought was right. In the first attempts, the wheel would not even move when I got the drum all the way on. I had to use a hammer to get them off again, and actually had to purchase a new drum again because I do not have a press and purchased drums with wheel bearings included. These were damaged when pulling off the new drum, probably pulling it off crooked.
At any rate, none of the articles I used mentioned an adjuster, which I did nothing with.
When I trusted the car out for the first trial run, the rear left wheel turned somewhat while on the jack, but not nearly the one and a half turn that some resources suggested it should do. The rear right side was fine. After driving, there was a significant smell and smoke/steam coming from rear left tire. I pulled the tire and drum off again, this time by removing the spindle. Once the drum and spindle were off, the drum spun fine, so I am guessing the brake shoes are the culprit.
When I pulled all of it off on this last time, the brake drum backing plate came off as well. I tried to find another one, but could not. I put everything back together using the spindle to hold the rear backing plate on this time. I also had to replace this left rear brake line, the steel part since it broke.
The last caveat to all of this is that in order to get both rear drum s on, it required disconnecting the emergency brake. It was too tight and essentially pulling the new brake shoes. I have not reconnected the emergency brake.
As far a driving now goes, there is minimal smell from before, but it is there, and the brake pedals require pumping in order to get the brakes to work. The first push is all the way to the floor and subsequent brake pedal pushes add the necessary resistance to stop.

I know there is a lot here, but if you can decipher all I have done, that is great. There are several questions I have however related to all of this:
1) Is it okay to attach the old brake drum backing plate using the spindle?
2) How do I use the adjustor to adjust the brake shoes? (I had a hard time getting the shoes to align on the wheel cylinder)
3) how do I tell if the new bearings I put on are bad? (The smell, visually, etc.)
Was this
answer
helpful?
Yes
No
Monday, March 15th, 2021 AT 7:26 PM (Merged)
Tiny
HMAC300
  • MECHANIC
  • 48,601 POSTS
More than likely you probably forgot or did not know to back off the adjusters on both sides and brake shoes were to large for the drums you also when disconnecting brake lines you need to rebleed the system. The best thing for you to do now is to take to a mechanic so he can open all the valves on the ABS unit and bleed and adjust the brakes that you have installed that should take care of it. See picture.
Was this
answer
helpful?
Yes
No
Monday, March 15th, 2021 AT 7:26 PM (Merged)
Tiny
JOHNNY G.JR
  • MECHANIC
  • 320 POSTS
You replaced a brake line, there is air in system, needs to be bleed The adjusters are normally accessed through the inside of backing plate, a small slot that the brake spoon fits into, They are usually adjusted so drum slightly drags with wheel installed, Where new bearings repacked and installed properly with castellated nut and cotter pin, wrench torqued, then backed off to hand tight, cotter pin installed.
Was this
answer
helpful?
Yes
No
+1
Monday, March 15th, 2021 AT 7:26 PM (Merged)
Tiny
JOHNNY G.JR
  • MECHANIC
  • 320 POSTS
ABS system needs to be taken to a shop to address possible bleeding issues. I believe a code scanner is involved. Good luck, On this forum there are over 1,000 threads on drum brake issues.
Was this
answer
helpful?
Yes
No
Monday, March 15th, 2021 AT 7:26 PM (Merged)
Tiny
KEN L
  • MASTER CERTIFIED MECHANIC
  • 55,481 POSTS
Hey JEFFCLANDERS,

Yep it sounds like you got the rear brake show adjustment off, here is a guide to show you how to do the job.

https://www.2carpros.com/articles/how-to-replace-rear-brake-shoes-and-drums

Please let us know happens so it will help others.

Best, Ken
Was this
answer
helpful?
Yes
No
Monday, March 15th, 2021 AT 7:26 PM (Merged)
Tiny
DAWNMS
  • MEMBER
  • 1 POST
  • 2004 FORD FOCUS
Why doesn't my brake pedal have any pressure after just changing the brakes?
Was this
answer
helpful?
Yes
No
Monday, March 15th, 2021 AT 7:26 PM (Merged)
Tiny
SCHRIMPIEMAN
  • MECHANIC
  • 166 POSTS
You need to pump the brakes to seat the caliper pistons back to their normal running positions.

If pumping the brakes doesn't do any good, either the caliper pistons were forced back with too much pressure causing damage to the master cylinder, or there's air in the system.

But getting air in the system is impossible unless the bleeder valves were opened during the brake job.
Was this
answer
helpful?
Yes
No
Monday, March 15th, 2021 AT 7:26 PM (Merged)
Tiny
JAMES PROUDDADDY IRWIN
  • MEMBER
  • 2 POSTS
  • 2002 FORD FOCUS
  • 1.6L
  • FWD
  • MANUAL
  • 120,000 MILES
I was driving my car went to apply my brake when I noticed the brake pedal go all the way to the floor before it started slowing down. I went to a friend and we checked the pads and disc they are fine as with the fluid. We lifted the car and found that the front passenger caliper was not applying any pressure, so we changed the caliper to no joy. Could it be the brake master cylinder? I do have pressure going to the other three brakes.
Was this
answer
helpful?
Yes
No
Monday, March 15th, 2021 AT 7:28 PM (Merged)
Tiny
HMAC300
  • MECHANIC
  • 48,601 POSTS
If you have pressure to other brakes it is not master. check for a bad hose that goes to caliper or it is an ABS problem. if brake light is on have a mechanic scan for codes for an ABS problem. I would suspect there is air in the lines. These guides can help you fix it.

https://youtu.be/w7gUsj2us0U

and

https://youtu.be/WDxvEQrMkBg

and

https://www.2carpros.com/articles/brake-pedal-goes-to-the-floor

Please run down these guides and report back.
Was this
answer
helpful?
Yes
No
Monday, March 15th, 2021 AT 7:28 PM (Merged)
Tiny
JAMES PROUDDADDY IRWIN
  • MEMBER
  • 2 POSTS
There is no ABS light on.
Was this
answer
helpful?
Yes
No
Monday, March 15th, 2021 AT 7:28 PM (Merged)
Tiny
HMAC300
  • MECHANIC
  • 48,601 POSTS
Could be air as well especially if brakes have been worked on and not bled correctly, which in that case a mechanic would have to use his scanner to command all ABS valves open to bleed it.
Was this
answer
helpful?
Yes
No
Monday, March 15th, 2021 AT 7:28 PM (Merged)
Tiny
TOMMY23
  • MEMBER
  • 1 POST
  • 2002 FORD FOCUS
  • 2.0L
  • 4 CYL
  • 2WD
  • AUTOMATIC
  • 150,000 MILES
Brake pedal goes all the way to the floor.
Was this
answer
helpful?
Yes
No
Monday, March 15th, 2021 AT 7:28 PM (Merged)
Tiny
JACOBANDNICKOLAS
  • MECHANIC
  • 110,194 POSTS
Hi and thanks for using 2CarPros.

Most often when the brake pedal goes to the floor, it is one of two problems. First, check the brake fluid level. If it is empty, refill it and apply the brakes. Check for leaks due to a bad brake component, rusted steel brake hose, or a blown rubber brake hose at the caliper.

If the master cylinder has fluid and isn't low, suspect a bad master cylinder. What happens is the plungers in the MC allow fluid to bypass them. The result is the pedal goes to the floor. Take a look through this link:

https://www.2carpros.com/articles/brake-pedal-goes-to-the-floor

Now, if there are no leaks and you need to replace the brake master cylinder, here is a link that shows in general how it is done:

https://www.2carpros.com/articles/how-to-replace-a-brake-master-cylinder

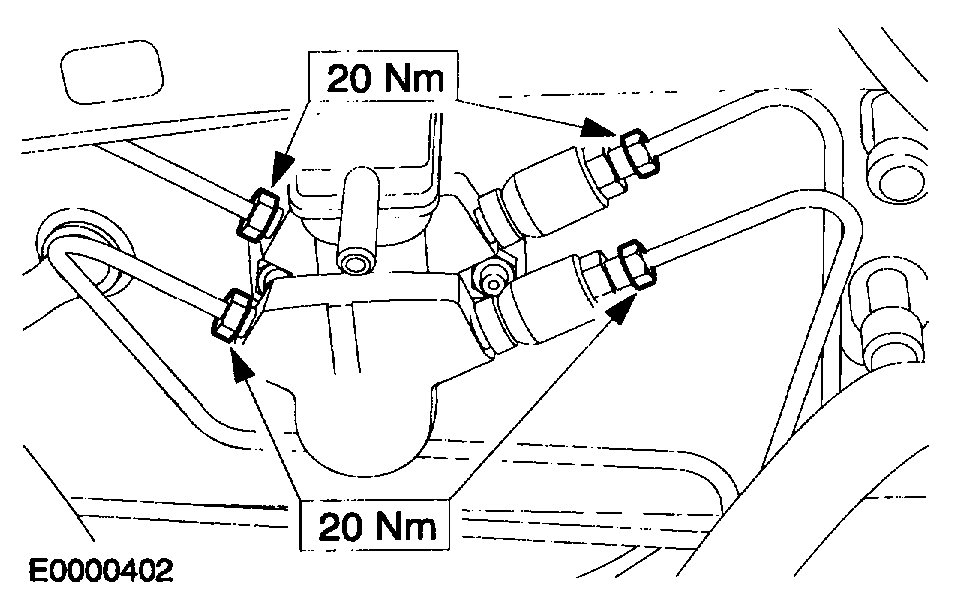
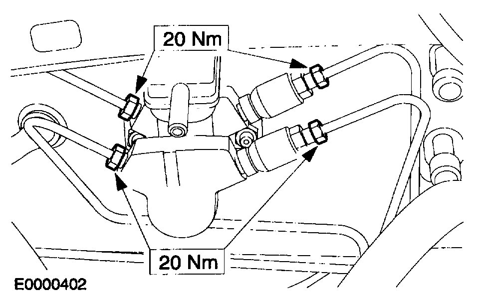
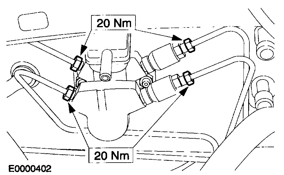
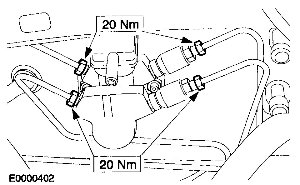
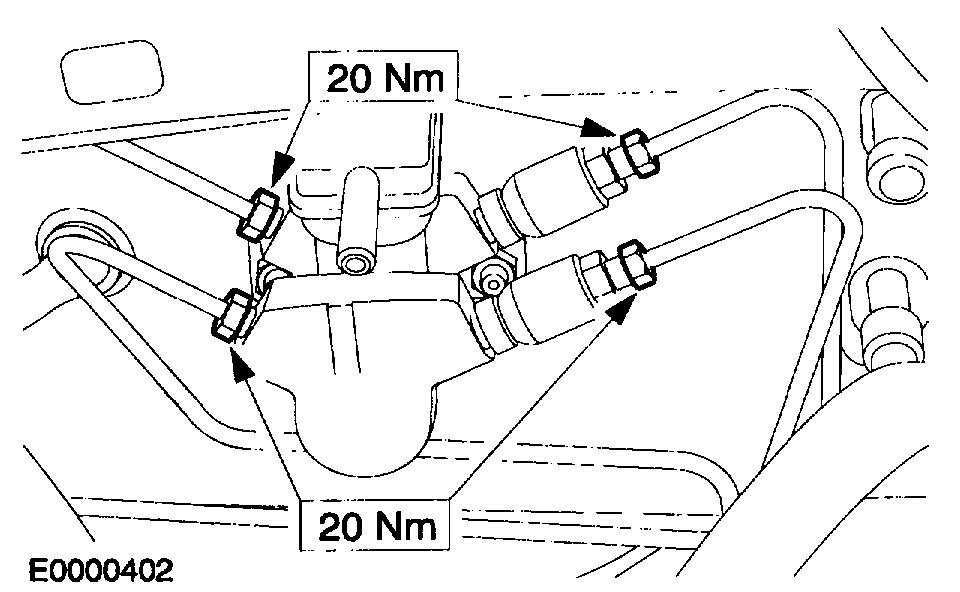
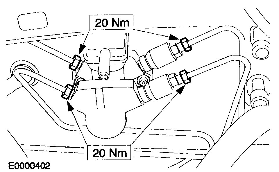
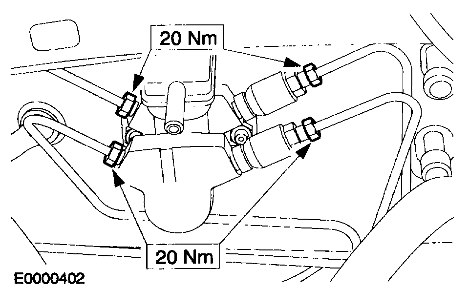
Here are the directions specific to your vehicle for replacement. The attached pictures correlate with these directions.

Brake Master Cylinder

Removal

All Vehicles

1. CAUTION: If brake fluid is spilt on the paintwork, the affected area must be immediately washed down with cold water.

Disconnect the battery ground cable.

Picture 1
2. Disconnect the electrical connector from the filler cap.
1 Pull back the tab.
2 Depress the clips.
3 Disconnect the electrical connector.

Picture 2

3. CAUTION: Make sure the filler cap does not become contaminated.

Remove the brake fluid reservoir filler cap.
4. Loosen the wheel nuts of both front wheels.
5. Raise and support the vehicle.
6. Remove the front wheels.

Picture 3

7. Loosen the bleed nipple.
1 Remove the dust cap.
2 Loosen the bleed nipple.

Picture 4

8. NOTE: Carry out this process on both the front brake lines.

Drain the brake fluid reservoir.
1 Connect a bleed tube to the bleed nipple and into a suitable container.
2 Pump the brake pedal until no more fluid is expelled.
3 Tighten the bleed nipple.
9. Lower the vehicle.
10. Install the brake fluid reservoir cap.
11. Remove the air cleaner.
12. Remove the air cleaner outlet tube.

Picture 5
13. Disconnect the central electrical box electrical connector.

Picture 6

14. Remove the central electrical box retaining screw.

Picture 7

15. Detach the central electrical box.
Relocate to the air cleaner position.

Picture 8

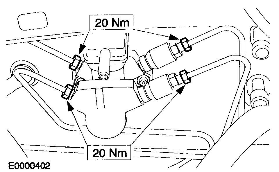
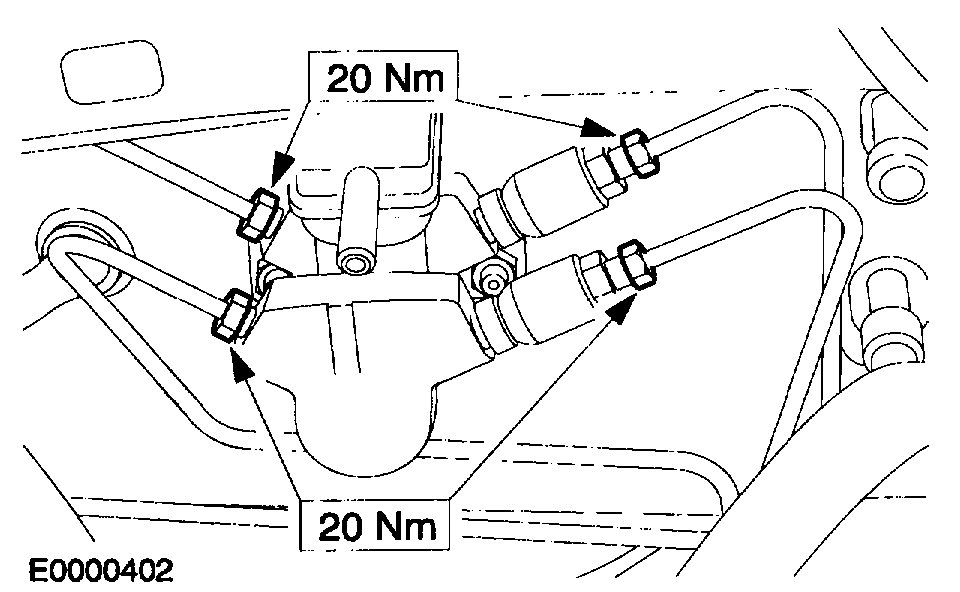
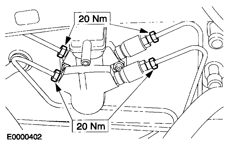
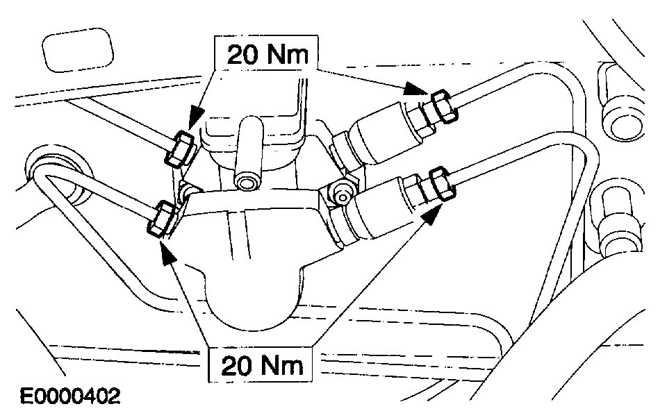
16. Disconnect the brake fluid feed tube.

Picture 9

17. CAUTION: Cap the brake tube connections to prevent fluid loss or dirt contamination.

Disconnect the brake tubes.

Picture 10

Vehicles with anti-lock brakes

18. CAUTION: Cap the brake tube connection to prevent fluid loss or dirt contamination.

Disconnect the brake tubes.

Picture 11

All Vehicles

19. CAUTION: Before removing the master cylinder make sure that the booster vacuum is exhausted. This may be done by removing the vacuum pipe from the brake booster.

Remove the brake booster vacuum hose.

Picture 12

20. Remove the master cylinder.

Installation

Picture 13

Picture 14

All Vehicles

1. CAUTION: Before installing the master cylinder make sure that the vacuum seal is in place and that the mating faces are clean.

NOTE: After installation, bleed the brake system.

To install, reverse the removal procedure.

Picture 15

Vehicles with anti-lock brakes

Picture 16

All Vehicles

________________________________

If you find a brake caliper, wheel cylinder, rubber hose or any of the components leaking, let me know what you find and I will help you get it fixed.

I hope this helps.

Take care,
Joe
Was this
answer
helpful?
Yes
No
Monday, March 15th, 2021 AT 7:28 PM (Merged)
Tiny
STORTORS
  • MEMBER
  • 2 POSTS
  • 2001 FORD FOCUS
  • 4 CYL
  • 2WD
  • MANUAL
  • 93,000 MILES
I know the brakes need to be done (rotars need replacing and was planning on doing this in a week or so) but today I went to brake and there was no pressure on the pedal and I came to a very slow skidding stop (thankful I didnt collide with the vehicle in front) - what's suddenly gone wrong?
Was this
answer
helpful?
Yes
No
Monday, March 15th, 2021 AT 7:28 PM (Merged)
Tiny
DOCFIXIT
  • MECHANIC
  • 18,828 POSTS
Check to see if there is any brake fluid at the wheels and the master cyl level. If all O.K. Then you have an internal failure in the master cyl. Replace
Was this
answer
helpful?
Yes
No
+1
Monday, March 15th, 2021 AT 7:28 PM (Merged)
Tiny
STORTORS
  • MEMBER
  • 2 POSTS
Yep, fluid on the inside of the rim on driver's side. Thanks for the prompt response.
Was this
answer
helpful?
Yes
No
+1
Monday, March 15th, 2021 AT 7:28 PM (Merged)
Tiny
DOCFIXIT
  • MECHANIC
  • 18,828 POSTS
Guess your brakes decided they did not want to wait.
Glad to here you where not involved in a bender.
Good luck on your repair
Was this
answer
helpful?
Yes
No
Monday, March 15th, 2021 AT 7:28 PM (Merged)
Tiny
MAGGIECAIT
  • MEMBER
  • 1 POST
  • 2001 FORD FOCUS
  • AUTOMATIC
  • 130,000 MILES
My car was working fine and then the other day I turned it on and all of a sudden I had to push the brakes down much longer to get it to stop. When I checked the brake fluid, it was about empty. I put more in, but the brakes didn't work any better. I've still been using my car (I am a college student with no money) and the fluid hasn't gone down again so I'm pretty sure it's not a leak. I tried bleeding the brakes on my own but was only able to get one. As far as I can tell, there's no other symptoms like noises or anything, it just takes much longer to stop and the reservoir was empty when I looked. I don't want to take it to a mechanic and have them tell me I need all new everything if it's not that serious (I simply can't afford it). Plus, I need to drive about five hours in two days. What do I need to do?
Was this
answer
helpful?
Yes
No
Monday, March 15th, 2021 AT 7:28 PM (Merged)
Tiny
CARADIODOC
  • MECHANIC
  • 34,489 POSTS
Low brake fluid level can be caused by worn front brake pads, although you would have pumped air down just a little way. By working the brake pedal, eventually that air would have worked its way back out. Bleeding is only going to force that air down further where it can be difficult to remove.

Another possible cause is an external leak. The red "Brake" warning light should have turned on, either due to low fluid level, or unequal pressures in the two hydraulic systems. A pad could have rusted off its backing plate. That can happen to a rear shoe too. Either one will cause a sudden low pedal.

The safest approach is to have the brake system inspected. There are some mass merchandisers that do that for free.
Was this
answer
helpful?
Yes
No
Monday, March 15th, 2021 AT 7:28 PM (Merged)

Please login or register to post a reply.