Brakes fall to the floor

Tiny
KALE CASANOVA
  • MEMBER
  • 2000 FORD F-150
  • 4.2L
  • V6
  • 2WD
  • AUTOMATIC
  • 170,000 MILES
I replaced the 2 front calipers, brake pads, brake lines, and bearings. After that I bled my brakes in the right sequence. My brake light and ABS light turned off but with the truck on when applying brakes they go straight to the floor. How do I know if it's my master cylinder or my brake booster that went out? Or if it even could be that?
Wednesday, December 11th, 2019 AT 2:14 PM

1 Reply

Tiny
JACOBANDNICKOLAS
  • MECHANIC
  • 110,192 POSTS
Hi,

If the brake fluid isn't leaking and remains full, chances are it is the master cylinder. What I have found is this. When the brake pedal exceeds its normal travel and it is older, corrosion builds up and the plungers are damaged. As a result, the pedal will go to the floor.

Try this. with the engine off, can you pump up the brakes? If so, pump them up and hold steady pressure on the pedal. Does it slowly go to the floor? If so, replace the MC.

Keep in mind, once you start the vehicle, you get a lot of assist, so it can go to the floor with much less pressure. Additionally, based on everything you described, the booster really isn't a suspect at this point.

Take a look through this link and see if it mirrors what you experience.

https://www.2carpros.com/articles/brake-pedal-goes-to-the-floor

If it does, here is a link that shows in general how to replace the master cylinder:

https://www.2carpros.com/articles/how-to-replace-a-brake-master-cylinder

Also, I will assume that all air was out of the system and there are no leaks.

Here are directions specific to your vehicle for master cylinder replacement. The attached pics correlate with the directions.

_______________________________________________

2000 Ford Truck F 150 2WD Pickup V6-4.2L VIN 2
Removal and Installation
Vehicle Brakes and Traction Control Hydraulic System Brake Master Cylinder Service and Repair Procedures Removal and Installation
REMOVAL AND INSTALLATION
Removal

WARNING: Use of any other than approved DOT 3 brake fluid will cause permanent damage to brake components and will render the brakes inoperative.

WARNING: Brake fluid contains polyglycol ethers and polyglycols. Avoid contact with eyes. Wash hands thoroughly after handling. If brake fluid contacts eyes, flush eyes with running water for 15 minutes. Get medical attention if irritation persists. If taken internally, drink water and induce vomiting. Get medical attention immediately.

CAUTION: Brake fluid is harmful to painted or plastic surfaces. If brake fluid is spilled onto a painted or plastic surface, immediately wash it with water.

pic 1

1. Disconnect the brake fluid level warning switch.

pic 2

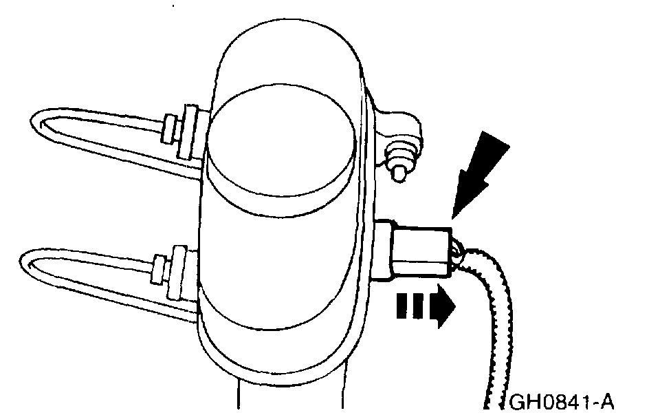
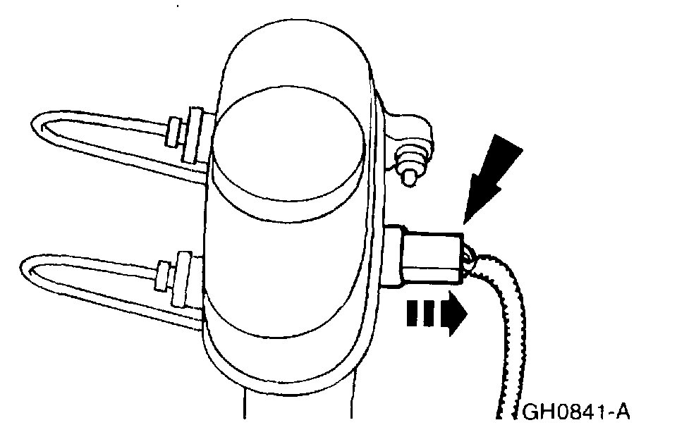
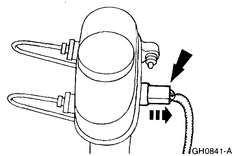
2. If equipped with speed control, disconnect the brake pressure switch electrical connector.

pic 3

3. Disconnect the two brake lines and plug the lines and the brake master cylinder ports.
4. On vehicles equipped with the rear anti-lock brake system (RABS), remove the RABS valve.

pic 4

5. Remove the brake master cylinder.
1. Remove the two brake master cylinder nuts.
2. Remove the brake master cylinder.

Installation

pic 5

1. To install, reverse the removal procedure.
Bleed the brake system.

___________________________________________________________

If there are no leaks and you did bleed the system, the MC is my first suspect.

Let me know if this helps or if you have other questions

Take care,
Joe
Was this
answer
helpful?
Yes
No
Wednesday, March 10th, 2021 AT 11:13 AM

Please login or register to post a reply.