Bleed the brakes several times and the brake pedal now goes to the floor

Tiny
TONYA LYNN WHALEY MILLER
  • MEMBER
  • 1999 FORD F-150
  • 4.6L
  • V8
  • 2WD
  • AUTOMATIC
  • 300,000 MILES
The problem that started this was the front brake calipers were not releasing properly. So we changed them, along with the master cylinder and power booster. We have bleed the brakes several times and the brake pedal now goes to the floor, please help? Could this be caused by the ABS pump not working?
Sunday, January 26th, 2020 AT 7:29 PM

1 Reply

Tiny
JACOBANDNICKOLAS
  • MECHANIC
  • 110,192 POSTS
Hi,

If the pedal is going to the floor, the ABS pump isn't the problem. Either you have a leak, air in the system, or once again a bad master cylinder. Take a look at this link:

https://www.2carpros.com/articles/brake-pedal-goes-to-the-floor

The only other thing I can think of would be if you didn't adjust the push rod between the master cylinder and booster. Here are directions for adjustment. Let me know if you did this. Also, the attached pic correlates with the directions.

_____________________________________

1999 Ford Truck F 150 2WD Pickup V8-4.6L SOHC VIN 6
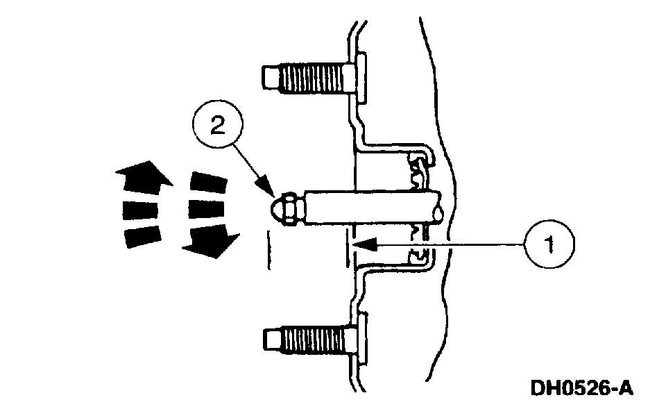
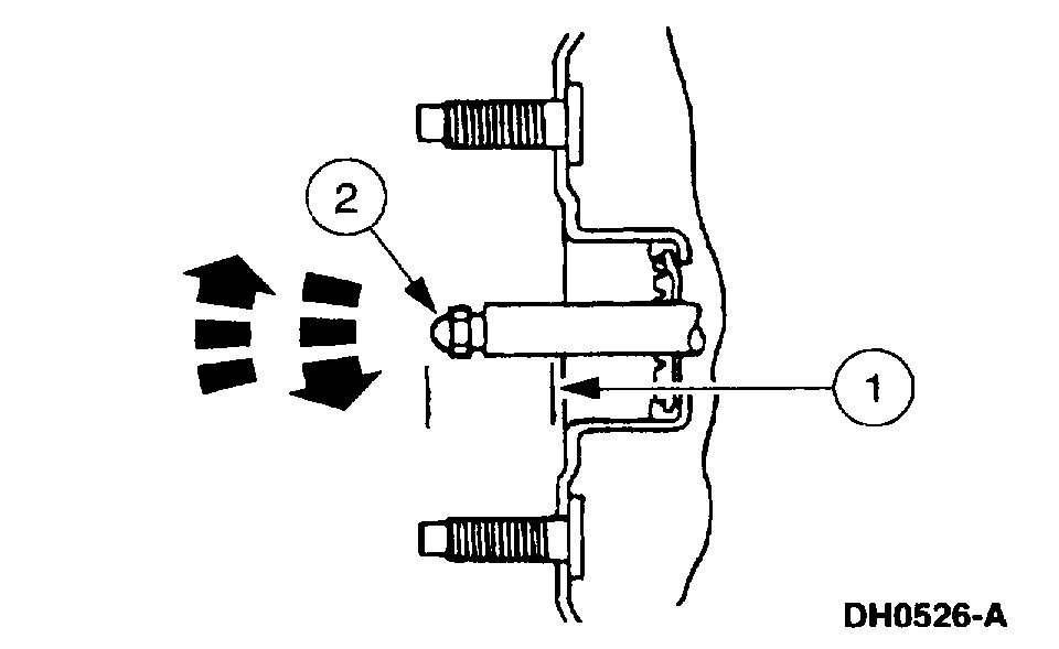
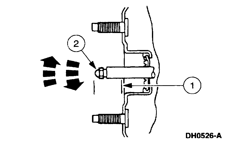
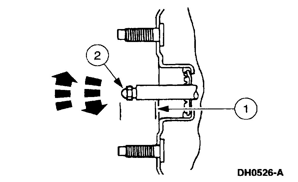
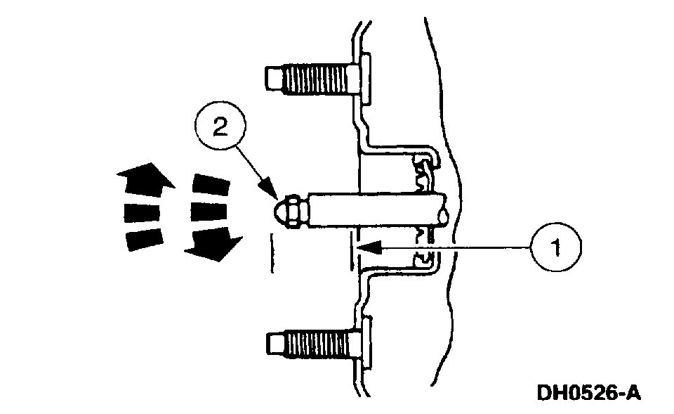
Master Cylinder Push Rod
Vehicle Brakes and Traction Control Hydraulic System Brake Master Cylinder Adjustments Master Cylinder Push Rod
MASTER CYLINDER PUSH ROD
1. Remove the brake master cylinder.

pic 1

2. CAUTION: Do not apply the brake pedal with the master cylinder removed from the booster.

Adjust the power brake booster to brake master cylinder push rod, vacuum applied.
1 Measure the power brake booster to brake master cylinder push rod.
2 If necessary, adjust the screw to the proper length.

3. Install the brake master cylinder.

_______________________

Let me know.

Joe
Was this
answer
helpful?
Yes
No
Wednesday, March 10th, 2021 AT 11:16 AM

Please login or register to post a reply.