Transmission does not shift into drive

Tiny
CGEIS48
  • MEMBER
  • 2002 HONDA ELEMENT
  • 4 CYL
  • 2WD
  • AUTOMATIC
  • 164,000 MILES
I cannot shift the transmission into drive. To do that I have to use a straight edge inserted into the lock release to allow the vehicle to shift away from the park mode.
Sunday, September 9th, 2018 AT 4:22 PM

5 Replies

Tiny
AL514
  • MECHANIC
  • 5,584 POSTS
Hello, Thanks for using 2CarPros. Com. The brake switch controls a solenoid that releases the shift lever from park. You can do a visual inspection of the switch, it is located on the brake pedal itself. These switches are subject to dirt and damage due to their location, being on the brake pedal. So it can be the switch, the wiring to the solenoid, or the solenoid itself. The brake pedal sends a signal to the ECM, then the ECM grounds the solenoid to allow the shifter to move. We can help you test the pedal switch if you suspect it is bad.
Was this
answer
helpful?
Yes
No
+1
Monday, September 10th, 2018 AT 2:22 PM
Tiny
CGEIS48
  • MEMBER
  • 3 POSTS
We replaced the brake switch yesterday. I am thinking it could be the solenoid. Can you help me locate it, please?
Was this
answer
helpful?
Yes
No
Monday, September 10th, 2018 AT 3:20 PM
Tiny
JACOBANDNICKOLAS
  • MECHANIC
  • 110,192 POSTS
Hi and welcome back. I need you to check fuse 10 in the fuse box (under dash). Power to the brake light switch is always hot via fuse 7. However, power to the solenoid is supplied via fuse 10. The last picture I attached is the under dash fuse box. It indicates what each fuse is used for.

As far as the solenoid, picture 1 shows its location. The remaining pictures correlate with the following (Test and Replacement) directions.
___________________________________________
Shift Lock Solenoid Test/Replacement
1. Remove the center lower cover.
2. Remove the shift lever console trim.
3. Shift the shift lever into the R position.
4. Remove the shift cable insulator (A) from the shift cable (B).
5. Slide the lock tab (A) down on the shift cable end holder (B).
6. Grasp the shift cable lock (C) in the middle with angle-jaw needle-nose pliers (D), and remove it from the shift cable end and shift cable end holder. Do not pry the shift cable lock with a screwdriver, it may damage the shift cable end holder.
7. Separate the shift cable end (A) from the shift cable end holder (B).
8. Rotate the socket holder (A) on the shift cable (B) a quarter turn; the tab (C) on the socket holder will be in the opening (D) of the shift cable bracket (E). Then slide the holder to remove the shift cable from the shift cable bracket. Do not remove the shift cable by twisting the shift cable guide (F) and damper (G).
9. Remove the shift lever mounting bolts.
10. Remove the shift lever mounting bolt (A), and remove the shift cable bracket (B).
11. Remove the O/D switch/shift lock solenoid connector (C), then disconnect the connector.
12. Connect the battery positive terminal to O/D switch/ shift lock solenoid connector terminal No. 3, and connect the battery negative terminal to connector terminal No. 4. Do not connect the battery positive terminal to the terminal No. 4 or you will damage the diode inside the solenoid.
13. Check that the shift lever can be moved from the P position. Release the battery terminals, move the shift lever back to the P, and make sure it locks.
14. If the shift lock solenoid works properly, connect the connector, and install the removed parts. If the shift lock solenoid is faulty, go to step 15, and replace the shift lock solenoid.
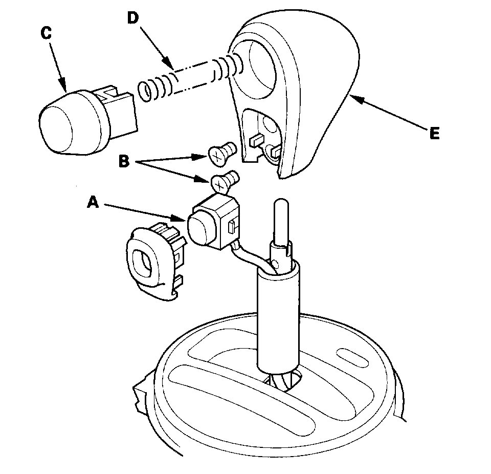
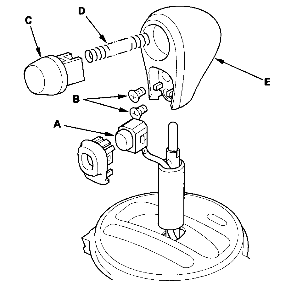
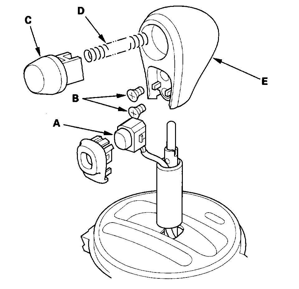
15. Remove the shift lever assembly.
16. Pry the O/D switch cover (A), and remove it.
17. Remove the O/D switch (A) by expanding its locks, and remove the screws (B), shift lever button (C), spring (D), and shift lever knob (E).
18. Remove the A/T gear position indicator panel light socket (A), then separate the A/T gear position indicator panel (B) from the shift lever bracket (C).
19. Pry the lock tabs on the back of the O/D switch/shift lock solenoid connector (A), and remove the back cover (B).
20. Remove the terminal (C) from the connector by pushing the lock tab (D) up in the connector using a thin blade screwdriver (E). Remove all four terminals.
21. Remove the shift lock solenoid harness clamp from the shift lever bracket, and remove the shift lock solenoid.
22. Replace the shift lock solenoid.
23. Install the new shift lock solenoid (A) on the shift lever/bracket assembly (B) with aligning the shift lock solenoid plunger (C) with the tip of the shift lock stop (D).
24. Install the harness clamp (E) on the shift lock solenoid harness (F) at 128 - 138 mm (5.0 - 5.4 inch) (G) from the harness terminal end.
25. Install the clamp in the hole (H) of the shift lever bracket.
26. Apply silicone grease to the shift lever button (A) and push rod (B) of the shift lever (C), and install the spring (D), shift lever button, and shift lever knob (E). Install the screws (F) to secure the shift lever knob to the shift lever.
27. Install the O/D switch (G) and the O/D switch cover (H), and install the A/T gear position indicator panel (I) on the shift lever bracket.
28. Install the A/T gear position indicator panel light socket.
29. Install BLU/RED harness terminal (A) of the shift lock solenoid in the No. 3 cavity, and BLK harness terminal (B) in the No. 4 cavity.
30. Install the O/D switch harness terminals (C) in the No. 1 and No. 2 cavities. Either O/D switch harness terminal can be installed in No. 1 and No. 2 cavities.
31. Make sure that the all four terminals lock securely, then install the back cover (D) securely in place.
32. Install the shift lever assembly.
________________________________________

I hope this is helpful. Let me know if you have other questions.

Take care,
Joe
Was this
answer
helpful?
Yes
No
+2
Friday, September 14th, 2018 AT 7:35 PM
Tiny
CGEIS48
  • MEMBER
  • 3 POSTS
Thank you!
Was this
answer
helpful?
Yes
No
Friday, September 14th, 2018 AT 7:40 PM
Tiny
STEVE W.
  • MECHANIC
  • 15,676 POSTS
Double check that your brake lights come on when you step on the pedal. A common failure is the small plastic insert that goes into a tab on the brake pedal that actually presses the switch. If you have brake lights the switch is not the issue. Get your head close to the shifter with the key on and gently push the brake pedal, you should hear a clunk as the solenoid releases the shifter. If no clunk it is likely that the solenoid has failed. The solenoid is not a fun thing to replace, it is not really hard but requires dismantling the shifter assembly.
It is a lot easier and faster to just remove the "failed" shifter assembly and bolt in a complete one that works. That way you do not need to remove wiring pins and connectors to replace the solenoid.
Was this
answer
helpful?
Yes
No
+1
Friday, September 14th, 2018 AT 8:06 PM

Please login or register to post a reply.