Monday, August 13th, 2018 AT 4:18 PM
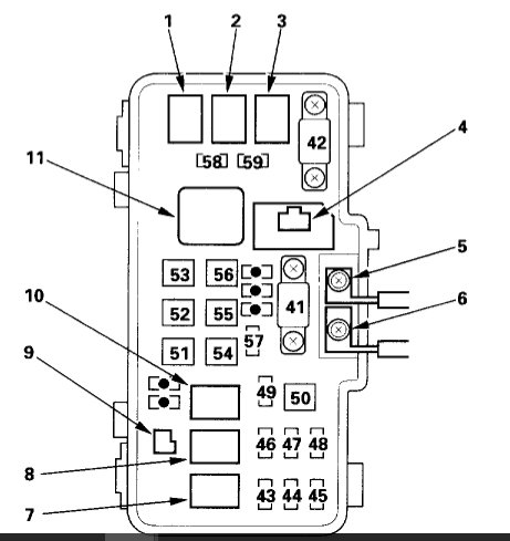
When replacing I touched the two wires to blower and saw sparks. Dumb me did not unhook battery. Finished replacing blower motor and pigtail now still does not work. No blown fuses and relay clicks. Spliced the wires with wire nuts and electric tape I am stumped do not have meter to test. Everything worked fine then one day nothing. Did my research saw the melts pigtail to blower and replaced both pigtail and blower motor now nothing. I replaced fuses and pigtail and blower motor and still nothing











