Bleeding brakes

Tiny
MIKEY41
  • MEMBER
  • 2003 HYUNDAI SANTA FE
  • 2.7L
  • 4WD
  • AUTOMATIC
  • 145,000 MILES
What order do I bleed my brakes in my car listed above?
Saturday, August 10th, 2019 AT 8:44 PM

1 Reply

Tiny
JACOBANDNICKOLAS
  • MECHANIC
  • 110,192 POSTS
Welcome to 2CarPros.

Here is a video and guide below to help you bleed the brake system correctly.

https://youtu.be/w7gUsj2us0U

and

https://www.2carpros.com/articles/how-to-bleed-or-flush-a-car-brake-system

and

https://youtu.be/WDxvEQrMkBg

Please run down these guides and report back.

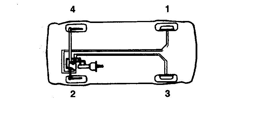
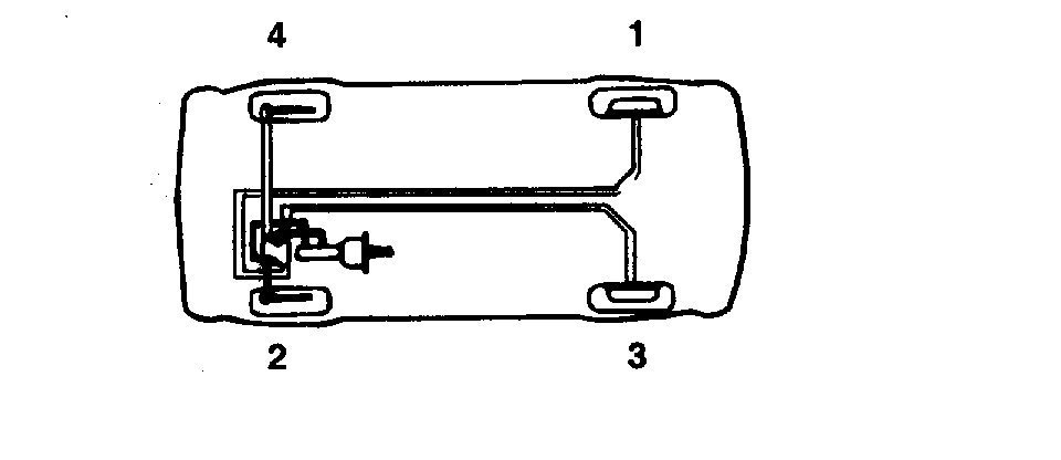
Here are the directions specific to your vehicle. The last picture indicates the sequence.

2003 Hyundai Truck Santa Fe V6-2.7L
Brake System
Vehicle Brakes and Traction Control Hydraulic System Brake Bleeding Service and Repair
BLEEDING THE BRAKE SYSTEM

pic 1

1. Remove the reservoir cap and fill the brake reservoir with brake fluid.

CAUTION: Do not allow brake fluid to remain on a painted surface. Wash it off immediately.

2. Connect a vinyl tube to the wheel cylinder bleeder plug and insert the other end of the tube in a container of brake fluid which is half full.
3. Start the engine.
4. Slowly depress the brake pedal several times.

pic 2

5. While depressing the brake pedal fully, loosen the bleeder plug until fluid runs out. Then close the bleeder screw and release the brake pedal.
6. Repeat steps 4 and 5 until there are no more bubbles in the fluid.
7. Tighten the bleeder plug screw.
Bleeder screw tightening torque: 7 - 9 Nm (70 - 90 kg cm, 5.2 - 6.6 ft. lbs.)

pic 3

8. Repeat the above procedure for each wheel in the sequence shown in the illustration.

___________________

Let me know if this helps.

Take care,
Joe
Was this
answer
helpful?
Yes
No
Saturday, August 10th, 2019 AT 8:54 PM

Please login or register to post a reply.