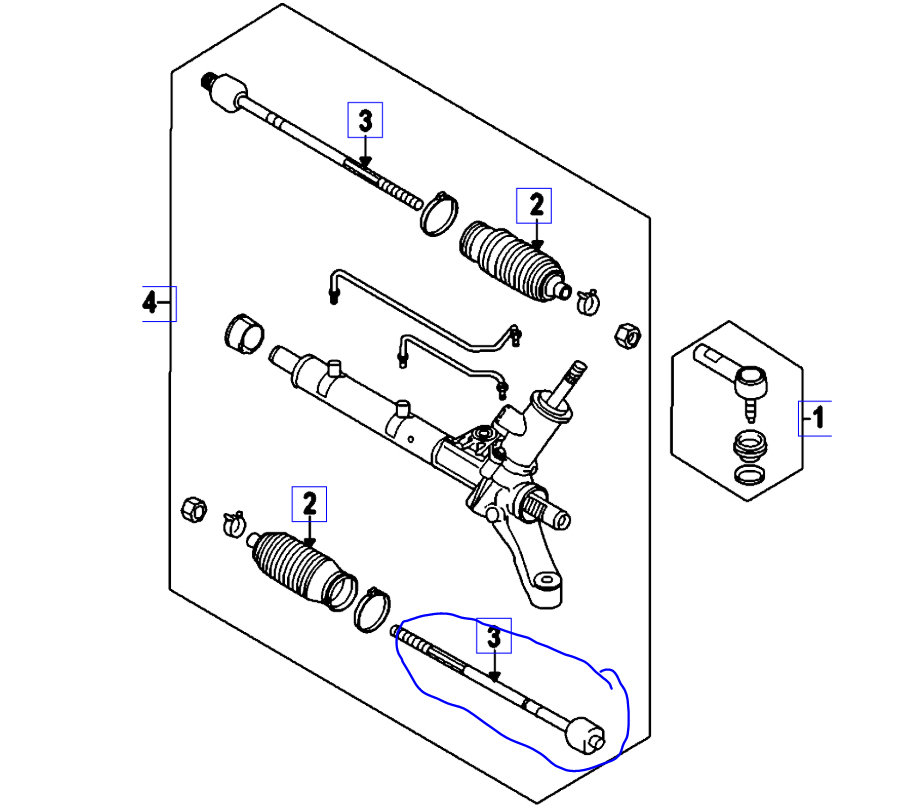
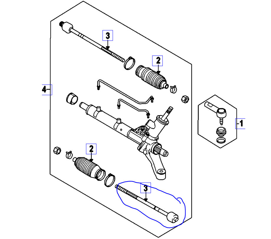
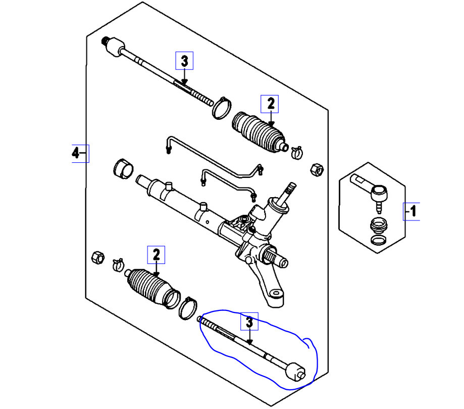
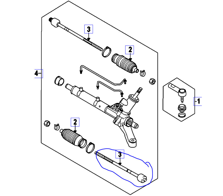
Bent tie rod

Tiny
SCOTT_B
  • MEMBER
  • 2007 SUZUKI SX4
  • 2.0L
  • 4 CYL
  • 4WD
  • MANUAL
  • 160,000 MILES
Is it possible for a tie rod to be bent in a slow speed 'soft' collision, with the steering wheel at full lock (all the way to the right) without damage to wheel or tire?
Thanks.
Friday, July 10th, 2020 AT 10:14 AM

9 Replies

Tiny
ASEMASTER6371
  • MECHANIC
  • 52,796 POSTS
Good morning,

Yes, it is. The tie rods are not made of real strong steel.

When you drive, is the steering wheel straight or did it change positions?

https://www.2carpros.com/articles/tie-rod-end-replacement

Roy
Was this
answer
helpful?
Yes
No
+1
Friday, July 10th, 2020 AT 10:36 AM
Tiny
SCOTT_B
  • MEMBER
  • 5 POSTS
Thanks for replying. Before impact steering was normal. After impact, steering wheel is oscillating/shaking. Car is pulling to the right, and feels unstable at speed, especially dangerous at 50+ mph. (Edit) - steering wheel is now slightly off center, too.
Was this
answer
helpful?
Yes
No
Friday, July 10th, 2020 AT 12:23 PM
Tiny
ASEMASTER6371
  • MECHANIC
  • 52,796 POSTS
Yes, I would take it to a shop and have them inspect the front end for damage.

When you get the results, get back to me with what they recommend.

Roy
Was this
answer
helpful?
Yes
No
Friday, July 10th, 2020 AT 2:37 PM
Tiny
SCOTT_B
  • MEMBER
  • 5 POSTS
  • 2007 SUZUKI SX4
  • 2.0L
  • 4 CYL
  • 4WD
  • MANUAL
  • 160,000 MILES
Is it possible a tie rod could be bent in a slow speed (20 MPH) collision with a soft covered but firm object (a rubber covered barrier, for example), but with no damage to the wheel and tire? The steering was turned hard all the way to the right, and the right front tire hit squarely on the front tire tread surface only. The car was moving forward.

Thanks
Was this
answer
helpful?
Yes
No
Friday, July 10th, 2020 AT 3:48 PM (Merged)
Tiny
ASEMASTER6371
  • MECHANIC
  • 52,796 POSTS
We have already discussed this in your previous post.

Did you get the front end checked yet from a shop?

Roy
Was this
answer
helpful?
Yes
No
Friday, July 10th, 2020 AT 3:48 PM (Merged)
Tiny
SCOTT_B
  • MEMBER
  • 5 POSTS
Thanks. A friend + my neighbor, both know a lot about cars, looked at it after I took the wheel off, and both told me the tie rod is bent. It looks bent to me as well. I talked to a local shop on the phone, and they insist (without seeing the car) if the tie rod is bent then the wheel is bent and the tire damaged if the tie rod is bent. I don't see any damage to the wheel or tire.
Was this
answer
helpful?
Yes
No
Saturday, July 11th, 2020 AT 8:51 AM
Tiny
ASEMASTER6371
  • MECHANIC
  • 52,796 POSTS
Okay, they are making an assessment without seeing it.

You need to take it there in person for a check, not over the phone.

Roy
Was this
answer
helpful?
Yes
No
+1
Saturday, July 11th, 2020 AT 9:11 AM
Tiny
SCOTT_B
  • MEMBER
  • 5 POSTS
Thank you.
Was this
answer
helpful?
Yes
No
Saturday, July 11th, 2020 AT 9:40 AM
Tiny
ASEMASTER6371
  • MECHANIC
  • 52,796 POSTS
You are welcome.

Always glad to help.

Roy
Was this
answer
helpful?
Yes
No
Saturday, July 11th, 2020 AT 9:43 AM

Please login or register to post a reply.

Related Tie Rod End Content

Tie Rod End Replacement Mercedes Benz
VIDEO