Air only comes out of defrost vents

Tiny
PACKERS27
  • MEMBER
  • 2000 GMC SIERRA
  • 5.3L
  • V8
  • 2WD
  • AUTOMATIC
  • 250,000 MILES
So, no matter what switch I turn it to, it never blows through anything but the defrost vent. Blend door motor. Mode Actuator? I don't know alot about this so any explanation and a location to where the part is, is greatly appreciated. Here's a pic of my controls Thank you!
Wednesday, March 3rd, 2021 AT 11:50 AM

1 Reply

Tiny
JACOBANDNICKOLAS
  • MECHANIC
  • 110,192 POSTS
Hi,

Airflow directions are controlled by the mode door actuator. Chances are the actuator is bad.

First, take a look through this link:

https://www.2carpros.com/articles/air-vents-stay-in-the-defrost-position

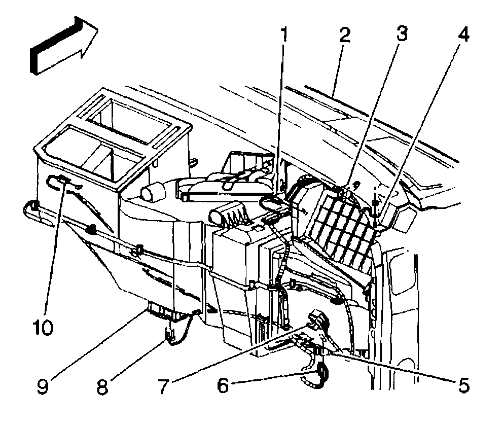
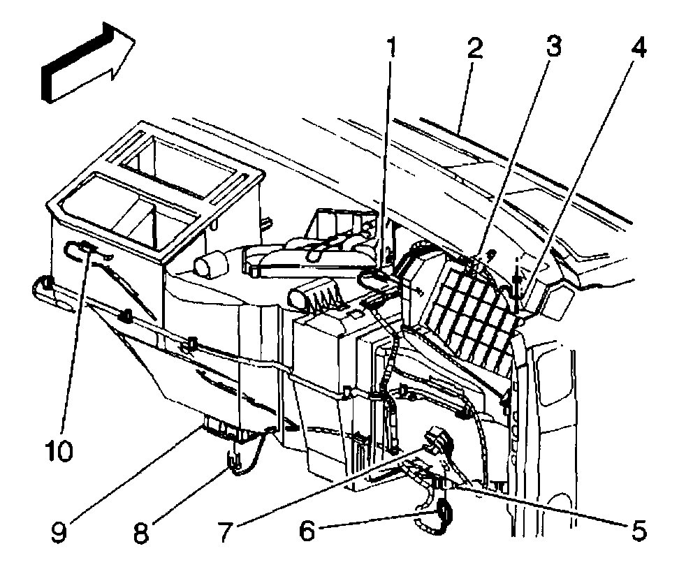
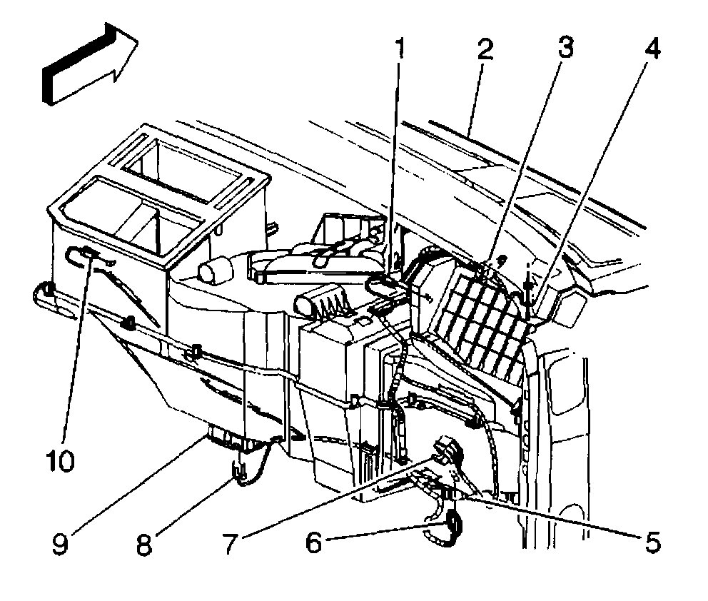
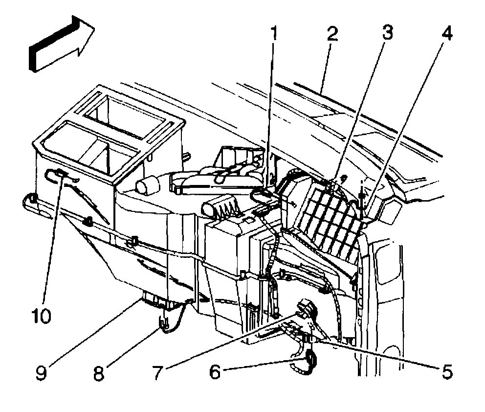
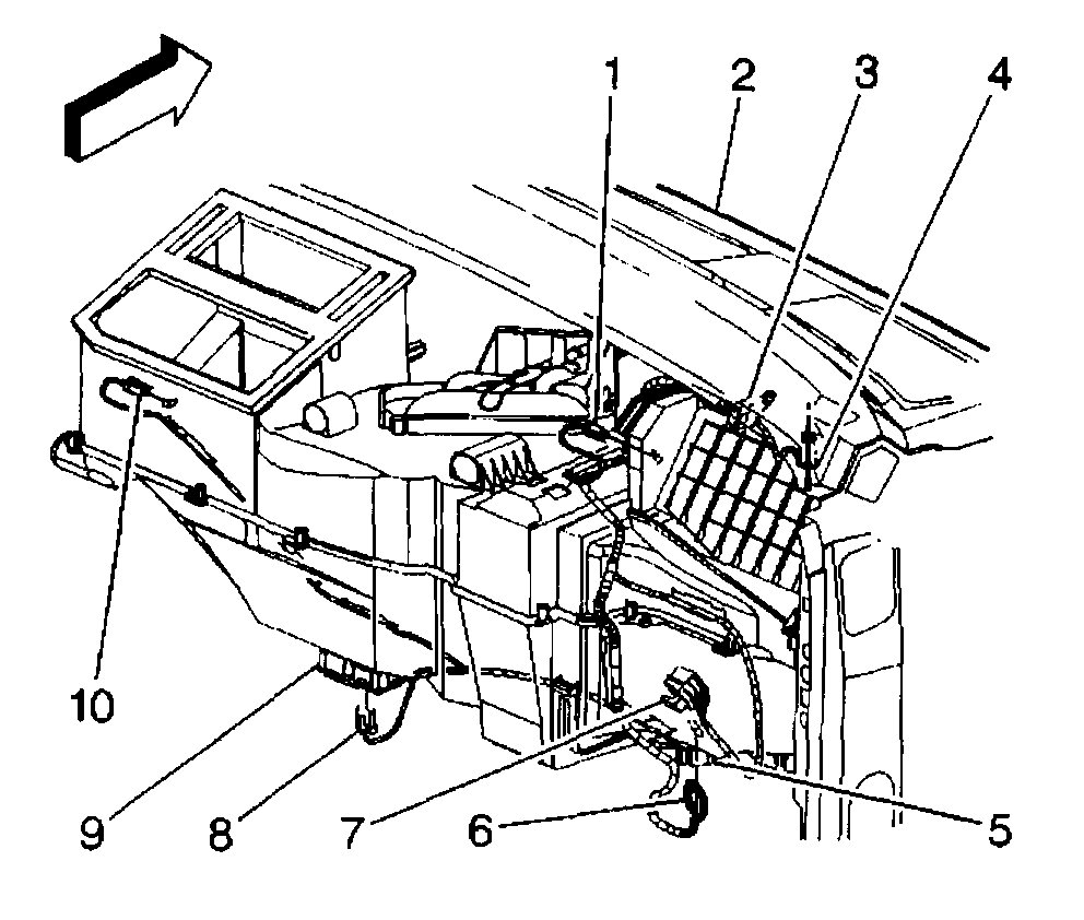
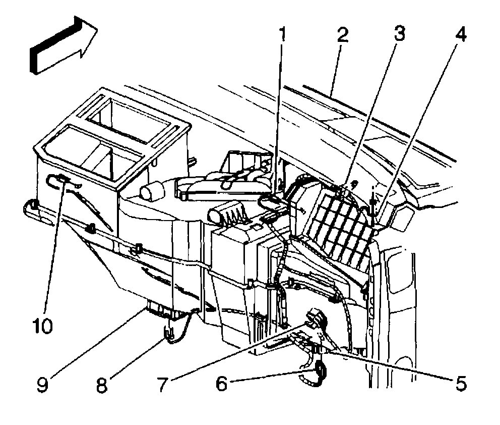
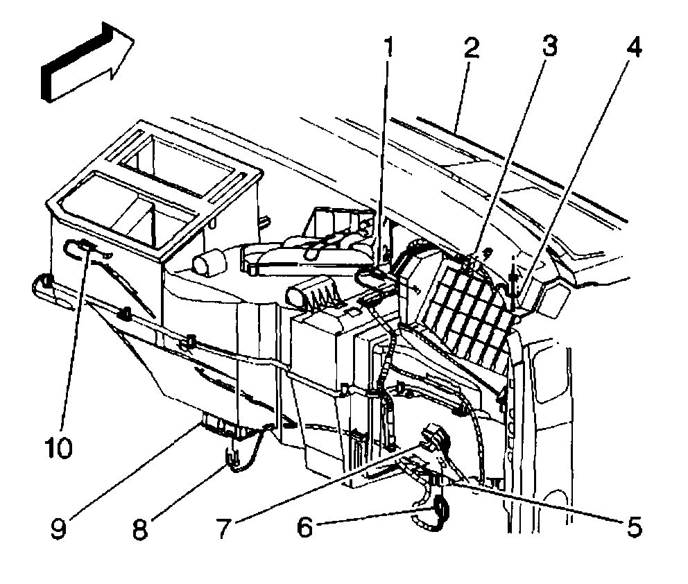
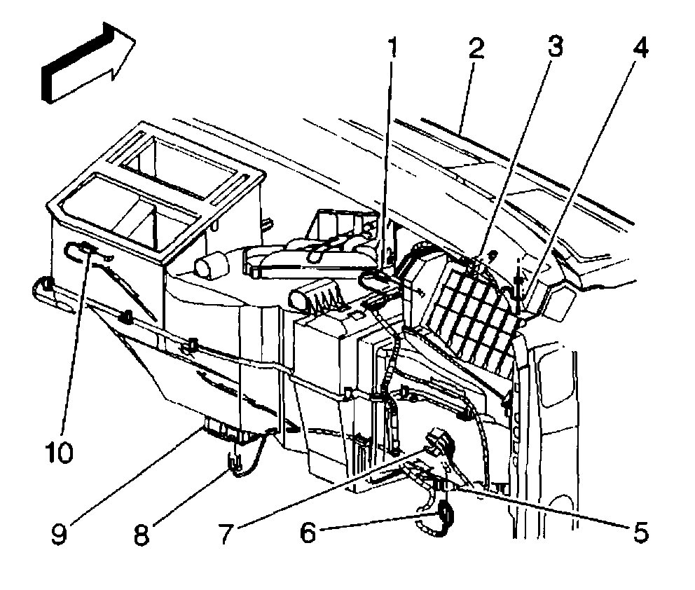
The mode door actuator is located under the dash near the center. Here are the directions specific to your vehicle for replacement. The pics below correlate with the directions.

________________________________

2000 GMC Truck C 1500 Truck 2WD V8-5.3L VIN T
Mode Actuator Replacement
Vehicle Heating and Air Conditioning Air Door Actuator / Motor Service and Repair Procedures HVAC System - Manual Mode Actuator Replacement
MODE ACTUATOR REPLACEMENT
REMOVAL PROCEDURE

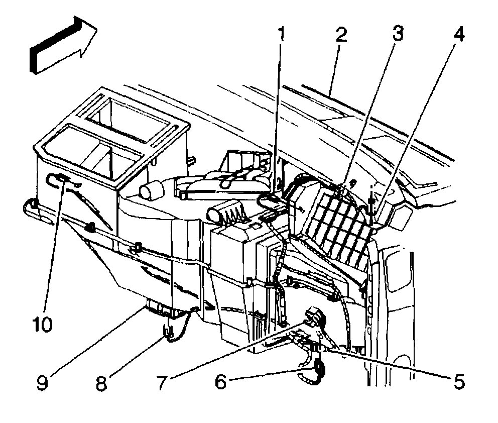
pic 1

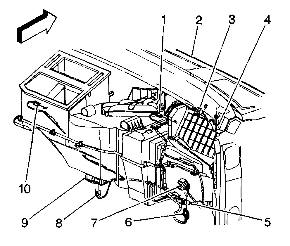
1. Remove the floor air outlet duct extension (1) from the floor duct (2).

pic 2

2. Disconnect the electrical connection at the mode actuator (10).

pic 3

3. Remove the mode actuator mounting screws from the HVAC module.
4. Remove the mode actuator as an assembly with the actuator cam.

INSTALLATION PROCEDURE

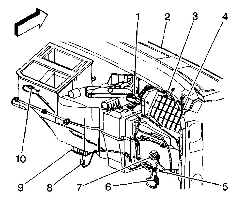
pic 4

1. Install the mode actuator as an assembly with the actuator cam.
- Line up the heater/defroster valve lever with the mode actuator cam slot.
- Line up the A/C valve lever with the mode actuator cam.

NOTE: Refer to Fastener Notice in Service Precautions.

2. Install the mode actuator mounting screw to the HVAC module.

Tighten
Tighten the mode actuator mounting screw to 1.6 N.m (14 lb in).

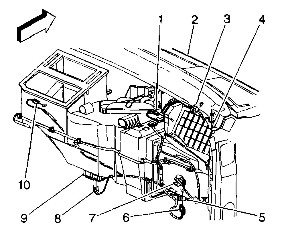
pic 5

3. Connect the electrical connection at the mode actuator (10).

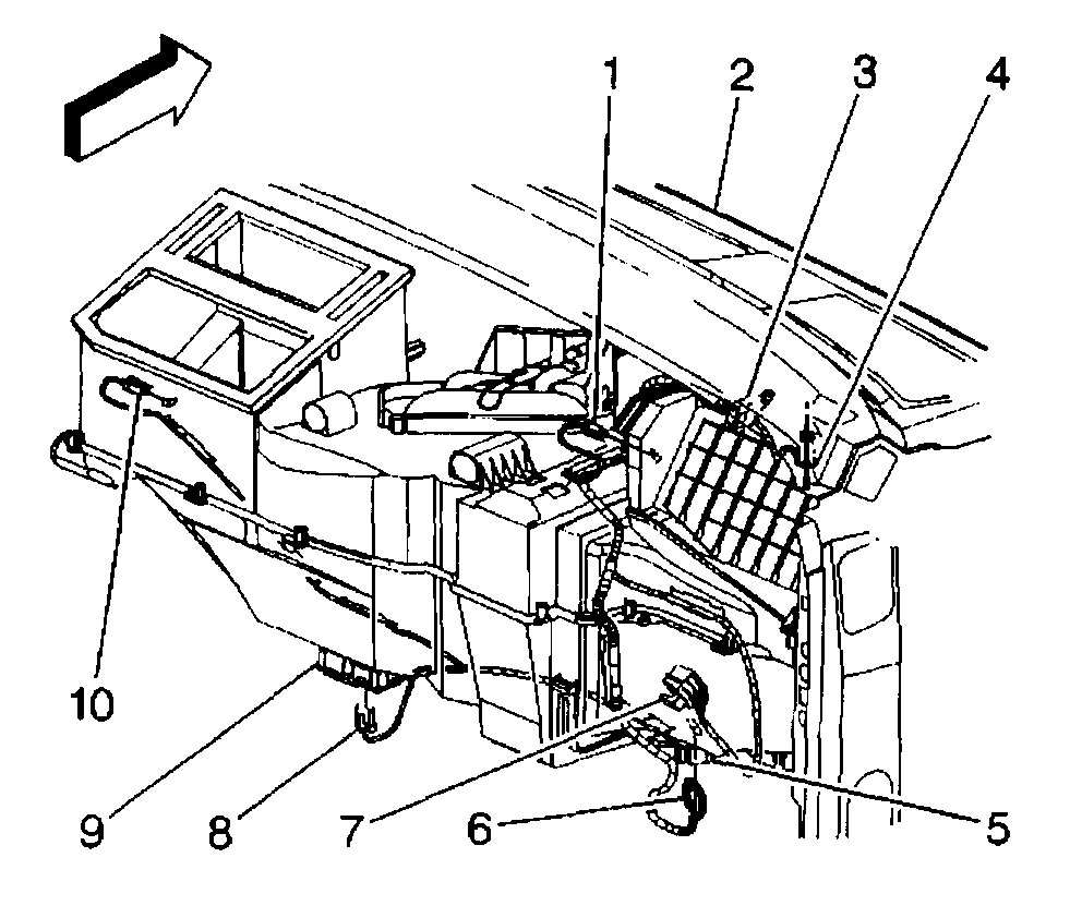
pic 6

4. Install the floor air outlet duct extension (1) to the floor air duct (2).

_________________________

I hope this helps. Let me know if you have other questions.

Take care and God Bless,

Joe
Was this
answer
helpful?
Yes
No
Wednesday, March 3rd, 2021 AT 9:05 PM

Please login or register to post a reply.