Air conditioner not blowing through front vents

Tiny
PACHYAUTO63
  • MEMBER
  • 1998 FORD EXPLORER
  • 4.5L
  • V8
  • 2WD
  • AUTOMATIC
  • 175,000 MILES
The van is blowing cold air in the back and the top of dash but is not blowing from front vents.
Friday, July 6th, 2018 AT 9:47 AM

1 Reply

Tiny
ASEMASTER6371
  • MECHANIC
  • 52,796 POSTS
Good morning.

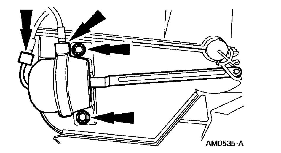
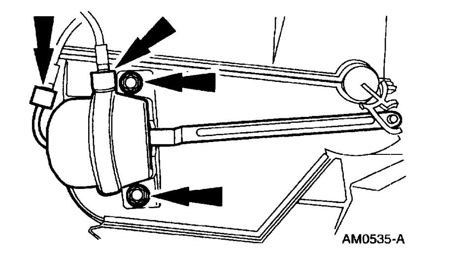
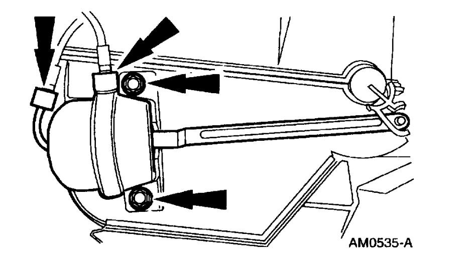
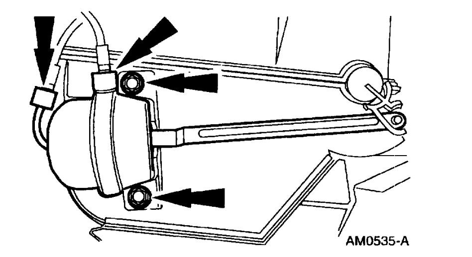
There is a actuator that controls the mode commands. It sounds like yours is not working.

It is under the dash behind the glove box. I attached a picture for you to view. Just make sure you verify there is vacuum there when you command air through the vents on the control head.

Roy

https://www.2carpros.com/articles/replace-blend-door-motor
Was this
answer
helpful?
Yes
No
+1
Friday, July 6th, 2018 AT 10:13 AM

Please login or register to post a reply.