ABS module replacement

2001 GMC SIERRA
215,000 MILES • 5.3L • V8 • 2WD • AUTOMATIC
Avatar
KENNY BYRD
  • MEMBER
  • 1 POST
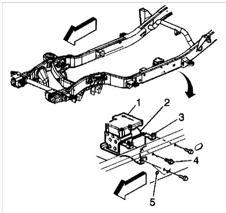
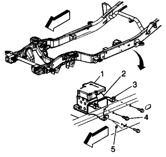
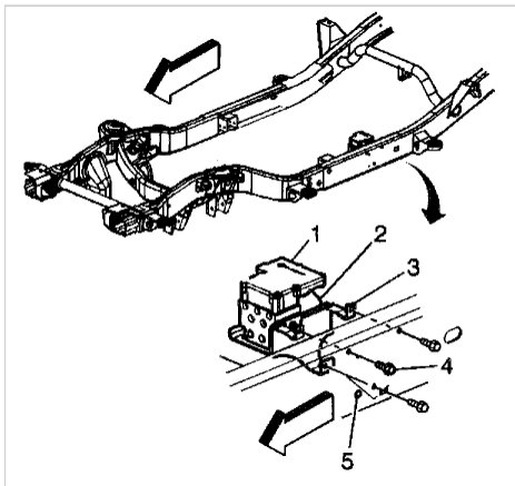
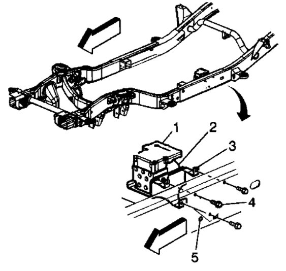
I have seen your video on YouTube how to remove an ABS module. As you can see from the picture. Any help would be appreciated. Thanks!
Apr 7, 2017 at 3:17 PM
Repair Safety Notice: This information is for general instructional purposes only. Vehicle repair can be dangerous. Verify all information, follow manufacturer service procedures, use proper tools and safety equipment, and consult a qualified repair shop when needed.
Advertisement
Avatar
DANNY L
  • CAR REPAIR CONTRIBUTOR
  • 5,648 POSTS
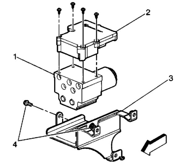
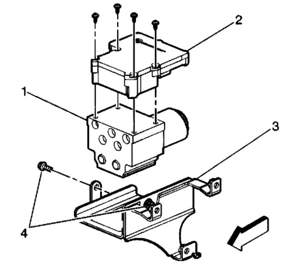
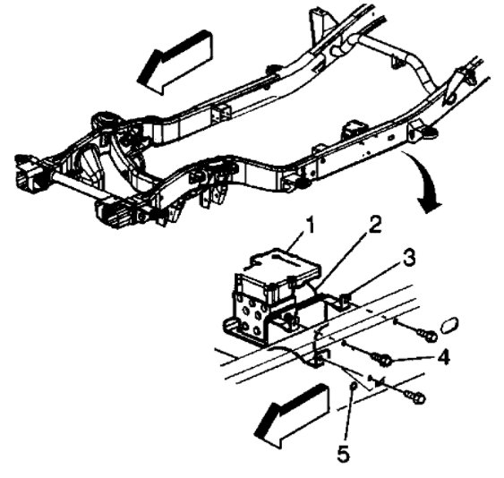
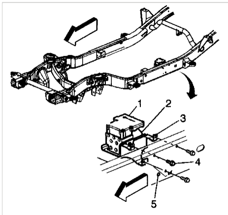
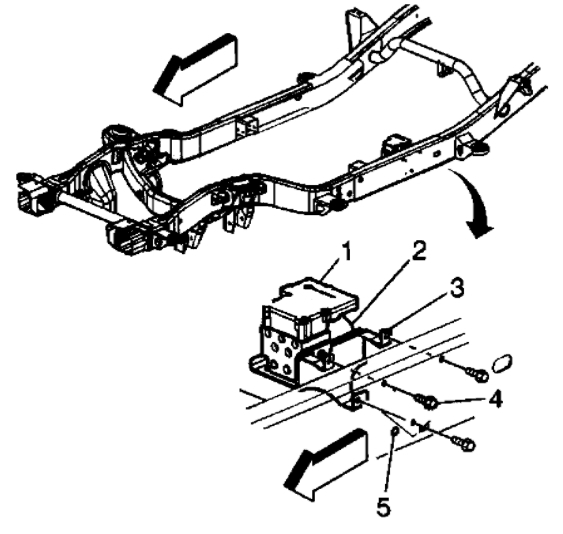
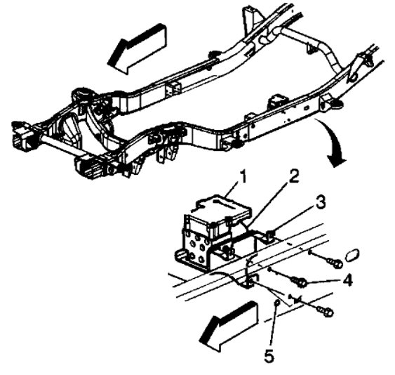
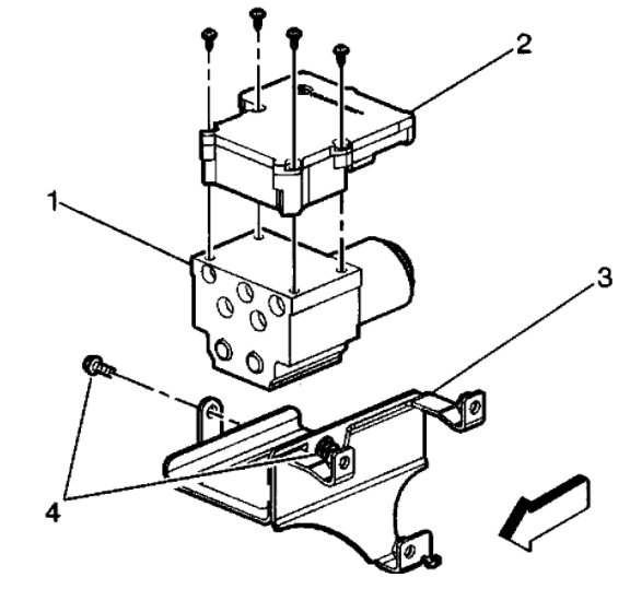
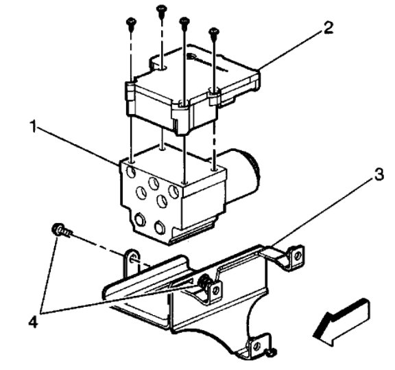
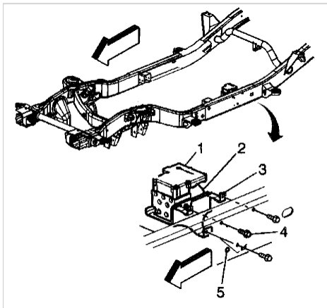
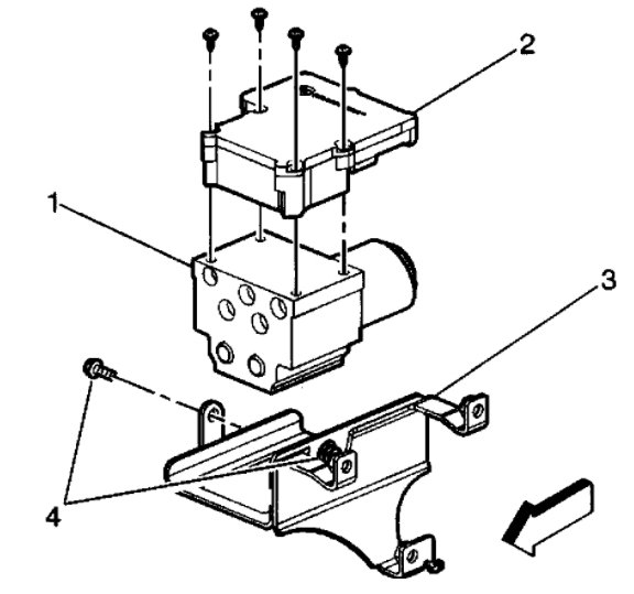
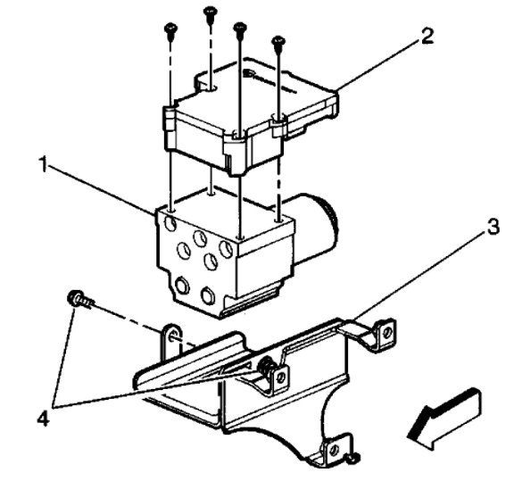
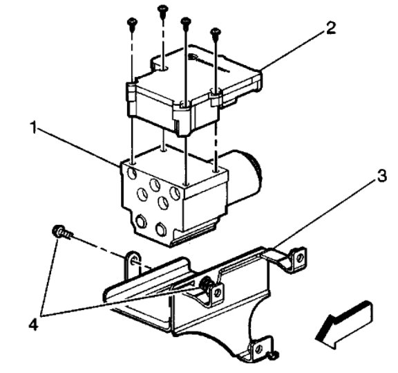
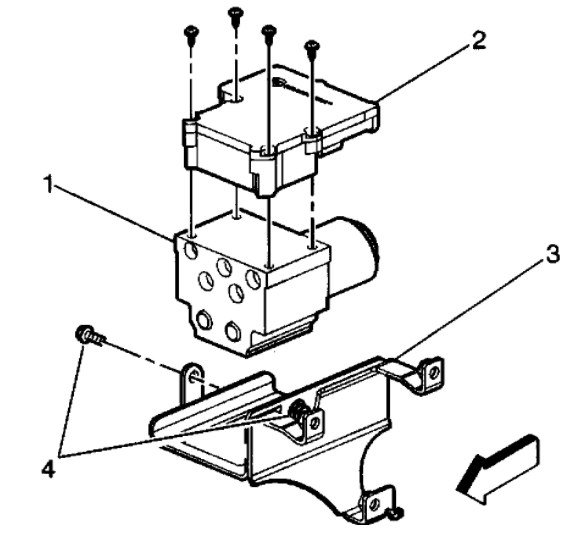
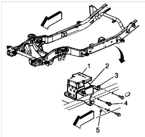
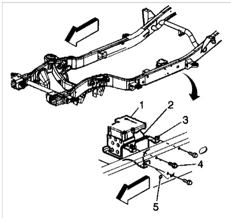
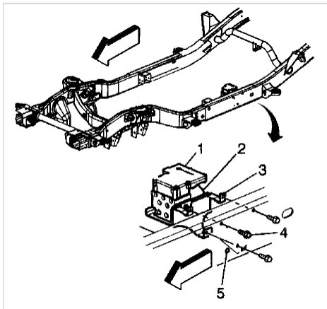
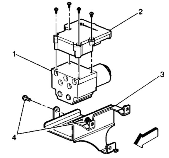
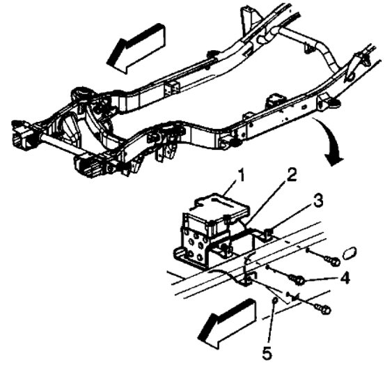
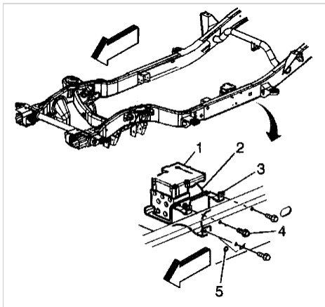
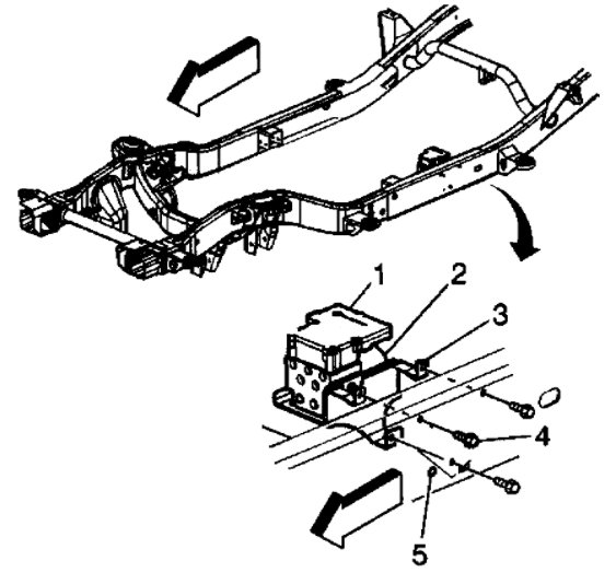
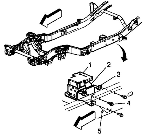
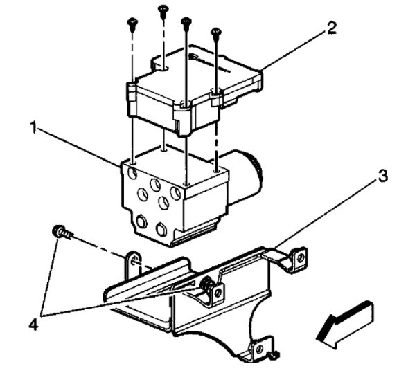
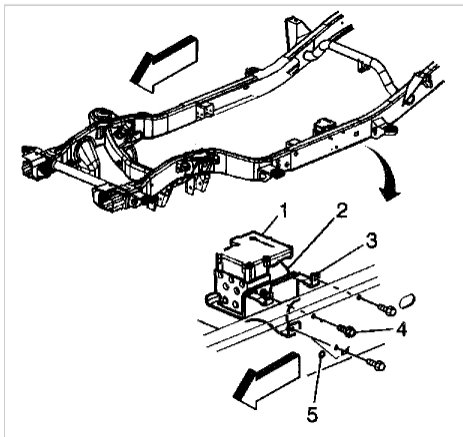
Here is the information you requested. I've attached picture steps below on how to change the ABS hydraulic unit on your car below. I've also attached brake bleeding steps and here is a tutorial to view as well:

https://www.2carpros.com/articles/how-to-bleed-or-flush-a-car-brake-system

Below are the step by step picture instructions for replacement on your truck. Hope this helps and thanks for using 2CarPros.
Apr 15, 2021 at 8:22 PM
Advertisement