A/C not blowing through vents blowing through defrost only

Tiny
JENNI THOMPSON
  • MEMBER
  • 1998 FORD RANGER
  • 4 CYL
  • 2WD
  • MANUAL
  • 180,000 MILES
Cold air comes out of the defrost vents and floor vents only. Is there a toggle flap (?), And can I access it without taking the dash board off? (By the way, same thing with heat, but I do not heat with the vents I heat through the floor.)
Tuesday, June 13th, 2017 AT 1:13 PM

1 Reply

Tiny
STEVE W.
  • MECHANIC
  • 15,676 POSTS
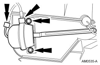
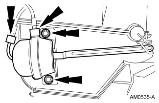
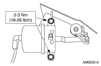
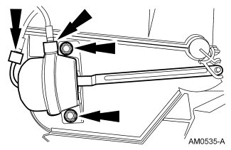
Mode door is the problem. It has a vacuum motor that controls it. Either the vacuum line came off, the motor failed or the link/door broke. Not hard to get to it, Stick your head under the dash below the steering wheel and look up and toward the middle of the truck and you will see two controls for the panel. The one with the short arm controls the defrost/panel door and is the one you have an issue with.
Move the control knob and watch it, if it and the linkage moves but the air does not change the door inside is broken. To repair that the heater plenum and case have to come out.

Now if you move the control and nothing happens you could have a bad vacuum line/connection under the hood.
Was this
answer
helpful?
Yes
No
+4
Tuesday, June 13th, 2017 AT 4:42 PM

Please login or register to post a reply.