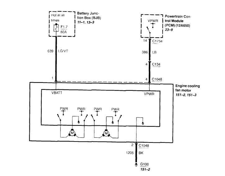
When the system is running and gets hot, it is trying to shut down and no cool air comes out. There is no blockage, compressor is fine, Freon is on point. I was told that something electrical is getting hot and is not letting A/C run right.
Please help
Friday, August 10th, 2018 AT 9:45 AM


