No spark

Tiny
DAVISMELODY6669
  • MEMBER
  • 65 POSTS
I have ground to the connection and control the test light, lights up and when I turn the key it turns off. And I lost rpm signal. Maybe the crank it's cutting off the spark because when it was idling it was almost dying because of the crank sensor.
Was this
answer
helpful?
Yes
No
Sunday, December 29th, 2019 AT 3:39 PM
Tiny
JACOBANDNICKOLAS
  • MECHANIC
  • 110,192 POSTS
I hate to ask this again, but are you certain the ground is good? I have had situations where I would have continuity to ground but when a load was placed on it, it would fail.
Was this
answer
helpful?
Yes
No
Sunday, December 29th, 2019 AT 6:06 PM
Tiny
DAVISMELODY6669
  • MEMBER
  • 65 POSTS
I checked all the wires that won't touch any ground and I have good ground. I checked everywhere around the motor. I only checked the connection from the coil, power feed gets little dim and the control wire/ground wire lights on but turns off when key on using a needle with test-light. I guess I'm not understanding.
Was this
answer
helpful?
Yes
No
Sunday, December 29th, 2019 AT 6:50 PM
Tiny
DAVISMELODY6669
  • MEMBER
  • 65 POSTS
I'm going to check the ignition switch harness.
Was this
answer
helpful?
Yes
No
Monday, December 30th, 2019 AT 10:17 AM
Tiny
JACOBANDNICKOLAS
  • MECHANIC
  • 110,192 POSTS
Let me know what you find. It's tough not being there. Regardless, I hope you have a good and safe new year tonight.

Take care,
Joe
Was this
answer
helpful?
Yes
No
Tuesday, December 31st, 2019 AT 7:36 PM
Tiny
DAVISMELODY6669
  • MEMBER
  • 65 POSTS
I checked the ground from the ignition module with test light even while cranking the light is strong. Even the feed from coil n module but the control wire turns off the light when key is on.
Was this
answer
helpful?
Yes
No
Tuesday, December 31st, 2019 AT 8:15 PM
Tiny
DAVISMELODY6669
  • MEMBER
  • 65 POSTS
Thank you and you too. Drink responsibly.
Was this
answer
helpful?
Yes
No
Tuesday, December 31st, 2019 AT 8:17 PM
Tiny
JACOBANDNICKOLAS
  • MECHANIC
  • 110,192 POSTS
I suspect then, the module is bad. Let me know when you get back to it.

Joe
Was this
answer
helpful?
Yes
No
Tuesday, December 31st, 2019 AT 8:51 PM
Tiny
DAVISMELODY6669
  • MEMBER
  • 65 POSTS
I did the swap for new ignition module today. Still the same.
Was this
answer
helpful?
Yes
No
Tuesday, December 31st, 2019 AT 9:03 PM
Tiny
JACOBANDNICKOLAS
  • MECHANIC
  • 110,192 POSTS
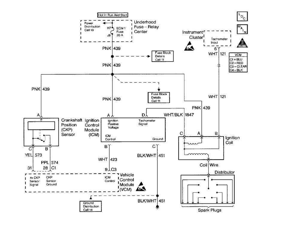
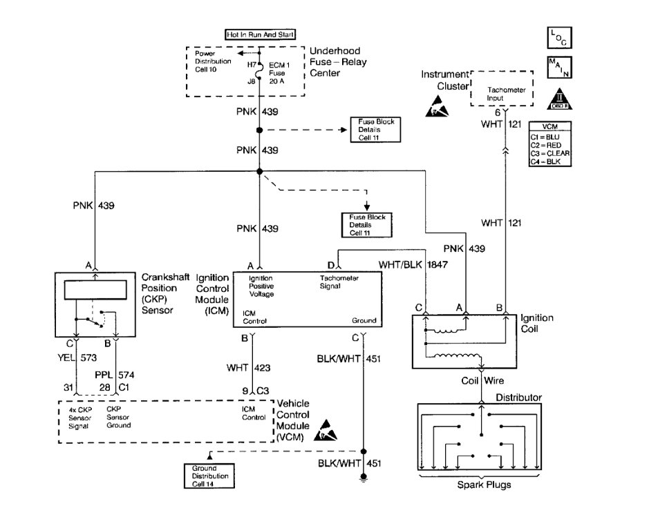
I attached the schematics from the coil to everything it goes to. There are a couple fuses I want you to check, but I have my doubts. Regardless, let me know which color wire at the loses power. I am trying to trace everything for you, but something just isn't making sense for me. Take a look. To follow all the wiring related to the coil, I had to go across several pages. As a result, there are several pics. I did highlight the wires involved. The pics end at the VCM. There is one section where I circled two fuses. I figured it wouldn't be a bad idea to check them as well as to confirm power.

__________________________________

Read through this description. Also, the last picture I attached is a GM schematic.

Circuit Description

The enhanced ignition system uses the crank sensor in order to provide the timing input to the VCM. The VCM uses this reference pulse in order to determine the individual ignition spark timing for each cylinder.

Once the VCM calculates the ignition timing, the ignition coil module on the IC circuit receives the timing signal. Each timing pulse received by the ignition coil module on the IC circuit triggers the coil module in order to operate the ignition coil. The secondary ignition voltage is induced, and then the secondary ignition voltage is sent to the distributor for distribution to each spark plug. This DTC is a type A DTC.

The IC signal voltage ranges from about 0.5 volt to 4.5 volts.

__________________________________

Next, I don't know if you have checked for trouble codes, but doing more research, I came across this. The flow chart for testing is in the last three pics. It seems relevant.

1997 Chevy Truck C 1500 Suburban 2WD V8-5.7L VIN R
P1361
Vehicle ALL Diagnostic Trouble Codes ( DTC ) Testing and Inspection P Code Charts

Circuit Description
The enhanced ignition system provides the timing input to the VCM with a crank sensor. The VCM uses this reference pulse in order to determine the individual ignition spark timing for each cylinder.

Once the VCM calculates the ignition timing, the ignition coil module on the IC circuit receives the timing signal. Each timing pulse received by the ignition coil module, on the IC circuit, triggers the coil module in order to operate the ignition coil. The secondary ignition voltage is induced, and then the secondary ignition voltage is sent to the distributor for distribution to each spark plug. This Diagnostic Trouble Code (DTC) is a type A DTC.

The IC signal voltage ranges from about 0.5 volt to 4.5 volts.

Conditions for Setting the DTC
EST enabled, and engine speed is less than 250 RPM.

Action Taken When The DTC Sets
The VCM turns on the Malfunction Indicator Lamp (MIL).

Conditions for Clearing the MIL/DTC
The VCM turns the MIL off after 3 consecutive driving trips without a fault condition present. A history DTC will clear if no fault conditions have been detected for 40 warm-up cycles (coolant temperature has risen 40°F from the start-up coolant temperature and the engine coolant temperature exceeds 160°F during that same ignition cycle) or the scan tool clearing feature has been used.

Diagnostic Aids
A poor connection, a rubbed through wire in the insulation, or a wire broken inside the insulation will cause an intermittent.

Check for the following conditions:

Poor connection.
Damaged harness: Inspect the VCM harness connectors for the following conditions:

- Backed out terminals GR9 and BK18.
- Improper mating.
- Broken locks.
- Improperly formed or damaged terminals.
- Poor terminal to wire connection.

And

- Damage harness.

Intermittent test If connections and harness check OK, monitor a digital voltmeter connected between VCM terminal GR9 and Bk18 while moving related connectors and wiring harness. If the failure is induced, the voltage reading will change. This may help to isolate the location of the malfunction.

Test Description
The numbers below refer to the step numbers in the diagnostic table.

2. If the engine starts at this point, the DTC 1361 is an intermittent.
3. This check determines if the IC signal from the VCM is available at the ignition coil module.
9. The remaining tests begins to check that the ignition coil module circuitry is OK. If the ignition coil module loses its voltage source, the secondary voltage will not be produced, and a DTC P1361 will set.

Let me know.

Joe
Was this
answer
helpful?
Yes
No
Tuesday, December 31st, 2019 AT 10:39 PM
Tiny
DAVISMELODY6669
  • MEMBER
  • 65 POSTS
The ECM didn't have good ground.
Was this
answer
helpful?
Yes
No
Thursday, January 9th, 2020 AT 1:27 PM
Tiny
JACOBANDNICKOLAS
  • MECHANIC
  • 110,192 POSTS
Wow! I'm glad you got it going. If you page back through our conversations, that was one of my main concerns. You got tricked like I did with a false positive ground reading. That is so frustrating. I went through a similar situation with a no spark issue. I would check continuity to ground and it looked great, but once a load was placed on it, it failed.

No matter what, you did one heck of a job. These types of problems are difficult even for those who have a ton of experience. The fact that you found the issue says a lot.

Take care and let us know if you have questions in the future.

Joe
Was this
answer
helpful?
Yes
No
Thursday, January 9th, 2020 AT 6:54 PM
Tiny
DAVISMELODY6669
  • MEMBER
  • 65 POSTS
Yes thank you for your patience and help.
Was this
answer
helpful?
Yes
No
Saturday, January 11th, 2020 AT 6:18 PM
Tiny
JACOBANDNICKOLAS
  • MECHANIC
  • 110,192 POSTS
You are very welcome. I have to be honest, I enjoy a good challenge like this. Please let us know if you ever have questions in the future.

Take care of yourself.

Joe
Was this
answer
helpful?
Yes
No
Saturday, January 11th, 2020 AT 8:22 PM

Please login or register to post a reply.