Does not shift into four wheel drive

Tiny
DREW C
  • MEMBER
  • 2003 FORD F-350
  • 6.0L
  • V8
  • TURBO
  • 4WD
  • AUTOMATIC
  • 320,000 MILES
I lock my hubs and I use the switch on my dash but the truck does not shift into 4x4. It does not matter if it is in neutral or if it is in park. I do not hear no click when I am under the truck when someone else switches it into 4x4. I need it to work before winter comes.
Thursday, November 1st, 2018 AT 9:24 PM

3 Replies

Tiny
JACOBANDNICKOLAS
  • MECHANIC
  • 110,194 POSTS
Hi and thanks for using 2CarPros.com.

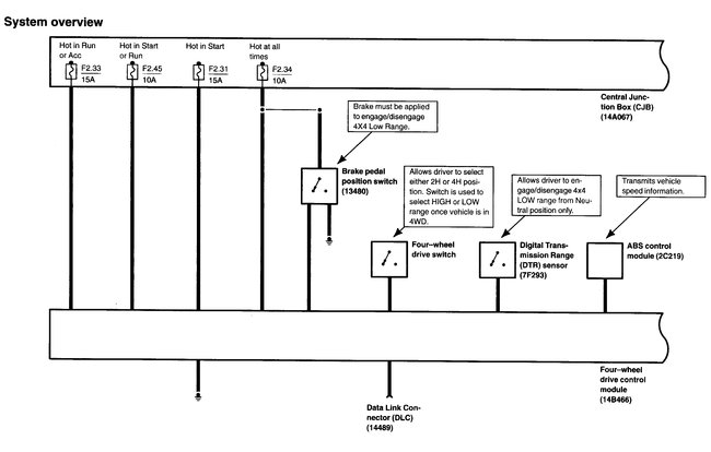
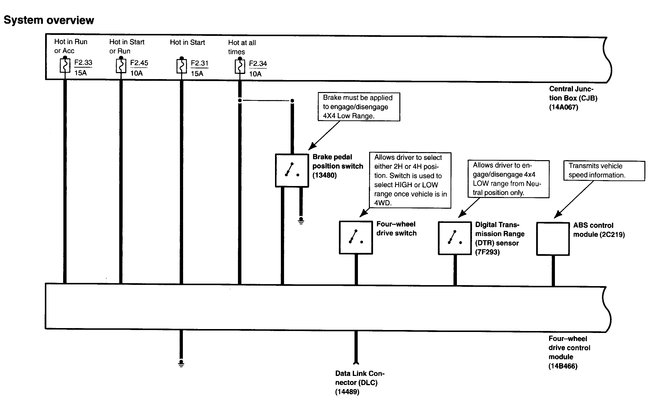
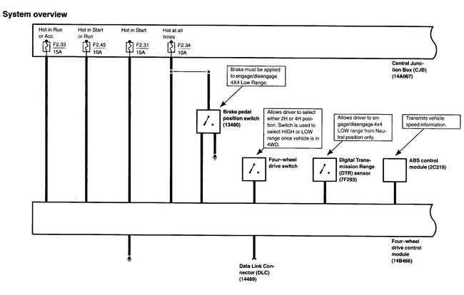
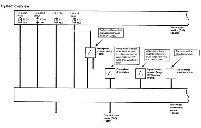
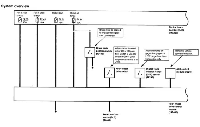
I believe this is the same truck with a different post too. Regardless, we need to start at the beginning by making sure power is available to the actuator. Take a look at the picture (wiring schematic) and confirm that fuses 34 and 111 are good and are providing power to the relays. If they are good, locate the relays under the hood in the relay box and remove and inspect the connectors. Here is a link that shows how to check a relay:

https://www.2carpros.com/articles/how-to-check-an-electrical-relay-and-wiring-control-circuit

I am basing this diagnosis on the idea that the transfer case actuator is not working. You mentioned you did not hear an activity there.

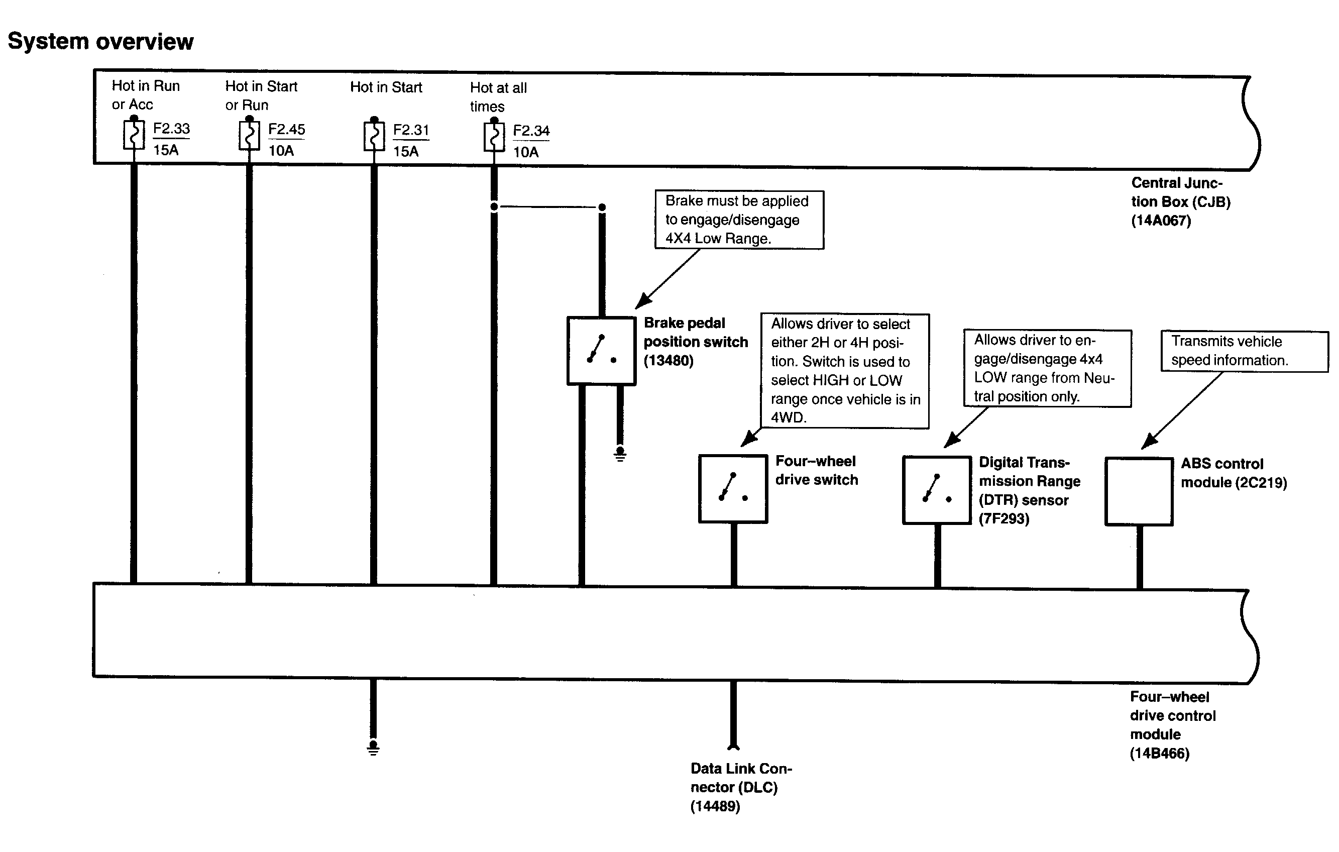
If the fuses are the relays are good, take a look at picture 2. It is the wiring schematic of the 4wd system. Please note that this vehicle has a 4wd control module located under the dash, behind the glove box. What I am going to suggest will either indicate the module is bad (which will need tested by a shop) or the actuator is bad.

Simply disconnect the connector on the transfer case. Check pins 1 and 2 for power while you have a helper change the mode of operation indicated on the picture. Note: Based on when the vehicle was produced, picture 3 may not be valid.

If you do get power, then I suspect the motor is bad. If there is no power, the module will need tested with the proper test equipment.

Let me know if you have other questions.

Take care,
Joe

Was this
answer
helpful?
Yes
No
Saturday, November 3rd, 2018 AT 6:03 PM
Tiny
DREW C
  • MEMBER
  • 3 POSTS
No the truck in the other post is a 1996 Dodge Ram this one is my F-350 super duty and I will go check all that and get back to you on it.
Was this
answer
helpful?
Yes
No
Saturday, November 3rd, 2018 AT 6:50 PM
Tiny
JACOBANDNICKOLAS
  • MECHANIC
  • 110,194 POSTS
That is it. I remember you saying you had an F-350 posted too.

Let me know what you find or if you have other questions.

Take care,
Joe
Was this
answer
helpful?
Yes
No
Saturday, November 3rd, 2018 AT 8:17 PM

Please login or register to post a reply.