Key will not turn, steering wheel loose, stuck in park

Tiny
BOBBY BURKE
  • MEMBER
  • 2007 VOLKSWAGEN JETTA
  • 2.2L
  • 4 CYL
  • 2WD
  • AUTOMATIC
  • 100,000 MILES
The vehicle has done this a number of times until finally now, the key won't turn at all.

What parts do I need? Do I need to make sure the new part is ''paired'' to our existing key/fob?

Thank you so much.
Wednesday, February 6th, 2019 AT 7:22 PM

1 Reply

Tiny
JACOBANDNICKOLAS
  • MECHANIC
  • 110,192 POSTS
Hi and welcome to 2CarPros.

Before I start, there is more than one component that can be causing this. You really need scan the computer to determine what is causing everything to remain locked. Regardless, here are the directions for the key cylinder lock tumbler. The attached pictures correlate with these directions.

Lock Cylinder

When disconnecting and connecting the Battery, the procedure must be followed as described in the repair information. Refer to=> [ Battery, Disconnecting and Connecting ].

Steering lock may be destroyed.

If steering lock is operated without lock cylinder, it locks and must be replaced.

Steering lock must not be operated without lock cylinder.

Removal

- Disconnect the battery. Refer to => [ Battery, Disconnecting and Connecting ].

- Remove the steering wheel.

- Remove the steering column trim.

- Remove the steering column electronic systems control module (J527). Refer to=> [ Steering Column Electronic Systems Control Module ] See: Steering Mounted Controls Communication Module > Removal and Replacement > Steering Column Electronic Systems Control Module (J527).

- Remove the airbag spiral spring/return spring with slip ring (F138). Refer to => [ Airbag Spiral Spring/Return Spring With Slip Ring ] See: Steering Mounted Controls Communication Module > Removal and Replacement > Airbag Spiral Spring/Return Spring With Slip Ring (F138).

- Remove the steering angle sensor (G85). Refer to => [ Steering Angle Sensor ] See: Steering Mounted Controls Communication Module > Removal and Replacement > Steering Angle Sensor (G85).

Switches must not be removed when removing lock cylinder.

The Anti-theft immobilizer reader coil (D2) is attached to the lock cylinder and cannot be replaced separately.

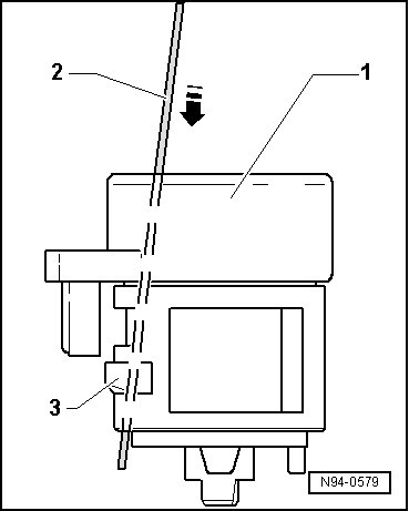
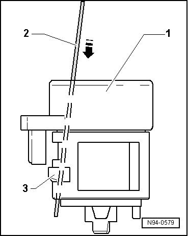
Picture 1

- Disconnect the connector - arrow - from the anti-theft immobilizer reader coil - 3 -.

- Insert ignition key into lock cylinder and turn into position "Drive".

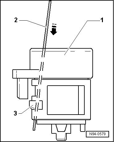
Picture 2

Key positions of lock cylinder:

1. Position Off

2. Position Run

3. Position Start

For reasons of clarity, the following illustration depicts lock cylinder as removed and without ignition key.

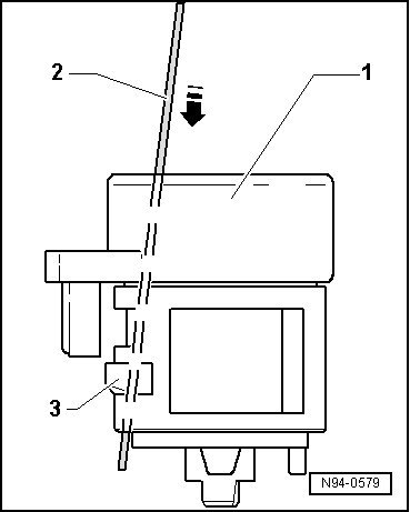
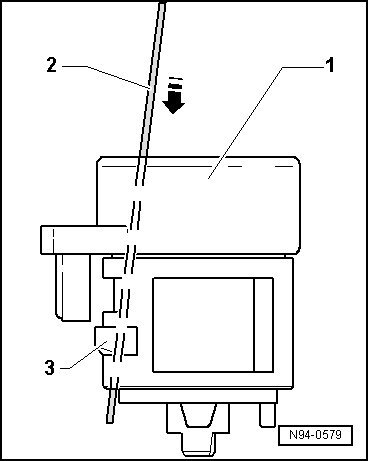
Picture 3.

- Insert steel wire (1.2 mm diameter) into hole next to ignition key - arrow -.

- Using the steel wire - 2 -, release - arrow - the retaining lever - 3 - of the lock cylinder - 1 -.

- Remove the lock cylinder - 1 - from the steering lock housing.

Installation
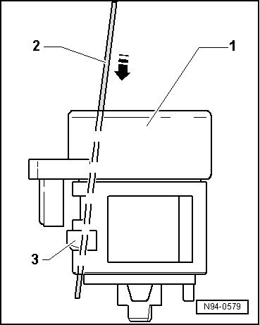
Picture 3

To improve clarity, the ignition key is not shown in the following illustration.

- Insert the ignition key into the lock cylinder - 1 - and turn to the "Drive" position.

- Use the steel wire - 2 - to release the securing lever - 3 - of the lock cylinder - 1 - - arrow -.

- Insert the lock cylinder - 1 - into the steering lock housing.

The Anti-Theft Immobilizer Reader Coil (D2) connection must be inserted into the guide on the steering lock housing.

- Remove the steel wire - 2 - from the lock cylinder - 1 - and then make sure the lock cylinder fit securely in the steering lock housing.

- Connect the connector to the anti-theft immobilizer reading coil.

Further installation is done in reverse order of removal.

Now, If an ignition key is replaced or another ignition key is required, the new ignition key must always be adapted to the immobilizer. Here are the directions for that. However, it does require VAS / VAG programing.

Ignition Key, Adapting to Immobilizer

Special tools, testers and auxiliary items required

Vehicle Diagnostic, Testing and Information System (VAS 5051B)

Procedure

- Connect the (VAS 5051B).

- Select "Guided Fault Finding" in the (VAS 5051B).

- Use the GO TO button to select the "function/component selection" and the following menu options one after the other:

Body

Electrical Equipment

01 - On Board Diagnostic (OBD) capable systems

Anti-Theft Immobilizer

Anti-theft immobilizer 4A download

Adapting a key

___________________________________________
I do have a question. You said the steering wheel is loose. Are you sure that isn't causing the problem?

Let me know.

Joe
Was this
answer
helpful?
Yes
No
Thursday, February 7th, 2019 AT 6:51 PM

Please login or register to post a reply.