Power door locks not working?

Tiny
FAKHIR
  • MEMBER
  • 2007 LINCOLN TOWN CAR
Would anyone tell me the solution please? Power door lock, unlock, trunk (luggage compartment), key pad switch assembly is not working. Had checked fuses, currents, cables, everything is good. What is the problem? Try to reply soon please.
Wednesday, November 21st, 2012 AT 5:48 PM

27 Replies

Tiny
FAKHIR
  • MEMBER
  • 26 POSTS
If someone is facing the same problem then change the DDM(driver door module).
Was this
answer
helpful?
Yes
No
+4
Monday, November 26th, 2018 AT 11:34 AM
Tiny
RAMANM
  • MEMBER
  • 2 POSTS
  • 2007 LINCOLN TOWN CAR
  • 77,000 MILES
Drirver side door lock doesn't lock or unlock using remote control or outside key pad control. If you manually push down the knob, in a couple of minutes you hear a chattering noise and automatically ejects out. Therefore, I could NOT lock the drive side door and I find it highly unsafe.
Was this
answer
helpful?
Yes
No
+1
Tuesday, April 6th, 2021 AT 6:56 PM (Merged)
Tiny
KASEKENNY
  • MECHANIC
  • 18,907 POSTS
Sounds like the door lock actuator has failed. You will need to remove the door panel so here is a guide that will help with removing that:

https://www.2carpros.com/articles/door-panel-removal

Below you will find the process from the manual on how to replace this.

Please run through this material and let us know if you have other questions. Thanks
Was this
answer
helpful?
Yes
No
Tuesday, April 6th, 2021 AT 6:56 PM (Merged)
Tiny
HPMOTORS
  • MEMBER
  • 3 POSTS
  • 2004 LINCOLN TOWN CAR
  • V8
  • 2WD
  • AUTOMATIC
  • 52,000 MILES
Intermittent operation of door locks with no input from interior switch or remote. Turn signals flash when locks go on or off - same as if remote is used. When locks are activated using switch, lights do not flash. Problem is that the locks continue to cycle sporadically, eventually killing the battery.

Problem continues even if door lock switch is unplugged.
Was this
answer
helpful?
Yes
No
+1
Tuesday, April 6th, 2021 AT 6:56 PM (Merged)
Tiny
DOCFIXIT
  • MECHANIC
  • 18,828 POSTS
Hi
Must be a faulty door module located in drivers door. That is what controls power to lock actuator.
Hope this helps
Thanks for donate
Was this
answer
helpful?
Yes
No
Tuesday, April 6th, 2021 AT 6:56 PM (Merged)
Tiny
EMIL BENOIT
  • MEMBER
  • 1 POST
The door module worked! Thank you
Was this
answer
helpful?
Yes
No
Tuesday, April 6th, 2021 AT 6:56 PM (Merged)
Tiny
AUGIEWB
  • MEMBER
  • 2 POSTS
  • 2003 LINCOLN TOWN CAR
  • 0.5L
  • V8
  • 132,000 MILES
Took door panel off to fix door handle. When I put it back the only switches working were the windows. Before I took it off everything was working.
Was this
answer
helpful?
Yes
No
Tuesday, April 6th, 2021 AT 6:57 PM (Merged)
Tiny
DANNY L
  • MECHANIC
  • 5,648 POSTS
Hello, I'm Danny.

It sounds like when you were putting the door panel back on you might have not made a complete electrical connection on the master switch. Can you verify the connects are properly attached and snapped into place? I've attached a picture below. Hope this helps and let me know if you have any further questions on this issue. Thanks for using 2CarPros.
Was this
answer
helpful?
Yes
No
+1
Tuesday, April 6th, 2021 AT 6:57 PM (Merged)
Tiny
AUGIEWB
  • MEMBER
  • 2 POSTS
Will give that a check. Thanks
Was this
answer
helpful?
Yes
No
Tuesday, April 6th, 2021 AT 6:57 PM (Merged)
Tiny
DANNY L
  • MECHANIC
  • 5,648 POSTS
Sounds good.

Keep us updated and we'll go from there. Hope this helps and thanks again for using 2CarPros.

Danny-
Was this
answer
helpful?
Yes
No
Tuesday, April 6th, 2021 AT 6:57 PM (Merged)
Tiny
ZIIMBO1
  • MEMBER
  • 1 POST
  • 2000 LINCOLN TOWN CAR
  • V8
  • 2WD
  • AUTOMATIC
  • 130,000 MILES
The auto door locks do not work when put in gear.
Was this
answer
helpful?
Yes
No
-1
Tuesday, April 6th, 2021 AT 6:57 PM (Merged)
Tiny
ASEMASTER6371
  • MECHANIC
  • 52,796 POSTS
Good morning,

The DDM or driver's door module is what controls this function.

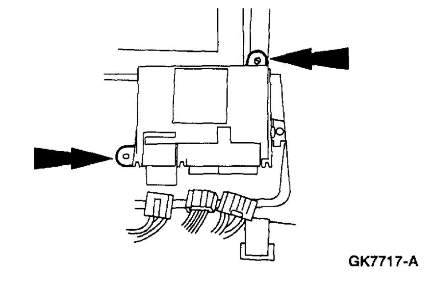
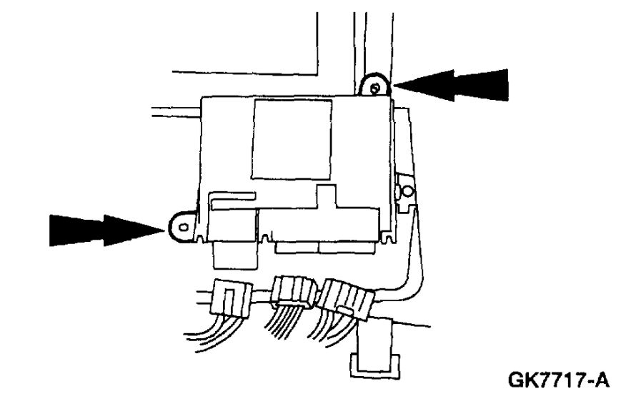
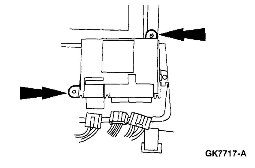
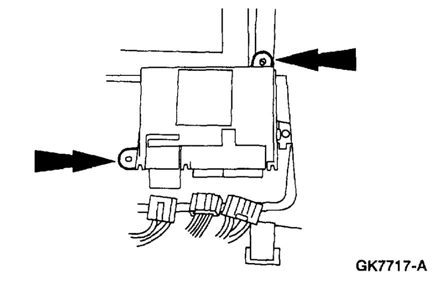
It is inside the driver's door. I attached the location and procedure for you to replace the module.

https://www.2carpros.com/articles/how-to-check-wiring

Roy

REMOVAL

1. Disconnect the battery ground cable.

CAUTION:
Prior to removal of module, it is necessary to upload module configuration information to a scan tool. This information needs to be downloaded into the new module once installed. For additional information; refer to Module Communications Network (Information Bus).
Electronic modules are sensitive to electrical charges. If exposed to these charges, damages may result.

2. Remove the driver door trim panel.

imageOpen In New TabZoom/Print

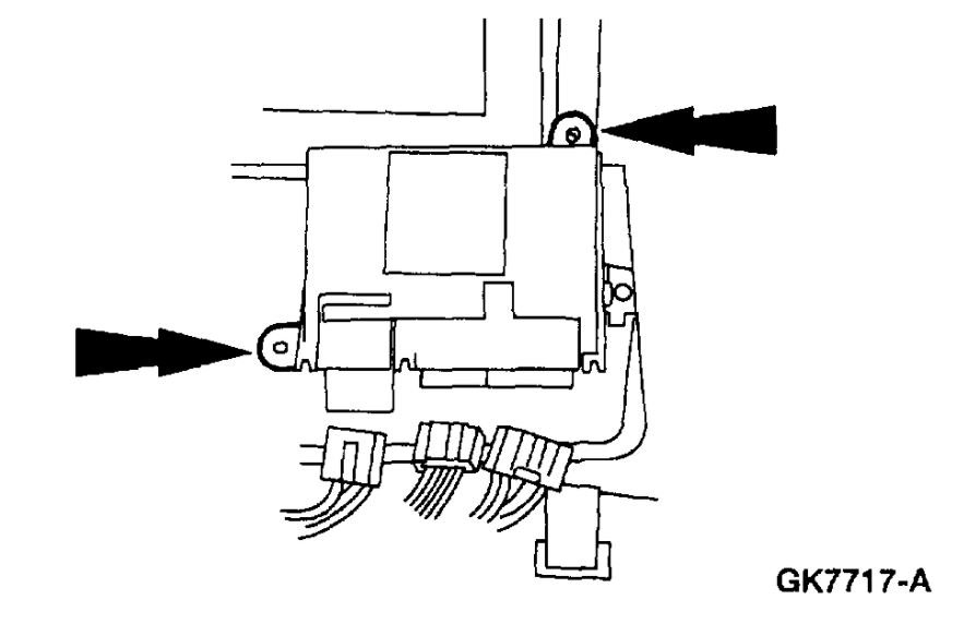
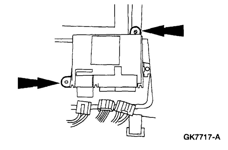
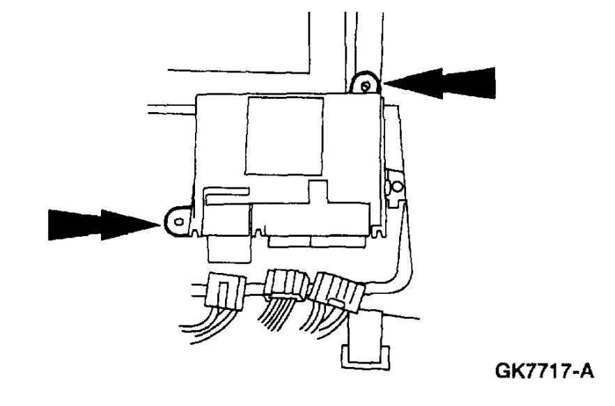
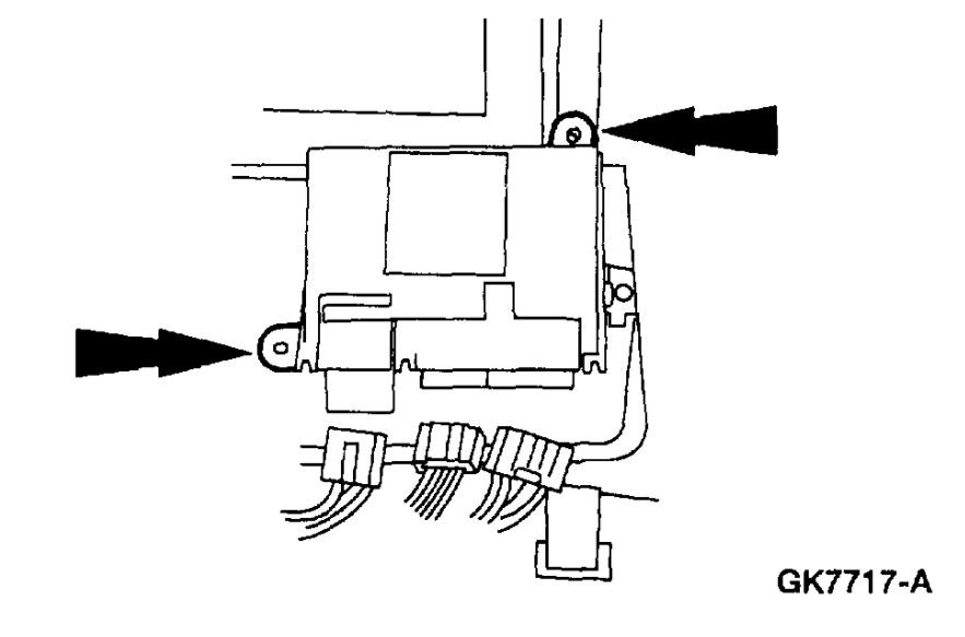
3. Disconnect the electrical connectors from the driver door module (DDM).

imageOpen In New TabZoom/Print

4. Remove the DDM.

INSTALLATION

1. To install, reverse the removal procedure.

CAUTION: Once the new module is installed, it is necessary to download the module configuration information from the scan tool into the new module. For additional information; refer to Module Communications Network (Information Bus).

NOTE: When the battery is disconnected and reconnected, some abnormal drive symptoms may occur while the vehicle relearns its adaptive strategy. The vehicle may need to be driven 16 km (10 miles) or more to relearn the strategy.
Was this
answer
helpful?
Yes
No
Tuesday, April 6th, 2021 AT 6:57 PM (Merged)
Tiny
SERGIOW
  • MEMBER
  • 2 POSTS
  • 2000 LINCOLN TOWN CAR
  • V8
  • 2WD
  • AUTOMATIC
  • 89,000 MILES
When you place the vehicle in drive and drive away doors will not auto lock.
Was this
answer
helpful?
Yes
No
+1
Tuesday, April 6th, 2021 AT 6:57 PM (Merged)
Tiny
MERLIN2021
  • MECHANIC
  • 17,250 POSTS
AUTOLOCK & HORN CHIRP 1. Turn ignition switch to RUN position. Depress UNLOCK button 3 times. Turn ignition off. Turn ignition switch to RUN position. Doors should lock and unlock to confirm entry into program mode. 2. Depress UNLOCK button once to toggle autolock feature ON/OFF. Horn will chirp to confirm toggling. To exit programming, turn ignition switch to OFF or START position or wait 7.5 seconds. NOTE: This procedure must be completed within 5 seconds. Of course the brake lights and reverse lights need to work for this feature.

Per owners manual, on, unlock x3 off on UNLOCK X3 AGAIN
Was this
answer
helpful?
Yes
No
+1
Tuesday, April 6th, 2021 AT 6:57 PM (Merged)
Tiny
SERGIOW
  • MEMBER
  • 2 POSTS
That worked! Thanks
Was this
answer
helpful?
Yes
No
Tuesday, April 6th, 2021 AT 6:57 PM (Merged)
Tiny
MERLIN2021
  • MECHANIC
  • 17,250 POSTS
Nice work, we are here to help, please use 2CarPros anytime.

Cheers
Was this
answer
helpful?
Yes
No
Tuesday, April 6th, 2021 AT 6:57 PM (Merged)
Tiny
LINCOLN T
  • MEMBER
  • 3 POSTS
  • 1999 LINCOLN TOWN CAR
  • V8
  • 2WD
  • AUTOMATIC
  • 120,000 MILES
The power lock toggle switch on arm rest and power trunk button on door do not work. The shutoff for the radio when keys are removed and door is opened also do not work. The garage door opener (located in the visor) will not work unless the keys are in the ignition, and the aftermarket auto starter key fob will still start the car and open the trunk. However it will now unlock the drivers door only (not the other 3 doors) and it no longer will lock the car remotely. All items were working perfectly a week ago. Is it possibly a master fuse that is faulty? A computer chip that needs re-programming? Has anyone else run across this same scenario? Thanks in advance for your response. Any helpful advice would be appreciated.
Was this
answer
helpful?
Yes
No
Tuesday, April 6th, 2021 AT 6:57 PM (Merged)
Tiny
HMAC300
  • MECHANIC
  • 48,601 POSTS
Since this is not factory auto start, have key fob tested to see if it 's any good, auto parts can do this if not that then go to where it was installed to have it tested or a repair place that does those. Also check fuses in car and relays underhood as well as in car
Was this
answer
helpful?
Yes
No
Tuesday, April 6th, 2021 AT 6:57 PM (Merged)
Tiny
LINCOLN T
  • MEMBER
  • 3 POSTS
Thank you for the prompt reply. There are actually two key fob (one is a spare), and I tested both with the same results. Which made me think it was more to do with the car itself. I'll check the fuses and relays underhood as you suggested. Thanks again!
Was this
answer
helpful?
Yes
No
Tuesday, April 6th, 2021 AT 6:57 PM (Merged)
Tiny
KEN L
  • MASTER CERTIFIED MECHANIC
  • 55,322 POSTS
How did things turn out?
Was this
answer
helpful?
Yes
No
Tuesday, April 6th, 2021 AT 6:57 PM (Merged)

Please login or register to post a reply.