ABS module code C0268?

Tiny
TMEX
  • MEMBER
  • 2007 GMC SIERRA
Changing the ABS module. Can't get the module loose any insight / help?
Monday, July 18th, 2011 AT 3:53 AM

11 Replies

Tiny
DANNY L
  • MECHANIC
  • 5,648 POSTS
Hello, I'm Danny.

This video shows the job being done on a similar car but the process is the same. Check out the diagrams (Below). Please let us know if you need anything else to get the problem fixed.

https://youtu.be/lUotkKXG9dY

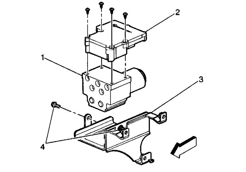
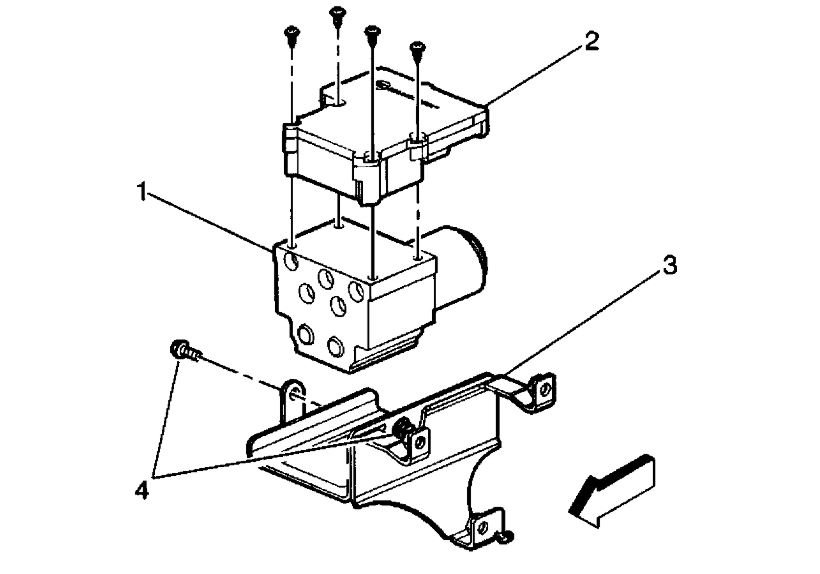
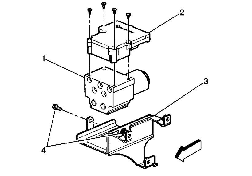
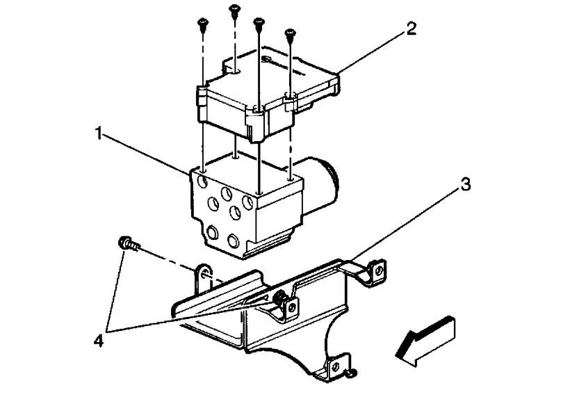
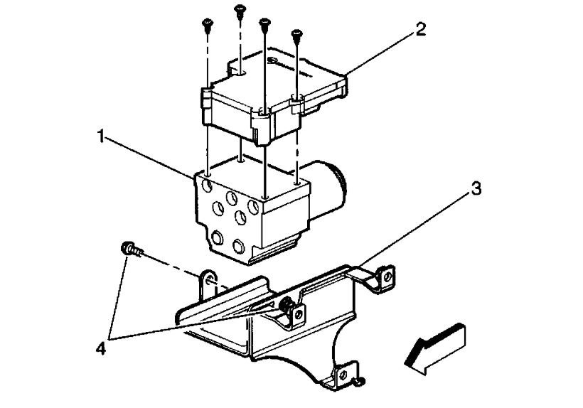
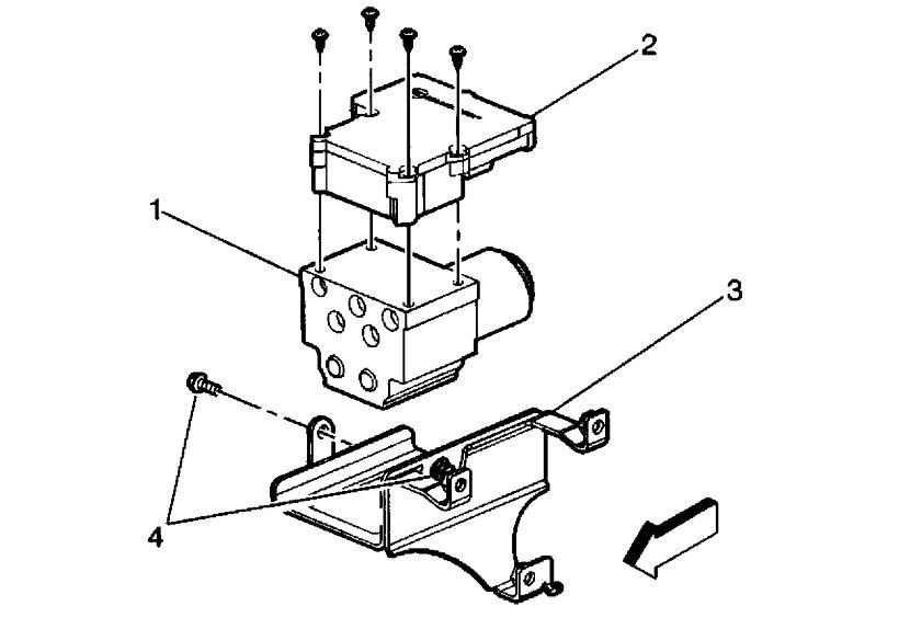
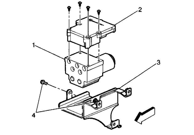
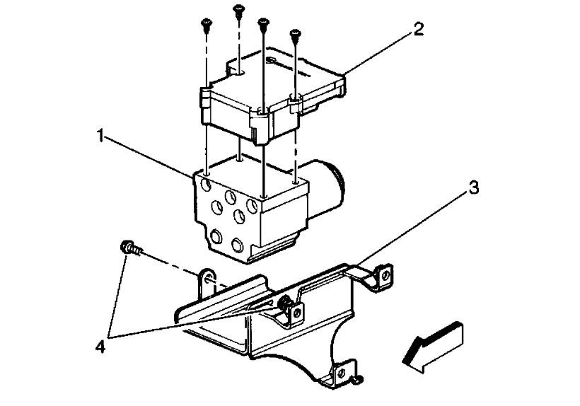
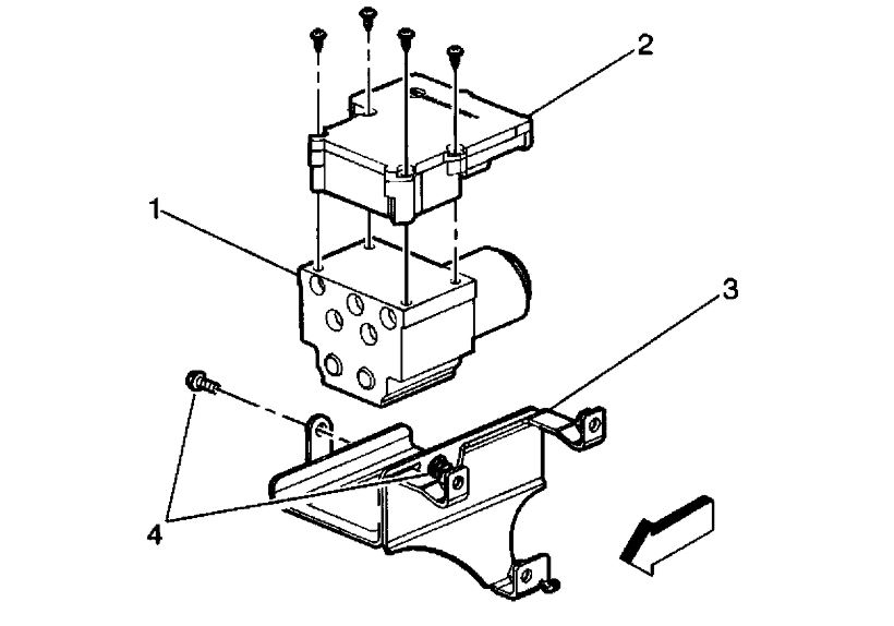
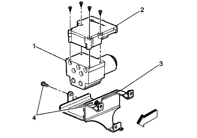
Here is the information you requested. I've attached picture steps below on how to change the abs hydraulic unit- modulator valve on your truck below including brake bleeding instructions. Hope this helps and thanks for using 2CarPros. Check out the diagrams (Below).
Was this
answer
helpful?
Yes
No
+1
Wednesday, March 31st, 2021 AT 9:28 PM
Tiny
BD543
  • MEMBER
  • 1 POST
  • 2002 GMC SIERRA
  • 5.3L
  • V8
  • 2WD
  • AUTOMATIC
  • 198,000 MILES
ABS and brake lights were on. I pulled code C0268 when both were on. I replaced two front hub assemblies with MOOG parts. It did not fix lights. I just recently replaced the ABS control module and the brake light has been removed. However I now currently have the same error code and only the ABS light coming on. What can it be? I am reading BPMV is the next fix. What are your thoughts?
Was this
answer
helpful?
Yes
No
Wednesday, April 14th, 2021 AT 1:42 PM (Merged)
Tiny
CARADIODOC
  • MECHANIC
  • 34,489 POSTS
This fault code refers to the pump motor. The computer monitors feedback voltage on the ground wire when it turns the motor off to determine if the motor is shorted, the circuit is open, or the motor is seized and is not coasting to a stop. You can check the connector terminals for corrosion, but beyond that, you need a dealer-level scanner to perform the diagnostic steps. To add to the misery, a shorted motor can damage the controller. The motor's resistance is supposed to be measured to see if it has shorted, but doing that is not practical. That resistance is supposed to be 0.3 to 1.0 ohms. Your meter's test leads will measure two or three times that much. Even if the motor is shorted, the wiring will have plenty of normal resistance that this test appears to say the motor is fine.

The most accurate way to tell if the motor is shorted is to let the computer figure that out, but if it has been damaged and you replace it, that new computer will likely be damaged too. The safest way is to replace the motor, then if the system still does not work, replace the controller.
Was this
answer
helpful?
Yes
No
+1
Wednesday, April 14th, 2021 AT 1:42 PM (Merged)
Tiny
DJRUSSELP
  • MEMBER
  • 4 POSTS
  • 2001 GMC SIERRA
  • 4.3L
  • V6
  • 2WD
  • MANUAL
  • 210,000 MILES
Hi. I've got a bad ABS control module. Both the "ABS" and "Brake" warning lights have come on intermittently for years and I finally decided to attempt a fix. After checking out a few other boards, I removed the module and attempted to solder some of the problematic joints inside it. All was well when I put it back on for about two weeks, which was far longer than normal. They eventually came back on, however, and I bought a replacement module online. My soldering skills are not exactly top shelf. After installing the new one, the "Brake" light went off but the "ABS" light remained on. Dorman, who I'd bought it from, told me the module was probably bad. I just sent it back for a refund and brought it to my local shop as I was tired of fooling with it. They admitted to being somewhat unfamiliar with the problem as it relates to my vehicle (they'd only done a couple of them), but told me it was indeed bad. They said any replacement should involve bleeding the lines, though, which I'd not yet heard. The guy said both the electronic and hydraulic portions of the module should be replaced. What exactly is he talking about and is this true? I thought I could just replace the electronic portion, fire her up, and get down the road. Thanks ahead of time for any help.
Was this
answer
helpful?
Yes
No
Wednesday, April 14th, 2021 AT 1:42 PM (Merged)
Tiny
ASEMASTER6371
  • MECHANIC
  • 52,796 POSTS
Good afternoon,

He is correct. The entire unit should be replaced together. Then the system needs to be bled out.

The bleeding involves using a scan tool to do the automated bleeding procedure.

Roy

Automated Bleed Procedure

Two Person Procedure

Important:
Use the two-person bleed procedure under the following conditions:
Installing a new Electro-Hydraulic Control Unit (EHCU) or new Brake Pressure Modulator Valve (BPMV)
Air is trapped in the valve body
Do not drive the vehicle until the brake pedal feels firm.
Do not reuse brake fluid that is used during bleeding.
Use the vacuum, the pressure and the gravity bleeding procedures only for base brake bleeding.

1. Raise the vehicle in order to access the system bleed screws.
2. Bleed the system at the right rear wheel first.
3. Install a clear hose on the bleed screw.
4. Immerse the opposite end of the hose into a container partially filled with clean DOT 3 brake fluid.
5. Open the bleed screw 1/2 to one full turn.
6. Slowly depress the brake pedal. While the pedal is depressed to its full extent, tighten the bleed screw.
7. Release the brake pedal and wait 10-15 seconds for the master cylinder pistons to return to the home position.
8. Repeat the previous steps for the remaining wheels. The brake fluid which is present at each bleed screw should be clean and free of air.
9. This procedure may use more than a pint of fluid per wheel. Check the master cylinder fluid level every four to six strokes of the brake pedal in order to avoid running the system dry.
10. Press the brake pedal firmly and run the Scan Tool Automated Bleed Procedure. Release the brake pedal between each test.
11. Bleed all four wheels again using Steps 3-9. This will remove the remaining air from the brake system.
12. Evaluate the feel of the brake pedal before attempting to drive the vehicle.
13. Bleed the system as many times as necessary in order to obtain the appropriate feel of the pedal.
Was this
answer
helpful?
Yes
No
Wednesday, April 14th, 2021 AT 1:42 PM (Merged)
Tiny
DJRUSSELP
  • MEMBER
  • 4 POSTS
Got it. Thanks, Roy. If you'll humor a layman, though, what's the reasoning? I'm definitely seeing folks replace only the electronic component and seemingly fix their problem. Is it an abundance of caution thing, or does the bad control module somehow affect the entire unit? I ask as the price difference between the two is wide, and being that I have 210,000 miles on it, I'm looking to save as much as I can. Also, for what it's worth, the codes it displays are C0265, C0246 and C0281. Thanks again.
Was this
answer
helpful?
Yes
No
Wednesday, April 14th, 2021 AT 1:42 PM (Merged)
Tiny
ASEMASTER6371
  • MECHANIC
  • 52,796 POSTS
The module controls the action of the valves in the hydraulic unit. The issue may be in the hydraulics and the module. That is why I always replace them together.

Roy
Was this
answer
helpful?
Yes
No
Wednesday, April 14th, 2021 AT 1:42 PM (Merged)
Tiny
DOUG TAYLOR
  • MEMBER
  • 2 POSTS
  • 1997 GMC SIERRA
  • 5.7L
  • V8
  • 4WD
  • AUTOMATIC
  • 200,000 MILES
I got a leak in what seems to be a check valve. I cannot find a parts breakdown on this unit. It is the outlet valve that the brake line attaches to that goes to the left front caliper. Can I buy this part, or do I have to buy the whole ABS unit?
Was this
answer
helpful?
Yes
No
Wednesday, April 14th, 2021 AT 1:42 PM (Merged)
Tiny
JIS001
  • MECHANIC
  • 3,412 POSTS
If you are talking about the tube adapters then you may be able to order them if they are still available. If not then the hydraulic unit will need to be replaced.
Was this
answer
helpful?
Yes
No
+1
Wednesday, April 14th, 2021 AT 1:42 PM (Merged)
Tiny
DOUG TAYLOR
  • MEMBER
  • 2 POSTS
Would I get these tube adapters at a GM Parts dept?
Was this
answer
helpful?
Yes
No
Wednesday, April 14th, 2021 AT 1:42 PM (Merged)
Tiny
JIS001
  • MECHANIC
  • 3,412 POSTS
That would be your best bet. They may need to order it if it is still available.
Was this
answer
helpful?
Yes
No
Wednesday, April 14th, 2021 AT 1:42 PM (Merged)

Please login or register to post a reply.