Rear rotor

Tiny
MATTY09
  • MEMBER
  • 2006 BUICK RENDEZVOUS
How do I remove the rear rotor on my car?
Saturday, April 30th, 2011 AT 2:18 PM

1 Reply

Tiny
FIXITMR
  • MECHANIC
  • 9,990 POSTS
Raise and suitably support the vehicle.
Remove the tire and wheel assembly.
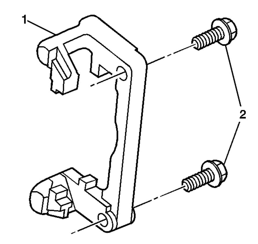
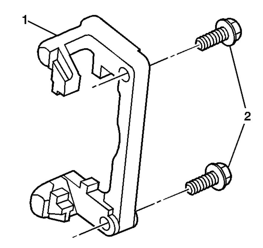
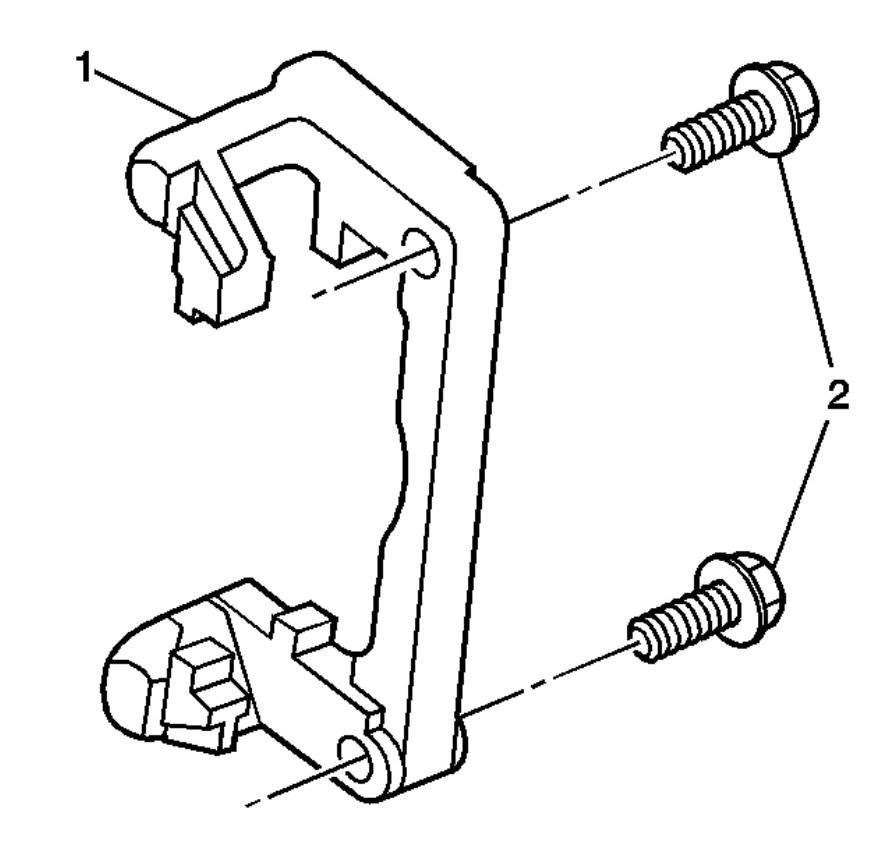
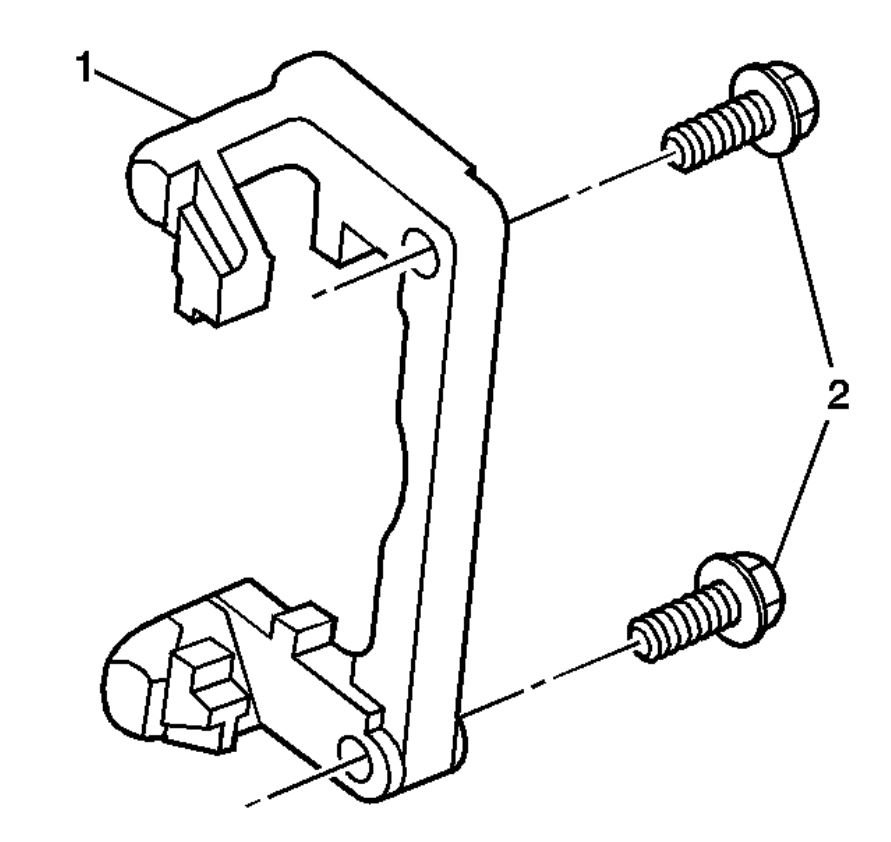
Remove the caliper mounting bolts, then remove the caliper mount bolts (See Diagram at bottom)
NOTE
Support the brake caliper with heavy mechanic wire, or equivalent, whenever it is separated from its mount and the hydraulic flexible brake hose is still connected. Failure to support the caliper in this manner will cause the flexible brake hose to bear the weight of the caliper, which may cause damage to the brake hose and in turn may cause a brake fluid leak.
Remove and support the caliper and bracket as an assembly with heavy mechanics wire. DO NOT disconnect the hydraulic flexible brake hose.
Remove the brake rotor. Sometimes they will stick (rust) to the flange, you may need to gently tap on the rotor with a non-metallic object so as not to damage the rotor
WARNING
When a brake rotor has been separated from a hub/axle flange, the mating surface of the brake rotor must be cleaned of any rust or contaminants. Failure to do this may result in lateral runout of the brake rotor, and brake pulsation.
If the brake rotor is to be reinstalled to the vehicle.
Was this
answer
helpful?
Yes
No
-1
Friday, March 19th, 2021 AT 10:35 AM

Please login or register to post a reply.