Wednesday, February 25th, 2015 AT 3:13 AM
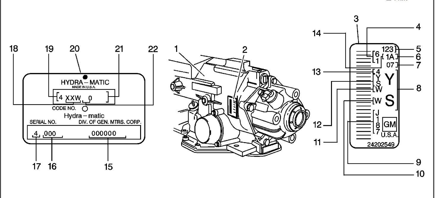
I need to figure out the gear ratio for my transmission so I can buy the correct one. How do I know what the ratio is or how can I find out?

