How to replace seat adjustment switch on Mazda

Tiny
FERG
  • MEMBER
  • 2004 MITSUBISHI
  • 87,000 MILES
Can't seem to remove the bezel
Saturday, February 18th, 2012 AT 5:15 PM

2 Replies

Tiny
HMAC300
  • MECHANIC
  • 48,601 POSTS
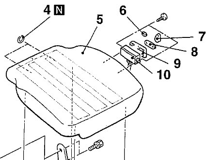
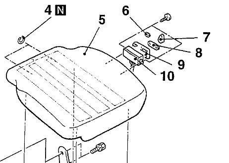
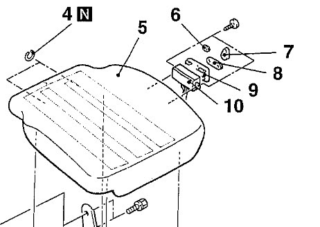
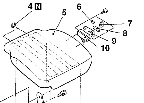
The picture i've included is from a diamante as you didn't pt what model you have. It looks like you just take the one screw out and push the siwtch towards the screw and it should come out.
Was this
answer
helpful?
Yes
No
Saturday, February 18th, 2012 AT 5:49 PM
Tiny
HMAC300
  • MECHANIC
  • 48,601 POSTS
I see it's amaza not a mitsubishi, what year is it and what model the diagram I sent is worng for a mozda
Was this
answer
helpful?
Yes
No
Saturday, February 18th, 2012 AT 5:50 PM

Please login or register to post a reply.