How to change brake light switch

Tiny
CDRUMMER
  • MEMBER
  • 2003 FORD EXPEDITION
Brake lights won't come on. How do you change the brake light switch
Wednesday, February 23rd, 2011 AT 5:59 AM

1 Reply

Tiny
RASMATAZ
  • MECHANIC
  • 75,992 POSTS
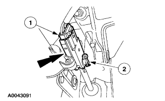
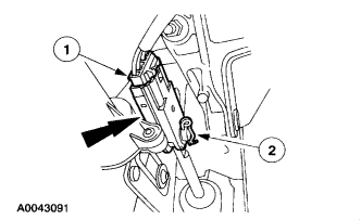
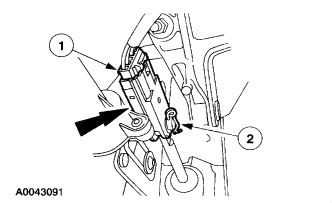
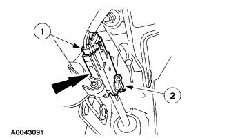
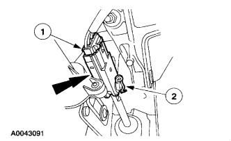
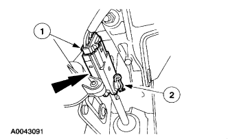
BRAKE PEDAL POSITION (BPP) SWITCH
REMOVAL
Disconnect the battery ground cable.
Remove the BPP switch.
1 Disconnect the electrical connector.
2 Remove the self-locking pin and the BPP switch.
Was this
answer
helpful?
Yes
No
Wednesday, February 23rd, 2011 AT 6:30 AM

Please login or register to post a reply.