Blower motor does not blow air

Tiny
YODERCAPT
  • MEMBER
  • 2003 ACURA TL
  • 3.2L
  • 6 CYL
  • 2WD
  • AUTOMATIC
  • 106,000 MILES
The control works with the ignition on, but does not blow air
Sunday, August 24th, 2014 AT 9:11 AM

1 Reply

Tiny
FREEMBA
  • MECHANIC
  • 1,152 POSTS
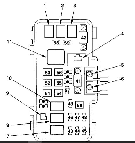
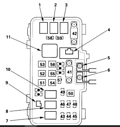
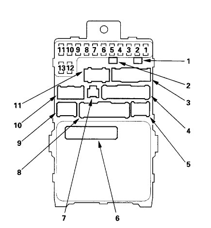
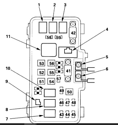
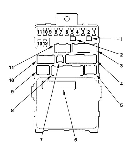
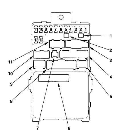
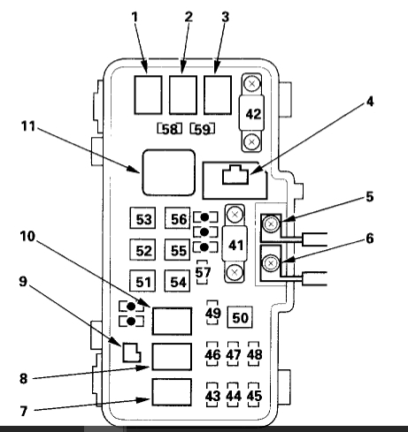
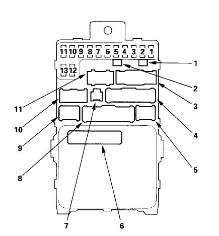
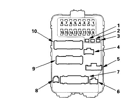
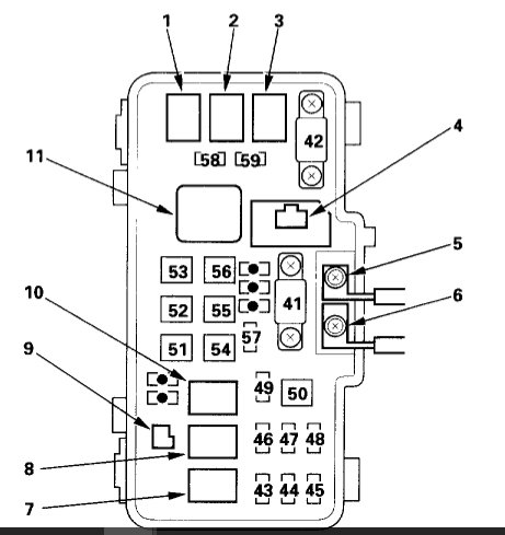
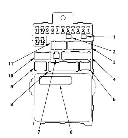
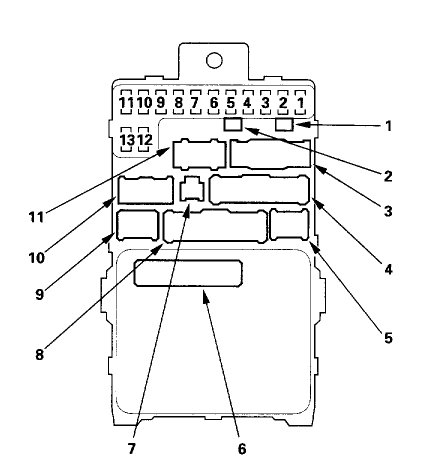
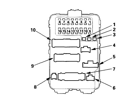
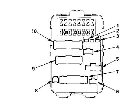
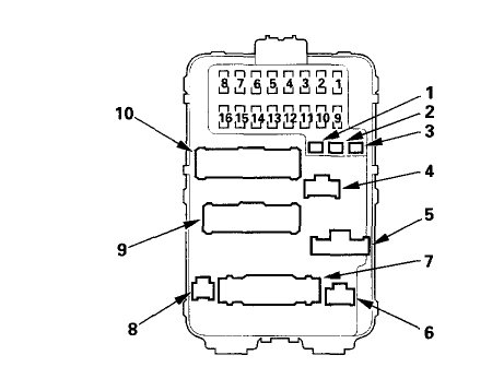
Check fuse #13 (7.5A) in the passenger side fuse/repay box (behind right end of dash).
With the ignition switch ON and a/c fan set on high, check for power at the YEL/BLK wire at the blower motor. If no power is there, switch the BLOWER MOTOR RELAY with an identical relay (usually one is located in the same fuse/relay box). If the blower now works, the relay is bad. Also check fuse #59 (20A) and fuse #55 (40A). Let me know how it goes.

https://www.2carpros.com/articles/how-to-check-a-car-fuse

Check out the diagrams (Below). Please let us know what happens.
Was this
answer
helpful?
Yes
No
Monday, April 26th, 2021 AT 12:01 PM

Please login or register to post a reply.