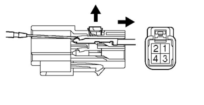
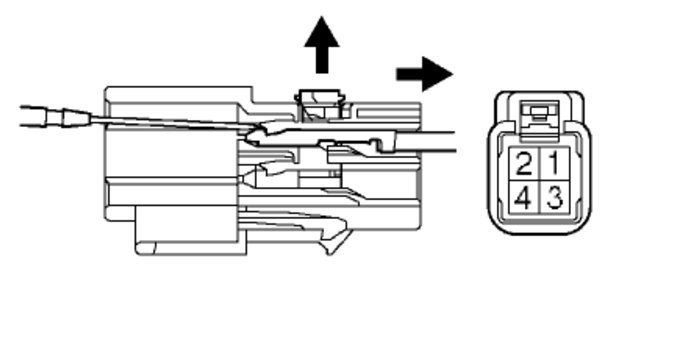
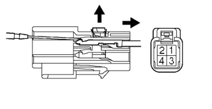
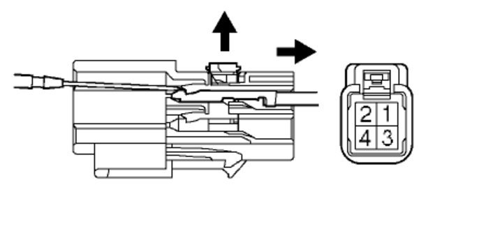
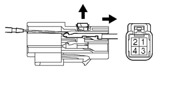
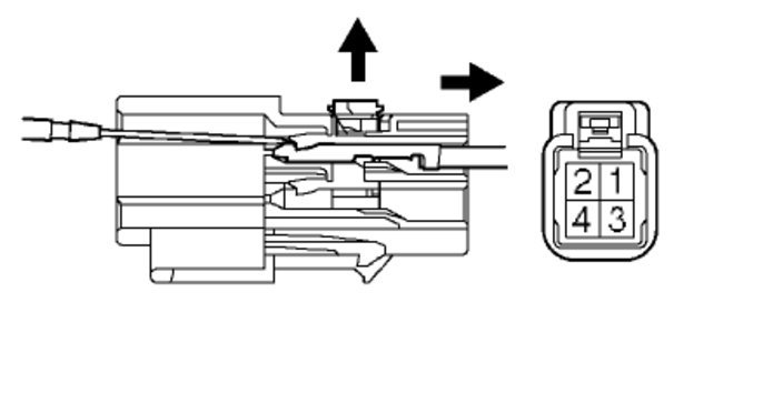
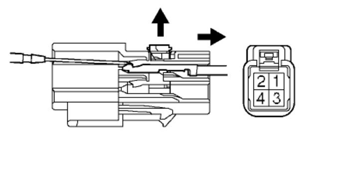
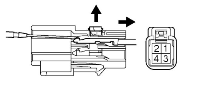
I have everything apart, I just can't get the switch to turn to the ACC position so I can depress the pin release on the bottom of the ignition switch casing to remove the defective switch. Is there a trick to this or is there something I might have to drill out?
How do I tell if I have the factory security system? Thanks so far, I'm tied up with looking after a parent with Alzheimer's disease so my time for troubleshooting is limited.
I've used penetrant/cleaners, and good quality lubricants (mostly light grade electrical or silicon). I've also used some watch screwdrivers on the top and bottom of the keyway to try to loosen any of the actuators all to no avail. The keys didn't stop working all at once but gave me progressively more trouble until they didn't work at all. Someone mentioned drilling out the release pin but also said there could be trouble when install a new switch. Any more ideas? Your help will be greatly appreciated.
Thanks,
Jim
Wednesday, March 16th, 2011 AT 5:44 AM



















