My front heater does not work

Tiny
ANONYMOUS
  • MEMBER
  • 2002 KIA SEDONA
  • 18,500 MILES
My front heater does not work. My blower does and back heater works but cant get heat to front. What do I look for.
Saturday, November 17th, 2012 AT 9:38 AM

2 Replies

Tiny
HMAC300
  • MECHANIC
  • 48,601 POSTS
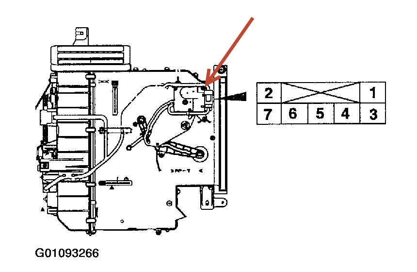
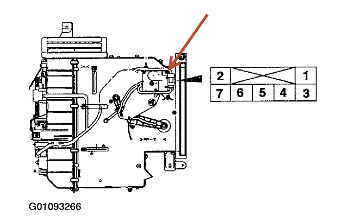
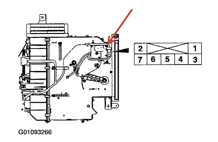
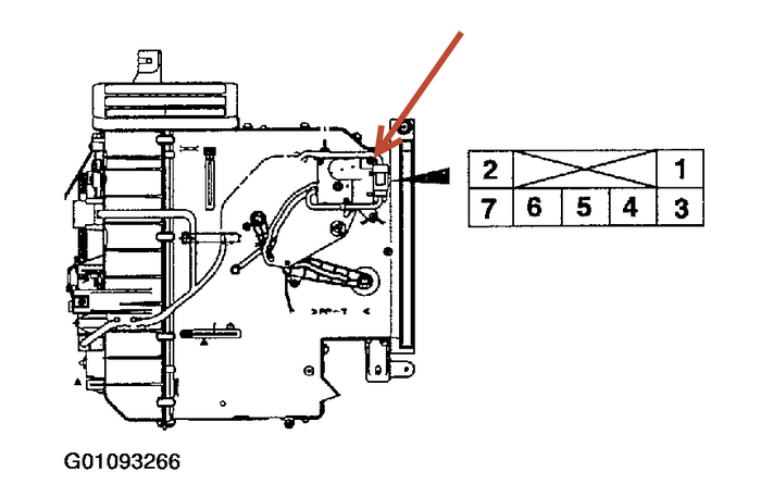
Make sure both oses going to front heater are hot. Then check to see if your actuator is working or getting power. You may need to have it scanned to see if control unit is sending power or not.
Was this
answer
helpful?
Yes
No
Saturday, November 17th, 2012 AT 1:52 PM
Tiny
GEORGEJANCZAK
  • MEMBER
  • 5 POSTS
Check radiator not overflow level fill up and see if it helps.
Was this
answer
helpful?
Yes
No
Sunday, January 27th, 2013 AT 10:27 PM

Please login or register to post a reply.