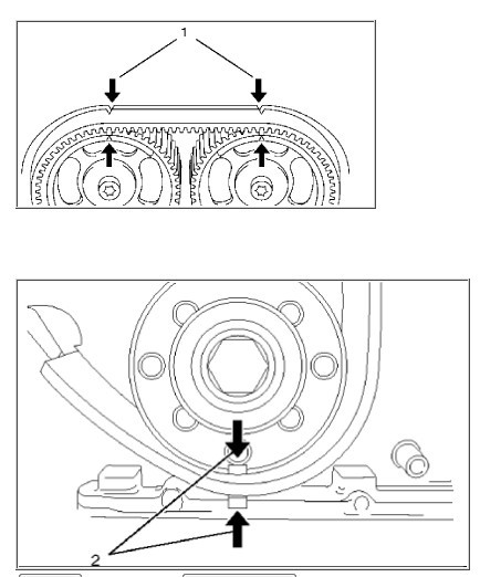
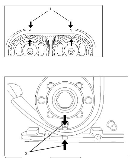
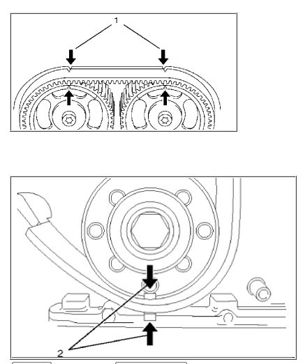
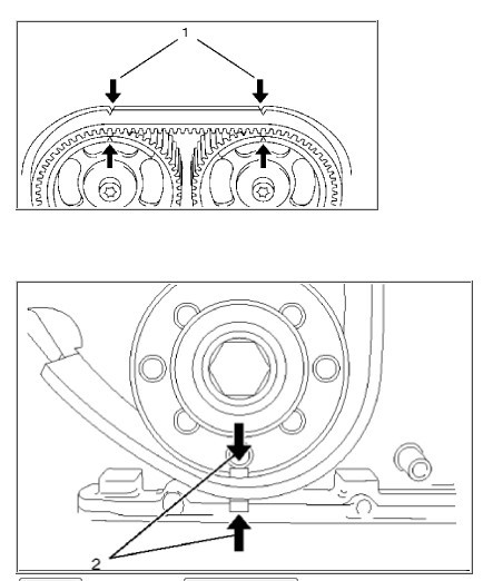
Camshaft marks

Tiny
DOCFIXIT
  • MECHANIC
  • 18,828 POSTS
#6 don't loosen it is spring loaded wrench on bolt push down to release spring tension
Was this
answer
helpful?
Yes
No
Tuesday, October 2nd, 2018 AT 10:07 AM (Merged)
Tiny
MILLER1949
  • MEMBER
  • 3 POSTS
RODEO LS/XS
ENGINE 3.2 L V6 MPI DOHC
Was this
answer
helpful?
Yes
No
Tuesday, October 2nd, 2018 AT 10:07 AM (Merged)
Tiny
MHPAUTOS
  • MECHANIC
  • 31,937 POSTS
My last response is not showing up, did you see it? Not sure if you got it and if you need further assistance.
Was this
answer
helpful?
Yes
No
Tuesday, October 2nd, 2018 AT 10:07 AM (Merged)
Tiny
MHPAUTOS
  • MECHANIC
  • 31,937 POSTS
Ok
Was this
answer
helpful?
Yes
No
Tuesday, October 2nd, 2018 AT 10:07 AM (Merged)
Tiny
MICHAELGOOSE412
  • MEMBER
  • 5 POSTS
  • 2001 ISUZU RODEO
  • 4 CYL
  • 2WD
  • AUTOMATIC
  • 130,000 MILES
I am trying to set the timing on a 2001 isuzu rodeo 2.2 dohc. The diagram doesn't accuratly show the timing marks, which way should I be lining them up? There is 1 mark on intake cam gear and 2 marks on the exhaust cam gear along with the single mark on the harmonic balancer.
Was this
answer
helpful?
Yes
No
-2
Tuesday, October 2nd, 2018 AT 10:07 AM (Merged)
Tiny
WRENCHTECH
  • MECHANIC
  • 20,761 POSTS
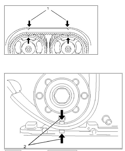
Here are the marks
Was this
answer
helpful?
Yes
No
+5
Tuesday, October 2nd, 2018 AT 10:07 AM (Merged)
Tiny
MICHAELGOOSE412
  • MEMBER
  • 5 POSTS
Yep that is the diagram I have got. Like I stated before there are 2 marks on the exhuast cam and 1 mark on the intake cam. Which mark goes where? The picture only shows 1 mark on each cam but there are 2 on the exhuast cam.
Was this
answer
helpful?
Yes
No
-2
Tuesday, October 2nd, 2018 AT 10:07 AM (Merged)
Tiny
WRENCHTECH
  • MECHANIC
  • 20,761 POSTS
The marks should appear different. There is actually only one timing mark on each pulley. The other mark must be something else.
Was this
answer
helpful?
Yes
No
-1
Tuesday, October 2nd, 2018 AT 10:07 AM (Merged)
Tiny
MICHAELGOOSE412
  • MEMBER
  • 5 POSTS
Okay thank you. There is a mark on each cam gear that are similar, will try that when the kiddo take a nap and let you know what I find.
Was this
answer
helpful?
Yes
No
-2
Tuesday, October 2nd, 2018 AT 10:07 AM (Merged)
Tiny
JAIME88
  • MEMBER
  • 3 POSTS
  • 2000 ISUZU RODEO
  • 3.2L
  • 6 CYL
  • 4WD
  • AUTOMATIC
  • 165,000 MILES
The timing belt keeps on snapping so I am having problems in the alignment.
Was this
answer
helpful?
Yes
No
Tuesday, October 2nd, 2018 AT 10:07 AM (Merged)
Tiny
MICHAELGOOSE412
  • MEMBER
  • 5 POSTS
Ok thank you very much I think I got it but it still running roughly and I am getting a misfire on cylinder 3. I have replaced the spark plugs, wires and coil pack. Still getting a misfire on cylinder 3. If it helps we noticed a valve cover leak when replacing the timing belt and idler rollers for the timing belt. The spark plug were just sitting in oil so we soaked up what we could pulled the spark plugs and let remaining oil drain over the pistons (yes I know it isn't the smartest thing to do but there was alot.). Then we left the plugs out and turned over the engine to blow any oil out the top. Any suggestions?
Was this
answer
helpful?
Yes
No
Tuesday, October 2nd, 2018 AT 10:07 AM (Merged)
Tiny
HMAC300
  • MECHANIC
  • 48,601 POSTS
Try using a straight edge to the align pulleys and tensioners. I suggest using a kit for this when replacing belt.
Was this
answer
helpful?
Yes
No
Tuesday, October 2nd, 2018 AT 10:07 AM (Merged)
Tiny
WRENCHTECH
  • MECHANIC
  • 20,761 POSTS
Do a compression test and make sure that plug didn't get fouled by the oil.
Was this
answer
helpful?
Yes
No
Tuesday, October 2nd, 2018 AT 10:07 AM (Merged)
Tiny
JAIME88
  • MEMBER
  • 3 POSTS
How do I do the timing on the truck again with a diagram timing? I lost it.
Was this
answer
helpful?
Yes
No
Tuesday, October 2nd, 2018 AT 10:07 AM (Merged)
Tiny
MICHAELGOOSE412
  • MEMBER
  • 5 POSTS
Trying to get ahold of a tool to do compression test. While waiting on that I swapped 3rd plug for 1st plug. Checked all plugs, cleaned (weren't dirty) and reinstalled the plugs. Pulled the connector to coil pack tested with volt meter with ignition in the "ON" position read 12, 0.04.04. Tested fuel pressure on fuel rail (40PSI not running, ignotion in on position.

Since I didn't have the cam gear locking tool when we set the timing I am also trying to locate one of those and setting the timing again to "BE SURE". Won't be able to do much until Monday so I will let you know what I find. Thanks!
Was this
answer
helpful?
Yes
No
Tuesday, October 2nd, 2018 AT 10:07 AM (Merged)
Tiny
HMAC300
  • MECHANIC
  • 48,601 POSTS
There is too much to copy for this and this has a tsb that must be followed in order to properly align cams. Also this is an interference engine so check for bent valves as it may still not run after fixing it. I really suggest renting a manual so you can print the tsb steps out to do this work so it is done correctly. It can be rented from this site so you can print it out and have it available for a week.
Was this
answer
helpful?
Yes
No
Tuesday, October 2nd, 2018 AT 10:07 AM (Merged)
Tiny
WRENCHTECH
  • MECHANIC
  • 20,761 POSTS
The cam locking tool merely assists you in getting the belt on. If the belt is already on, then simply check the timing marks. The tool isn't needed unless you have to remove the belt all over again.
Was this
answer
helpful?
Yes
No
+1
Tuesday, October 2nd, 2018 AT 10:07 AM (Merged)
Tiny
JAIME88
  • MEMBER
  • 3 POSTS
Online pages available for this type of manual?
Was this
answer
helpful?
Yes
No
Tuesday, October 2nd, 2018 AT 10:07 AM (Merged)
Tiny
HMAC300
  • MECHANIC
  • 48,601 POSTS
They should be, but you have to follow the tsb to get it right some may not have the tsb in it.
Was this
answer
helpful?
Yes
No
Tuesday, October 2nd, 2018 AT 10:07 AM (Merged)
Tiny
BECKY SIMMONS PITT
  • MEMBER
  • 2 POSTS
  • 2004 ISUZU RODEO
  • 3.5L
  • V6
  • 4WD
  • AUTOMATIC
  • 95 MILES
This is for 3.5L V6 DOHC 6VE1DI
I bought new timing belt and new camshaft and I cannot find the specs anywhere. My goal is to find a diagram that show the marks on the cam and the crankshaft.
Was this
answer
helpful?
Yes
No
Tuesday, October 2nd, 2018 AT 10:07 AM (Merged)

Please login or register to post a reply.