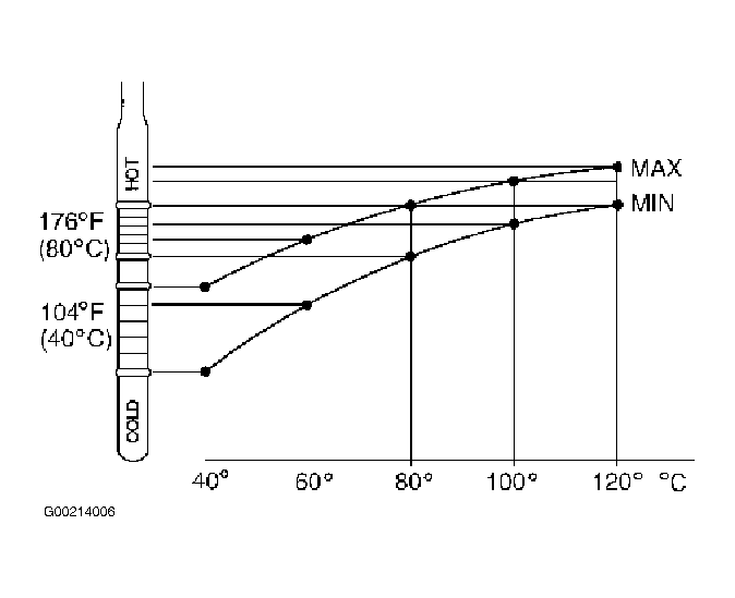
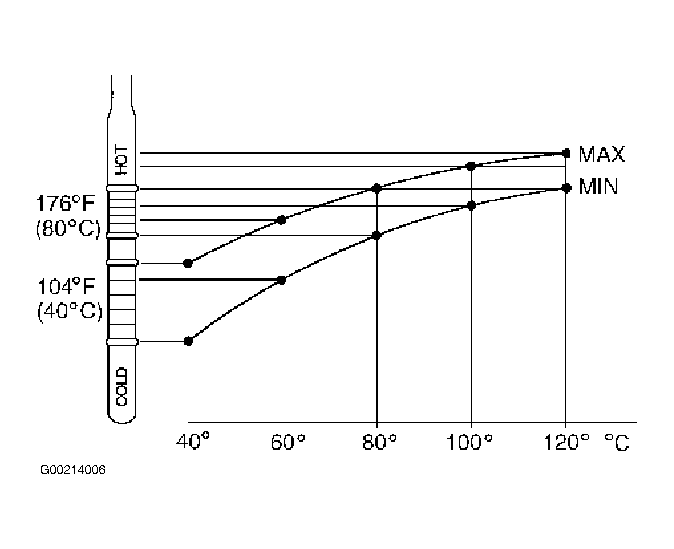
After having all the fluid replaced by Volvo agents Checking level and finding oil above hot mark from stationary. Then downloading transmission level instructions from Volvo manual. Agents tell me fluid should be checked with engine running but manual disagrees. I think my transnmision is running hot causing a smell and lumpy gear change through being overfilled.I took it back and was assured and shown that whilst ticking over the level was right. But why when cold is the fluid above the hot mark. My question is at what level should the fluid be when cold
I have read the manual instructions on topping up but they are not very clear. As being too full causes a lot of damage I need to know but can not go back to Agents.I NEED A SECOND OPINION
Thanks
Bob M
Friday, January 21st, 2011 AT 7:15 PM



