Heater not working?

Tiny
CHUCKMALLORY
  • MEMBER
  • 9 POSTS
The car only got a little warm when the A/C on and going up a large hill. Turn the A/C off when you started up a hill hard to believe it did not overheat all the time it is driven two and half hours one way to work on Tuesday then the same on Thursday coming home for the last two years. (Never overheated) (Unbelievable) Now can you tell me how to test a ambient temperature sensor the one inside the dash? Thank you!
Was this
answer
helpful?
Yes
No
Tuesday, November 3rd, 2020 AT 10:59 AM (Merged)
Tiny
STEVE W.
  • MECHANIC
  • 15,671 POSTS
Most of the older vehicles were simple, Slide a lever and the cable moved the air door so air went through a soldered brass and copper heater core and a heater control valve opened to let hot coolant through the system.
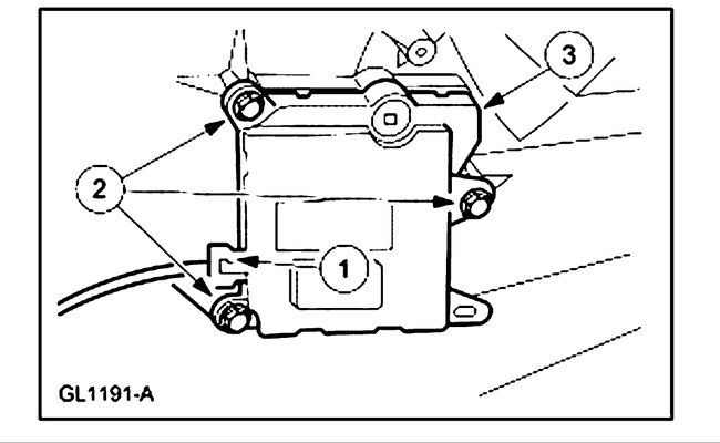
Yours is not quite as bad as the high tech ones but it uses vacuum to move most of the doors. The blend door that controls the heat is electronic and buried under the dash behind the airbag module in the center of the dash.
To get to it you pull the negative battery cable. Next remove the console if it has one, then remove the floor duct. Next you remove the two braces and the air bag module.
Now if it has the rear seat heat duct you need to cut the duct and fold it back out of the way. Now remove the floor duct adapter and behind it you will find the actuator.
Replace that and work your way back out. Fold the heat duct back into place and use a large zip tie to hold it in place.
Was this
answer
helpful?
Yes
No
+2
Tuesday, November 3rd, 2020 AT 10:59 AM (Merged)
Tiny
KEN L
  • MASTER CERTIFIED MECHANIC
  • 55,266 POSTS
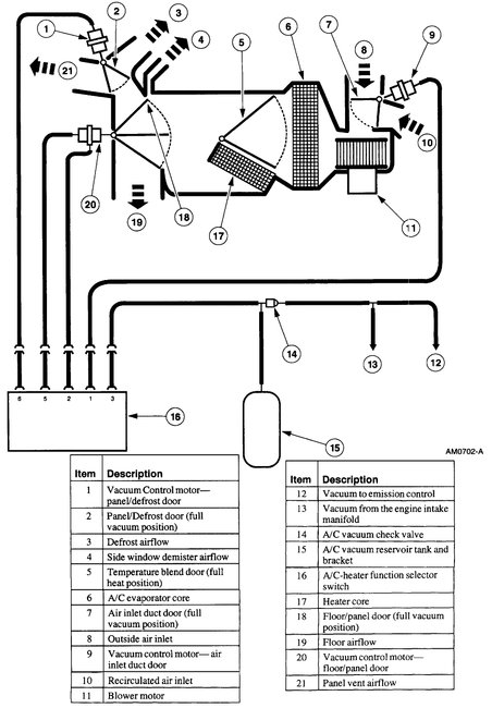
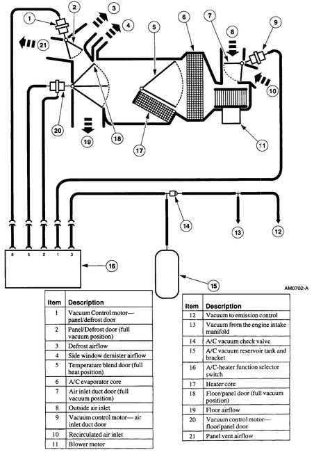
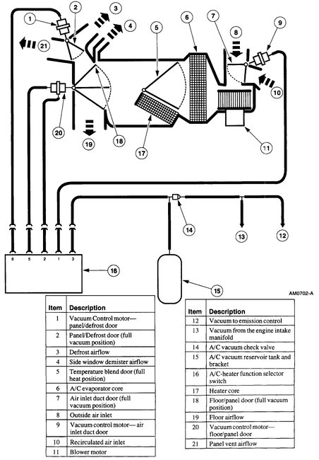
They are not giving how to test it just how to replace it, here are diagrams to help. Check out the diagrams (below). Please let us know what you find.
Was this
answer
helpful?
Yes
No
Tuesday, November 3rd, 2020 AT 10:59 AM (Merged)
Tiny
DIGGER DAVE
  • MEMBER
  • 6 POSTS
Everything I have looked at says the blend door is right under the glove compartment covered with a "box", which is already loose. It is thirty three degrees out right now and I am not too excited about exploring it, maybe in a couple of hours. From what I understand, if there is heat to the back (which I forgot to check) and not the front then it is that blend door.
Was this
answer
helpful?
Yes
No
Tuesday, November 3rd, 2020 AT 10:59 AM (Merged)
Tiny
CHUCKMALLORY
  • MEMBER
  • 9 POSTS
Okay, heater core is out and new one in. Now putting the dash back together. Here is a tip if you are replacing the heater core when your in the heater box if you cut the metal lines with a hacksaw then pull them through the fire wall it make it a lot easier to remove the hoses from the old core. You do not have to open the A/C system. I was able to do my without opening any lines.
Was this
answer
helpful?
Yes
No
Tuesday, November 3rd, 2020 AT 10:59 AM (Merged)
Tiny
DIGGER DAVE
  • MEMBER
  • 6 POSTS
Okay, so the other information was bogus or the plenum door is under a second box, sheesh. I do have warm air in the rear, but ice cold in the front. I cannot even see where the hoses at the firewall connect to the core. Can I pull them off at the front and still flush? There are a couple of "T's" in the line that I have no idea where they go except down. I am sixty three and the less wrestling I have to do the better off I will be.
Thanks for all your help, I am trying to avoid shop charges.
Was this
answer
helpful?
Yes
No
Tuesday, November 3rd, 2020 AT 10:59 AM (Merged)
Tiny
KEN L
  • MASTER CERTIFIED MECHANIC
  • 55,266 POSTS
Nice! Good job on not having the remove the heater box, have not seen that done before. Let me know how it goes, thanks for the pictures. :)
Was this
answer
helpful?
Yes
No
Tuesday, November 3rd, 2020 AT 10:59 AM (Merged)
Tiny
MARTDEB
  • MEMBER
  • 1 POST
  • 1999 LINCOLN NAVIGATOR
  • 6 CYL
  • 2WD
  • AUTOMATIC
  • 180,000 MILES
My car does not heat in front only in back. Can you please help?
Was this
answer
helpful?
Yes
No
Tuesday, November 3rd, 2020 AT 10:59 AM (Merged)
Tiny
HMAC300
  • MECHANIC
  • 48,601 POSTS
It might be blend door actuator but because you have automatic temperature control you have to scan for codes to see what is causing it or not. A mechanic has to do it. You can try pulling fuse for sixty seconds with key on then reinstall it may reset it.
Was this
answer
helpful?
Yes
No
-1
Tuesday, November 3rd, 2020 AT 10:59 AM (Merged)
Tiny
STEVE W.
  • MECHANIC
  • 15,671 POSTS
Okay, lets reset a bit. Do you have the auxiliary rear heater with independent controls or just heat ducts to the rear?
Was this
answer
helpful?
Yes
No
Tuesday, November 3rd, 2020 AT 10:59 AM (Merged)
Tiny
CHUCKMALLORY
  • MEMBER
  • 9 POSTS
All back together and glad to report, all is well heater gets good and hot. Now if I could only get the sirius radio working again that would be great.
Was this
answer
helpful?
Yes
No
+1
Tuesday, November 3rd, 2020 AT 10:59 AM (Merged)
Tiny
DIGGER DAVE
  • MEMBER
  • 6 POSTS
It has the auxiliary rear heater with independent controls. Right now that is the only thing that is keeping me somewhat warm.
Was this
answer
helpful?
Yes
No
Tuesday, November 3rd, 2020 AT 10:59 AM (Merged)
Tiny
KEN L
  • MASTER CERTIFIED MECHANIC
  • 55,266 POSTS
Glad you could get it fixed, that kind of problem can be tough. Please use 2CarPros anytime we are here to help.

Please post your new question here, you must be logged in.

https://www.2carpros.com/questions/new

Cheers, Ken
Was this
answer
helpful?
Yes
No
Tuesday, November 3rd, 2020 AT 10:59 AM (Merged)
Tiny
STEVE W.
  • MECHANIC
  • 15,671 POSTS
Okay then the information I posted should be correct for the front heater. None of them make it real easy anymore. There are days I would love to play wack-a-mole with the guys who designed these things.
Was this
answer
helpful?
Yes
No
Tuesday, November 3rd, 2020 AT 10:59 AM (Merged)
Tiny
DIGGER DAVE
  • MEMBER
  • 6 POSTS
Yeah I hear that. I am going to try to flush it first somehow, if that does not work then it is off to the shop. Thank you.
Was this
answer
helpful?
Yes
No
Tuesday, November 3rd, 2020 AT 10:59 AM (Merged)
Tiny
DANNY CRUZ2
  • MEMBER
  • 3 POSTS
  • 1999 LINCOLN NAVIGATOR
  • V8
  • 2WD
  • AUTOMATIC
  • 200,000 MILES
My heater doesn't work in the front only blows out cold air, but works in the back.
Was this
answer
helpful?
Yes
No
Tuesday, November 3rd, 2020 AT 10:59 AM (Merged)
Tiny
WRENCHTECH
  • MECHANIC
  • 20,761 POSTS
With the engine at full operating temp, locate the 2 heater hoses where they go into the firewall and feel them to see if they are both hot to the touch. If they are both hot, the heat in that vehicle is controlled by a blend door that regulates heated air flow. It is operated by an electric motor/actuator. The problem can be that the actuator is stripped or inoperative or the door itself could be damaged. This is what needs to be determined by examining the actuator and see if it is responding to heat change commands or not.
Was this
answer
helpful?
Yes
No
+1
Tuesday, November 3rd, 2020 AT 10:59 AM (Merged)
Tiny
DANNY CRUZ2
  • MEMBER
  • 3 POSTS
The friewall inside the truck or in the hood
Was this
answer
helpful?
Yes
No
Tuesday, November 3rd, 2020 AT 10:59 AM (Merged)
Tiny
WRENCHTECH
  • MECHANIC
  • 20,761 POSTS
In the engine compartment is the only place you have access to those lines.
Was this
answer
helpful?
Yes
No
+1
Tuesday, November 3rd, 2020 AT 10:59 AM (Merged)
Tiny
DANNY CRUZ2
  • MEMBER
  • 3 POSTS
So if they're both working I need a actuator
Was this
answer
helpful?
Yes
No
Tuesday, November 3rd, 2020 AT 10:59 AM (Merged)

Please login or register to post a reply.