Thursday, June 29th, 2023 AT 11:06 PM
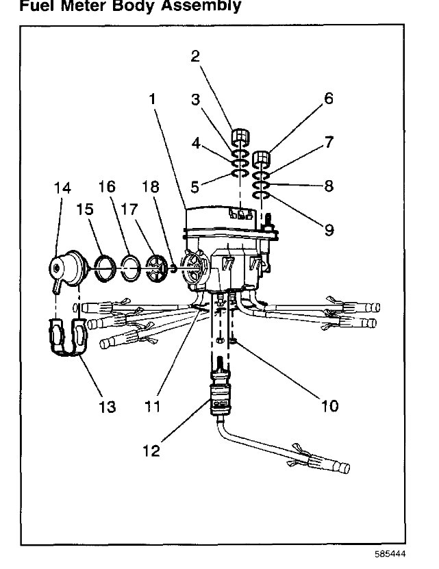
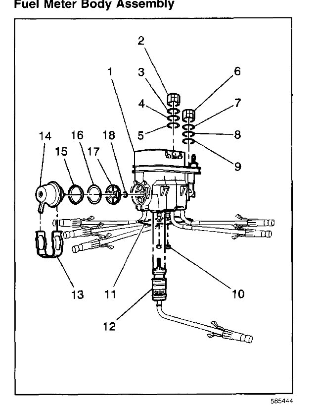
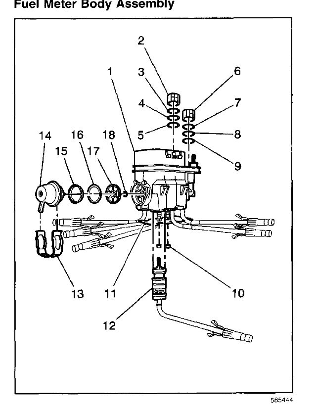
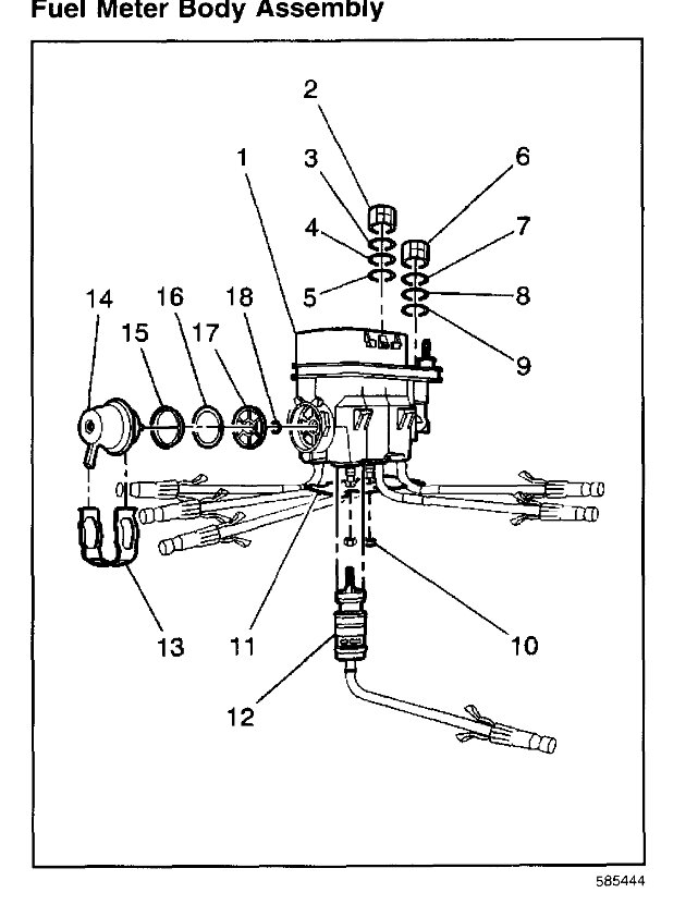
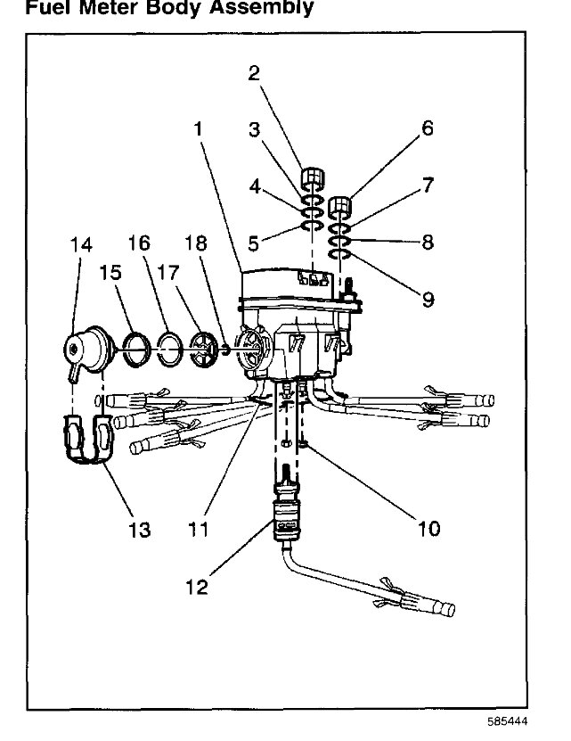
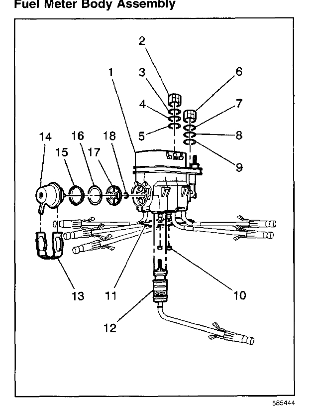
My 2000 chevy blazer 4.3l was recently stolen and recovered the Ignition cylinder was damaged with a screw driver. Also the battery was stolen the battery cables were cut at the battery. Gas tank was punctured. Fuses and relays were removed and and missing under the hood. Last but not least the catalytic converters were stolen along with the rear 02 sensor. Since then I have replaced the battery and cables. Sealed the punctured tank filled with gas, and replaced the ignition housing and lock cylinder. I went thru the relearn process for the passlock. It seemed to work just fine turned it off and restarted it about 3 or 4 times that night. The next morning I loaded up all the parts to take to the muffler shop and it was very hard to start and when it does it misfires bad. I’ve checked fuel pressure 60lbs. Changed the cap and rotor I have spark but seems like the injectors are not giving the engine fuel in my opinion. I no longer have the security light so I’m not sure what’s going on. Thinking of trying to order another ignition housing and cylinder. Please help.





















