Thursday, December 29th, 2011 AT 1:00 AM
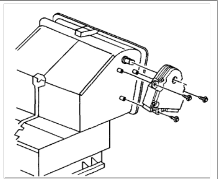
How do I get to the air blend door/actuator to see if it is my problem. The air flow is great when climate control is in the cold position, but when I turn it to the hot position the air flow is less.










