Where is the cooling fan relay located?

Tiny
FDUKES
  • MEMBER
  • 1998 OLDSMOBILE ACHIEVA
  • 118,000 MILES
The engine cooling does'nt come. The fan works but won't come on when engine gets hot.
Saturday, March 17th, 2012 AT 6:17 PM

4 Replies

Tiny
FIXITMR
  • MECHANIC
  • 9,990 POSTS
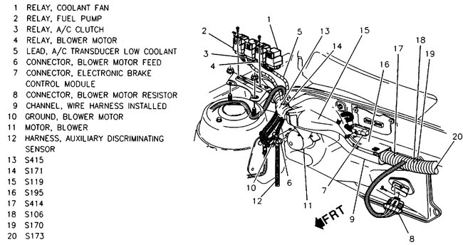
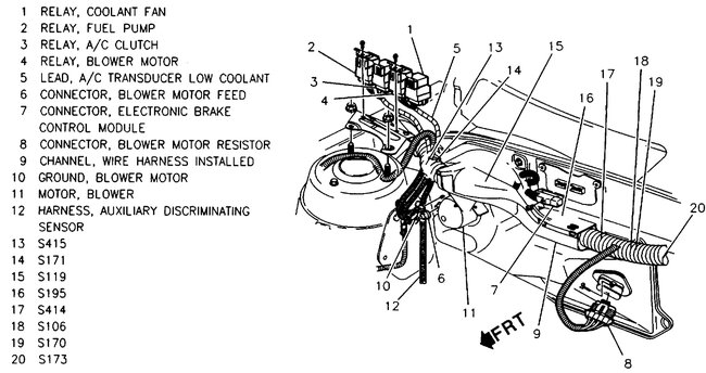
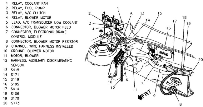
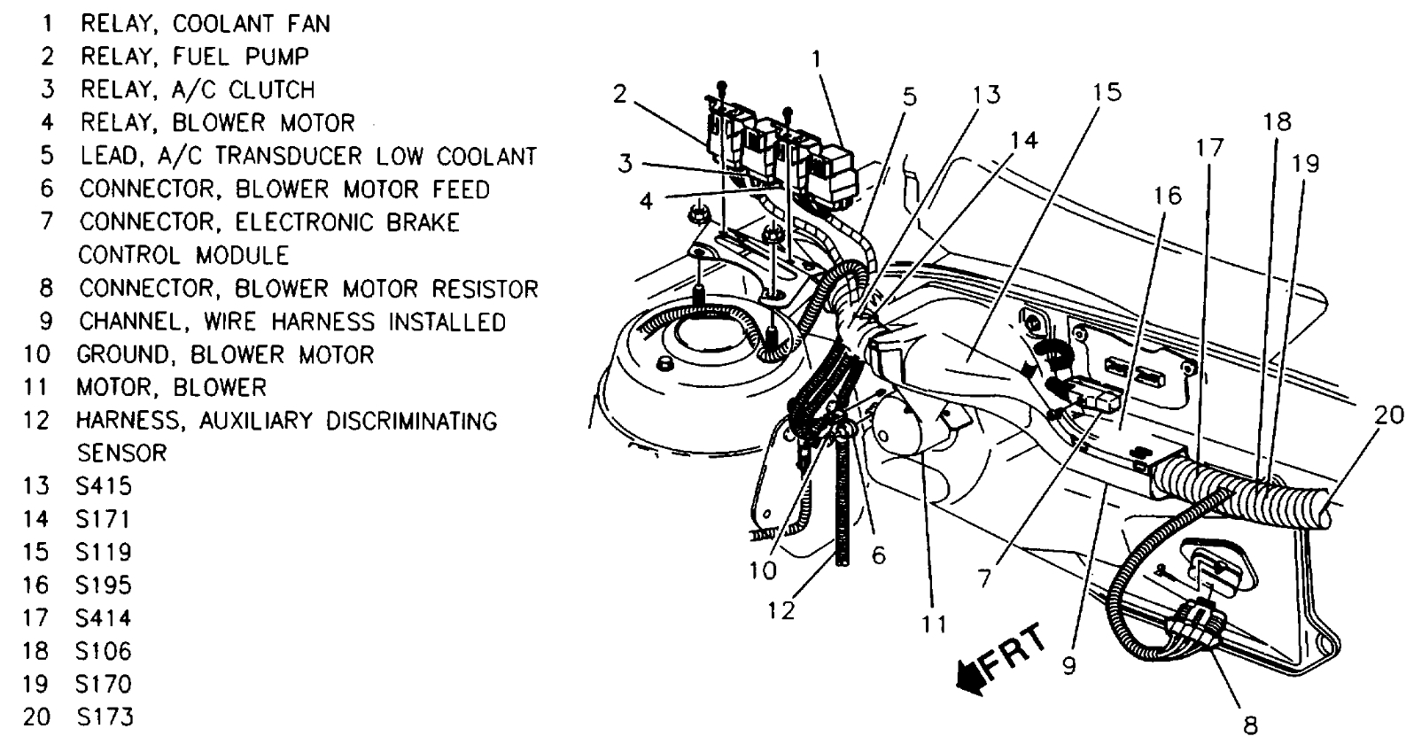
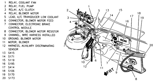
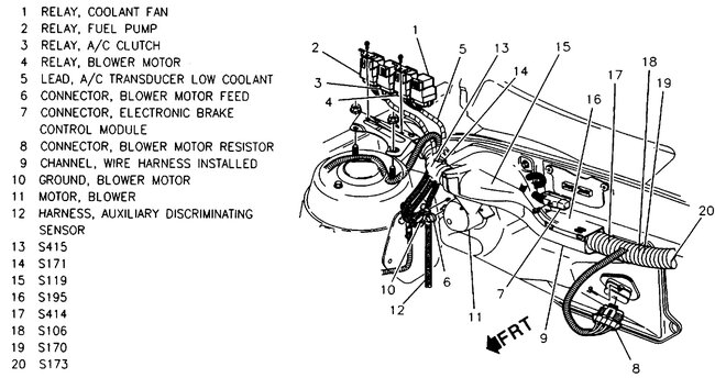
The cooling fan motor relay is on the passengers side near the shock tower, check out the images below for eh location and I have included a guide to help check the relay.

https://www.2carpros.com/articles/how-to-check-an-electrical-relay-and-wiring-control-circuit

Check out the images (Below). Please let us know what you find.

Was this
answer
helpful?
Yes
No
Saturday, March 17th, 2012 AT 6:44 PM
Tiny
FIXITMR
  • MECHANIC
  • 9,990 POSTS
Up by windshield passenger side under hood.
Was this
answer
helpful?
Yes
No
-1
Saturday, March 17th, 2012 AT 6:46 PM
Tiny
FDUKES
  • MEMBER
  • 1 POST
2.4 quad 4
Was this
answer
helpful?
Yes
No
Saturday, March 17th, 2012 AT 7:47 PM
Tiny
FIXITMR
  • MECHANIC
  • 9,990 POSTS
Did ya find it?
Was this
answer
helpful?
Yes
No
+1
Sunday, March 18th, 2012 AT 7:36 AM

Please login or register to post a reply.