How to change multifunction switch

Tiny
WHEELZ1961
  • MEMBER
  • 1998 CHEVROLET LUMINA
  • 158,000 MILES
Need to change a multifunction switch
Sunday, January 1st, 2012 AT 9:35 PM

1 Reply

Tiny
RIVERMIKERAT
  • MECHANIC
  • 6,110 POSTS
STEERING COLUMN SWITCHES -1998 Chevrolet Lumina
Page 1 of 1
Removal

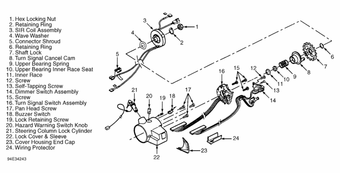
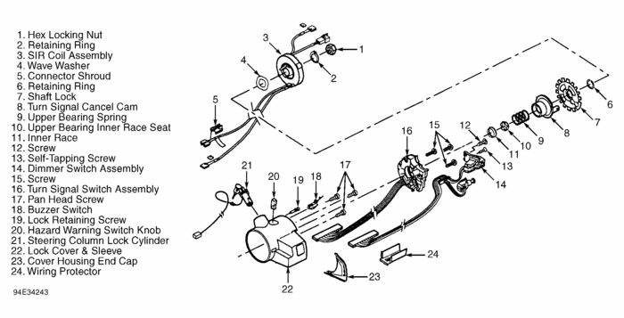
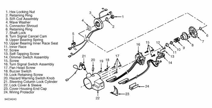
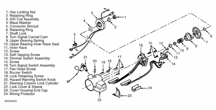
1.
Disconnect negative battery cable. Remove SIR coil assembly, and allow it to hang freely. See AIR BAG RESTRAINT SYSTEM article. Remove wave washer. See Fig. 6.
Using Lock Plate Compressor (J-23653-SIR), push down shaft lock and remove shaft lock retaining ring. Discard shaft lock retaining ring. Remove shaft lock. Remove turn signal cancel
cam assembly.
Remove upper bearing spring, upper bearing inner race seat, and inner race. Remove multifunction lever. See MULTIFUNCTION SWITCH. Push top and bottom edges of end cap
out of slots in housing. Tip end cap away from housing, and remove housing cover end cap from vehicle.
Remove round washer head and flat-head screws. Remove pivot and pulse switch, and allow to hang freely. Using small screwdriver, pry off hazard warning switch ****.
Move turn signal up to right turn position. Remove turn signal switch. Disconnect electrical connector. Remove wiring harness protector. Gently pull wiring harness through steering column.
2.
3.
4.
5.

STEERING COLUMN SWITCHES -1998 Chevrolet Lumina
Page 1 of 1
Installation

To install, reverse removal procedure. Tighten screws to specification. See TORQUE SPECIFICATIONS. When installing turn signal cancel cam, lubricate with synthetic grease.
When installing shaft lock, ensure inner block tooth of lock is aligned with block tooth of race and upper shaft assembly. Using Lock Plate Compressor (J-23653-SIR), push down shaft lock and
install NEW shaft lock retaining ring. Ensure retaining ring is firmly seated in groove on shaft. To complete installation, reverse removal procedure.
1.
2.
Fig. 6: Exploded View Of Upper Steering Column Assembly Courtesy of GENERAL MOTORS CORP.
Was this
answer
helpful?
Yes
No
Sunday, January 1st, 2012 AT 9:41 PM

Please login or register to post a reply.