Sunday, March 6th, 2011 AT 5:12 PM
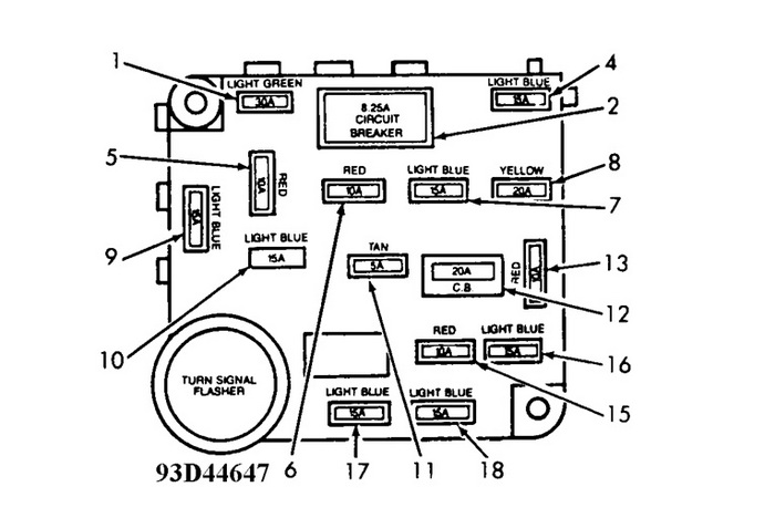
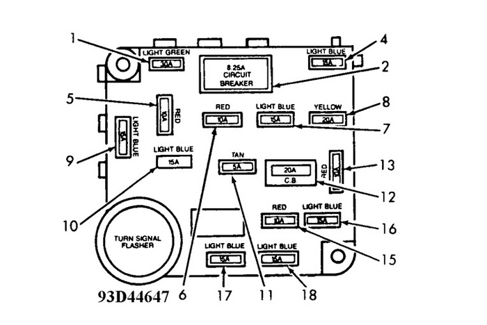
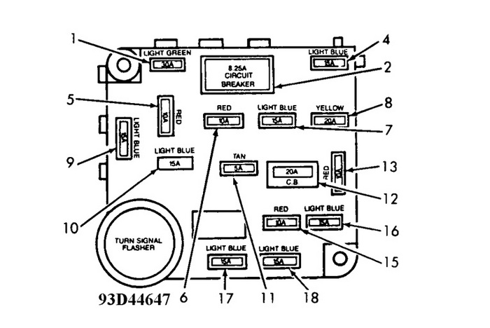
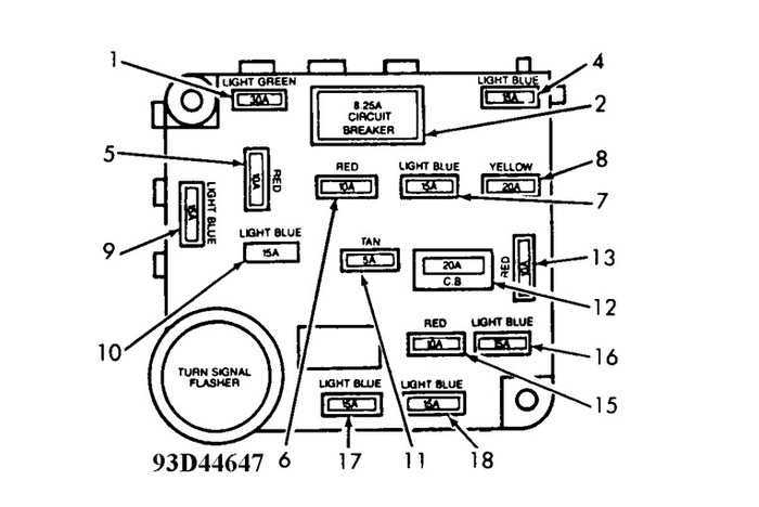
Yes I have a 1995 murcery grand marquis and was parked for 3 months now the turn signal lights dont work wont even light up and the emergency flashers wont work. Checked the fuses they are good. Is there a flasher or what could it be and where would the flasher be located thanks Joe


