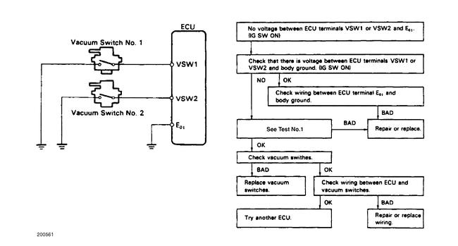
Code 41. Throttle position sensor. This car has the older style position sensor that looks like a linear pot or an LVDT, that (I assume) follows the throttle position on the opposite side of the carb from the throttle cable. As the throttle is opened, the sensor doesn't extend (at all). It has minimal travel the other direction (like closing the throttle), but it needs to extend in order to "follow" the linkage arm when you give it the gas. Are there two different sensors to choose from, or is this one malfunctioning? The tip of the little rod never touches the throttle linkage. The total travel from the sensor looks to be about 1/4".
I hope I am explaining these things clear enough for you to get a picture of what's going on. Any help you can give is much appreciated. Thank you,
Tom Coker.
1989 Toyota Tercel DX
5 sp manual trans, 1500cc 3E Cal. Motor.
Saturday, July 5th, 2014 AT 11:08 AM

