1981 F-250 Vacuum diagram

Tiny
LAWRYNOWICZ
  • MEMBER
  • 1981 FORD F-250
  • V8
  • 2WD
  • MANUAL
  • 337,000 MILES
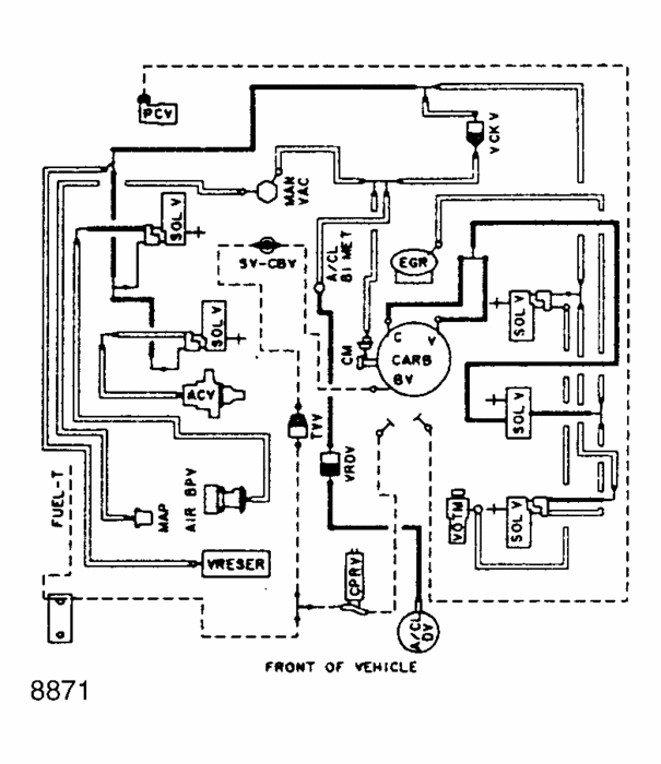
Where can I get the vacuum diagram for a 1981 F250 with a 400 engine? The sticker is not on the truck
Sunday, May 8th, 2011 AT 6:19 PM

4 Replies

Tiny
CJ MEDEVAC
  • MECHANIC
  • 11,005 POSTS
Are you in a Emissions checked area?

I looked in an online repair manual. Seems they think it's too old to show the diagrams.I do Jeep CJs, same for me, I do have paper Chilton manuals which do show my Jeep's diagrams

You got access to a paper manual. The library is a good place to borrow one.

Sorta what are you doing?

Out of the many lines that came on my Jeep, Only 2 are really necessary (PCV, and vac advance).'Course I have a manual tranny and manual brakes. Still, thats only 2 more!

Can we get you fixed by modifying stuff?

Let's hear the detailed story!

The Medic
Was this
answer
helpful?
Yes
No
-2
Sunday, May 8th, 2011 AT 9:11 PM
Tiny
RASMATAZ
  • MECHANIC
  • 75,992 POSTS
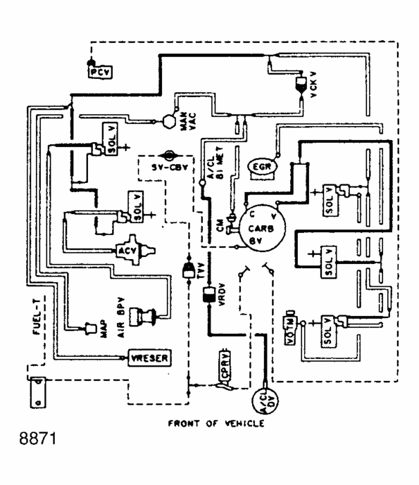
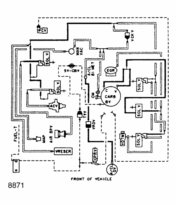
Check if its similar to 1983 vac diagram for a 5.8L -below-no info on 81/82
Was this
answer
helpful?
Yes
No
+1
Sunday, May 8th, 2011 AT 10:19 PM
Tiny
CJ MEDEVAC
  • MECHANIC
  • 11,005 POSTS
Thanks Raz,

I really have had a hard time finding that stuff in M1

The Medic
Was this
answer
helpful?
Yes
No
Sunday, May 8th, 2011 AT 10:49 PM
Tiny
RASMATAZ
  • MECHANIC
  • 75,992 POSTS
No problem Ranger -keep marching straight forward you'll do fine as usual, I had a hard time too, I almost quit-lol God bless
Was this
answer
helpful?
Yes
No
Monday, May 9th, 2011 AT 7:13 PM

Please login or register to post a reply.