It locks but does not unlock. All other doors working properly. At the same time it shows that the door is ajar.
Again only the left front. I assume that it is the door lock actuator is going bad.
Is my assumption correct?
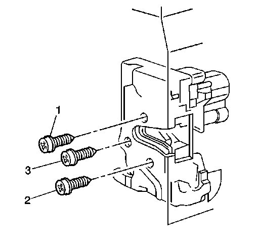
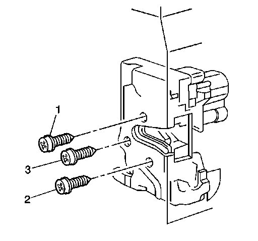
Are there any detailed instructions on the replacement procedure? Thanks.
Again only the left front. I assume that it is the door lock actuator is going bad.
Is my assumption correct?
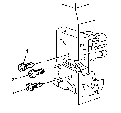
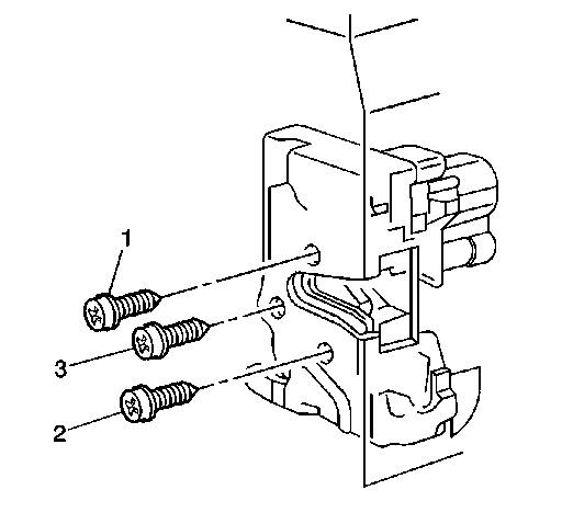
Are there any detailed instructions on the replacement procedure? Thanks.
Sep 12, 2018 at 4:02 PM





