Saturday, February 1st, 2020 AT 12:59 PM
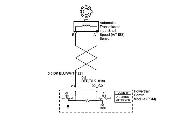
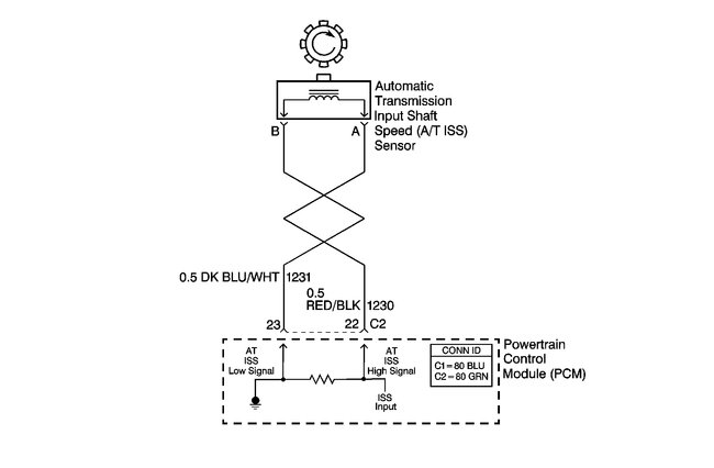
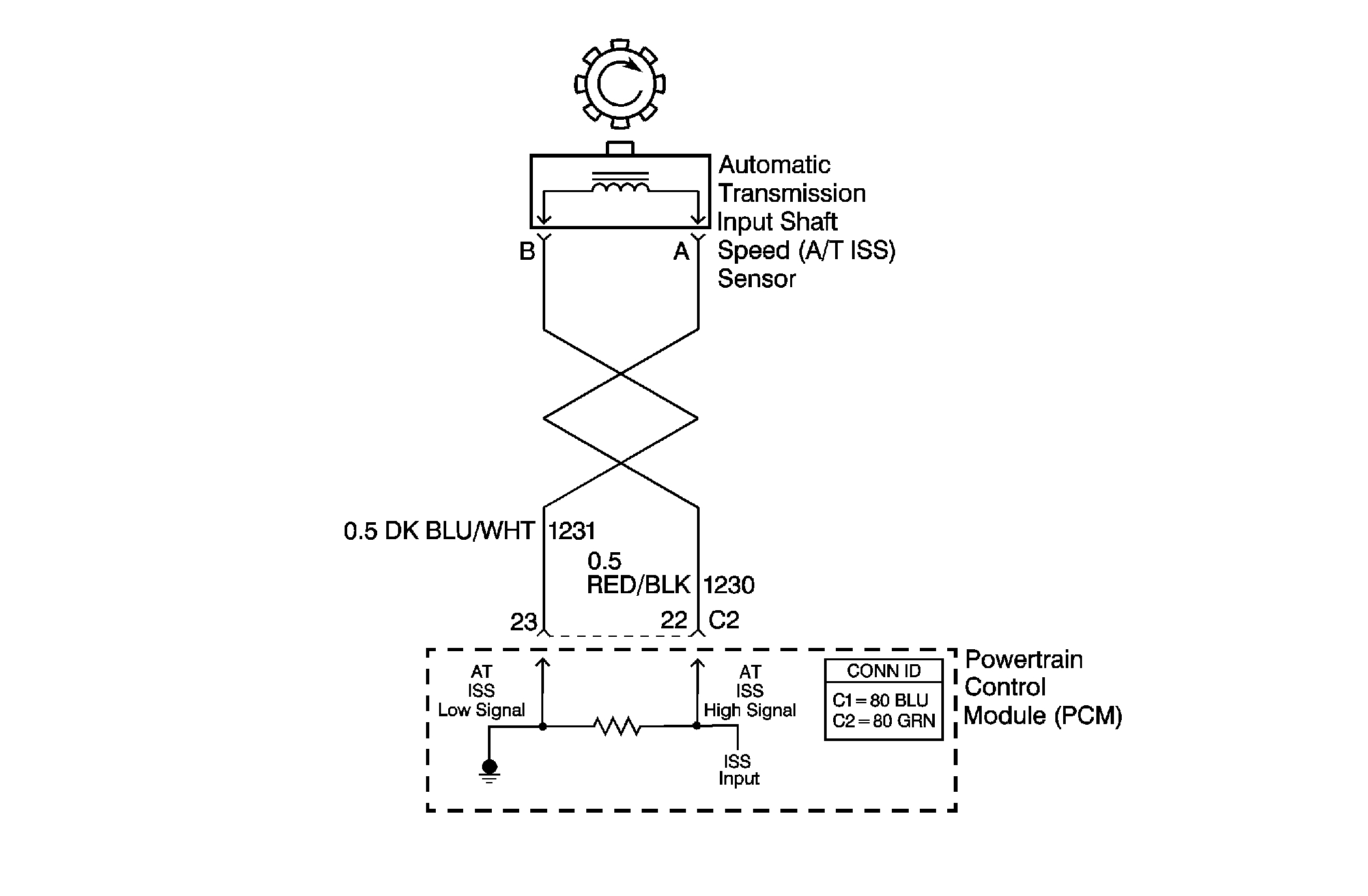
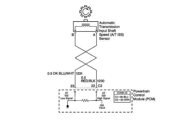
I am restoring the truck listed above 2500 hd. I am getting p0717 ISS sensor code and from looking at wiring diagrams there should be wires from the PCM to the ISS sensor, but they are not coming out of the harness at the PCM. Looks as if they where never there? Got this from the original owner.






