Where is the 0² sensor near catalytic converters bank 1 and bank 2 located?

2005 TOYOTA SIENNA
125,000 MILES • 3.3L • V6 • 4WD • AUTOMATIC
Avatar
IMAGING
  • MEMBER
  • 151 POSTS
Received a code to replace both cats bank 1 and bank 2. First, I would like to know where they are?
Secondly, could it be the 0² sensors that need replacing and not the cats?
How can I find out and should I test the temperatures on them and how?
Oct 3, 2021 at 10:20 AM
Repair Safety Notice: This information is for general instructional purposes only. Vehicle repair can be dangerous. Verify all information, follow manufacturer service procedures, use proper tools and safety equipment, and consult a qualified repair shop when needed.
Advertisement
Avatar
KASEKENNY
  • CAR REPAIR CONTRIBUTOR
  • 18,907 POSTS
When you have a code that says cat inefficiency (assuming this was your code) then all that is saying is that based on the o2 sensor data the PCM thinks the converter is not reducing the emissions enough.

So, this means it can be a faulty o2 sensor and this would be the more likely cause then both converters failing at the same time.

Here is a guide that will help with testing a converter:

https://www.2carpros.com/articles/how-to-test-a-catalytic-converter

https://www.2carpros.com/articles/catalytic-converter-replacement

Also, the best way to check the converters is to monitor the o2 sensor info. The most common cause of this is faulty upstream o2 sensors where it says the oxygen content is low and the downstream sensor is reading properly but they are higher than the upstream, so it assumes the converter is not reducing any emissions.

If you think about this, this is a clear sign the upstream o2 sensors are faulty because you cannot have higher fuel content after the converter then before it. O2 sensors do not detect fuel, only oxygen but when there is less oxygen, it is being offset by fuel so indirectly you are reading the fuel in the exhaust as well.

The only exception to this is if you have misfires that has damaged the o2 sensor and converters.

However, if you let us know what codes you have, we can attach the specific testing so that you can run through this and confirm what the issue is.

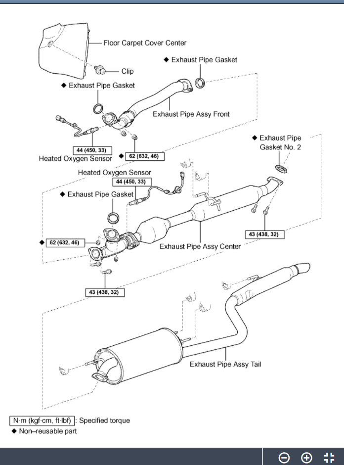
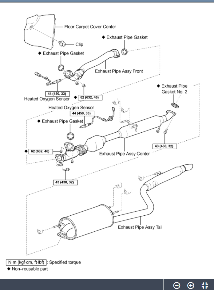
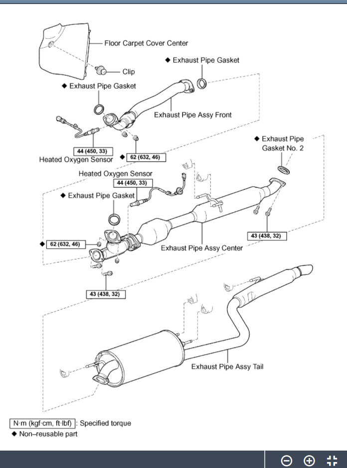
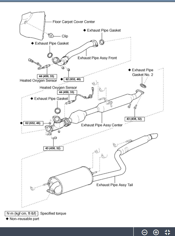
Please see the info attached below. Let us know if you have other questions. Thanks
Oct 3, 2021 at 2:50 PM
Advertisement
Avatar
IMAGING
  • MEMBER
  • 151 POSTS
The codes are P0430 and P0420.
Oct 3, 2021 at 4:41 PM
Avatar
KASEKENNY
  • CAR REPAIR CONTRIBUTOR
  • 18,907 POSTS
Okay. That is great. That is exactly what I was talking about above. These codes are telling you that the cat is not reducing the emissions enough.

This could be due to a faulty sensor or catalytic converter, so I attached the testing below.

Please run through this and let me know what questions you have.

However, since this is both banks it may be a fuel issue.

Have you recently filled the fuel tank or does this vehicle sit a lot?

It may be worthwhile to get one of those bottles of fuel cleaner that claim they will get you to pass emissions.

The only reason is, it is highly unlikely for both converters to fail at the same time. So, this means there was most likely some bad fuel that went through and could be coating the o2 sensors. This chemical could clean it up and save a ton of work.

I would not bet on it working but it is worth $20.00 to try.
Oct 3, 2021 at 6:26 PM