Friday, February 12th, 2021 AT 9:12 AM
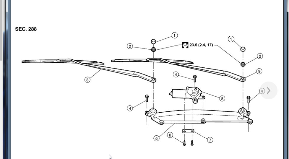
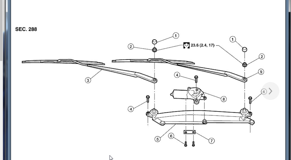
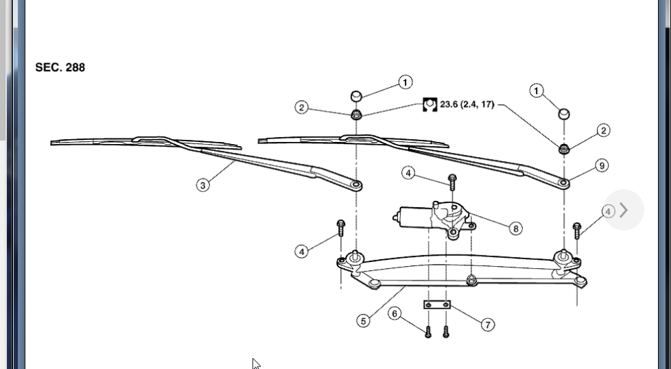
My passenger wipers park placement likes to ride up my windshield. Eventually crossing paths with the other wiper. How do I fix it?




