Windshield wipers not working properly

Tiny
KEMPACHI4554
  • MEMBER
  • 1996 INFINITI QX4
  • 212,000 MILES
My windshield wipers will not move. I can hear the motor running but the blades seem to be off track.
Sunday, November 25th, 2018 AT 2:54 PM

1 Reply

Tiny
JACOBANDNICKOLAS
  • MECHANIC
  • 110,194 POSTS
Hi and thanks for using 2CarPros.

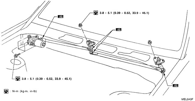
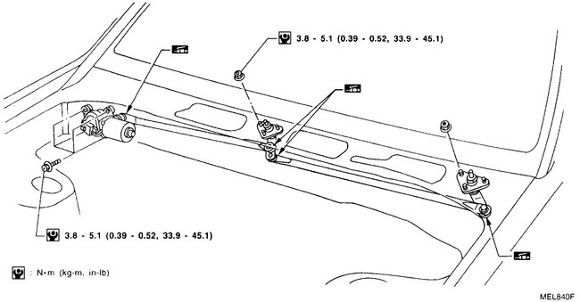
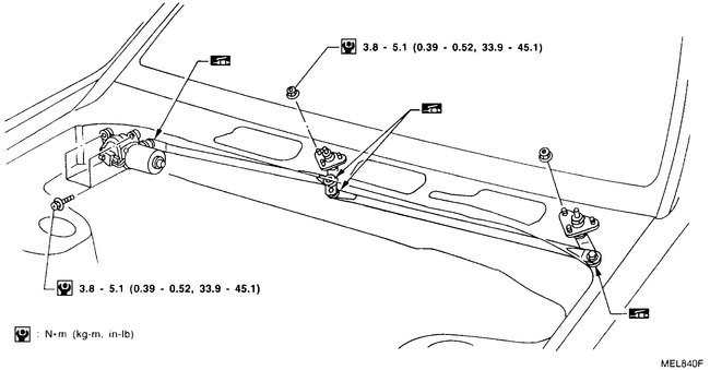
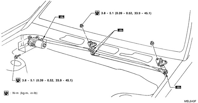
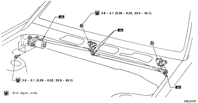
It sounds like the linkage came off the motor. The wiper motor is located on the passenger side under the hood. There are three mounting locations for the linkage. One at the motor, and the other two on the wiper gear box. That is the first thing I would check.

See the attached picture. Check the linkage at the motor first.

Let me know what you find or if you have other questions.

Take care,
Joe
Was this
answer
helpful?
Yes
No
Monday, November 26th, 2018 AT 2:28 PM

Please login or register to post a reply.