Is this the ambient temperature sensor

2008 HONDA CIVIC HYBRID
160,000 MILES • 1.3L • 4 CYL • 2WD • MANUAL
Avatar
MAEMOND
  • MEMBER
  • 54 POSTS
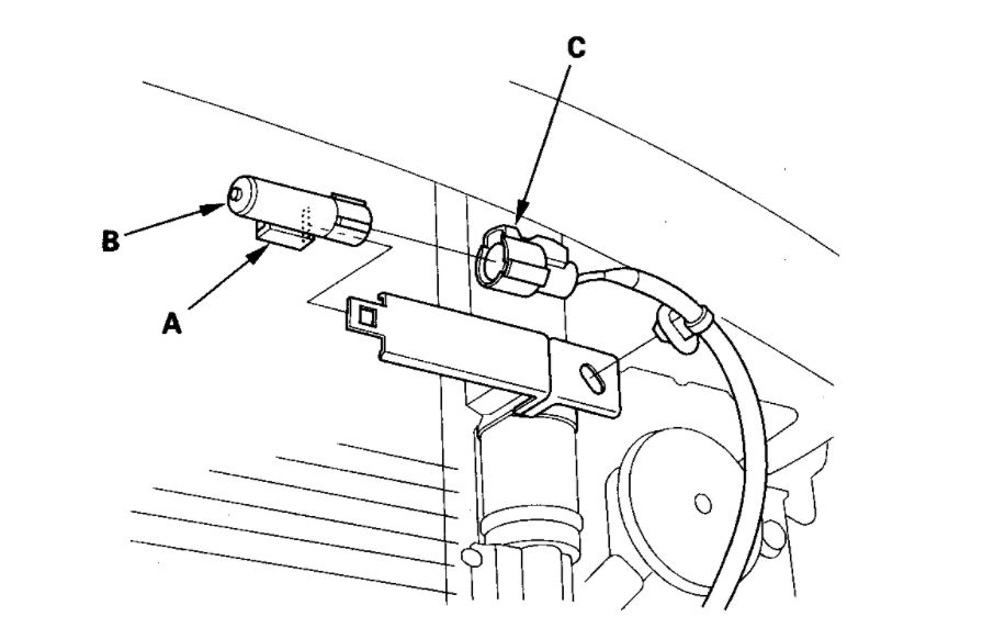
Was replacing the condenser, and noticed this thing. It is not connected, and can not find a connector for that anywhere.
Aug 26, 2020 at 10:18 PM
Repair Safety Notice: This information is for general instructional purposes only. Vehicle repair can be dangerous. Verify all information, follow manufacturer service procedures, use proper tools and safety equipment, and consult a qualified repair shop when needed.
Advertisement
Avatar
ASEMASTER6371
  • CAR REPAIR CONTRIBUTOR
  • 52,796 POSTS
Good morning,

Is it hanging free or is it bolted to it?

It looks like an ambient temperature sensor for temperature signal to the HVAC module.

Look around for the connector. It has to be in the area to hook it up.

Roy
Aug 27, 2020 at 2:47 AM
Advertisement
Avatar
MAEMOND
  • MEMBER
  • 54 POSTS
Looks exactly like that. There’s a bracket that it attaches to just like in the diagram. What does that do? And why can’t I find a connector for it?
Aug 27, 2020 at 9:30 AM
Avatar
ASEMASTER6371
  • CAR REPAIR CONTRIBUTOR
  • 52,796 POSTS
Again, it sends a signal to the HVAC module for the outside temperature.

I have no idea. The connector has to be there somewhere. You need to look around for a wire that is not connected in that area.

Roy
Aug 27, 2020 at 10:53 AM