2000 Volkswagen Beetle Fuel Pump knocks loudly

Tiny
02MARC
  • MEMBER
  • 2000 VOLKSWAGEN BEETLE
  • 4 CYL
  • 2WD
  • AUTOMATIC
  • 87,000 MILES
My VW Bug is a 2000 1.8L turbo. It has about 87,000 on it. I just replaced the fuel pump with an OE replacement and it is making the same loud knocking noise the old one did right before I changed it out. I replaced the fuel filter approx 2 months ago. I checked for kinked lines but all were ok. Nobody so far can answer this.
Monday, October 19th, 2009 AT 1:20 PM

31 Replies

Tiny
SERVICE WRITER
  • MECHANIC
  • 9,123 POSTS
Not sure that I can help, but certainly willing to try.

You are positive this is coming from the fuel tank area?

Does the noise ever get louder?

Does it ever increase or decrease in repetition?

When you first turn the key to the on position, before you crank it, does the noise happen as the pump is being energized?

I know some GM have a pulse dampner, not sure on the beetle.

If you have the old one, can you hot wire it to observe any anomolies?
I need to read through my tech software to see if I can pry out something to work with.

I did find a tsb that my be unrelated, but want to share it regardless because I would gather low oil pressure may continue this condition:

Engine - Rattling Noise On Start Up (Normal Condition)

Condition
Camshaft Chain Tensioner(s) or Camshaft Adjuster(s), Rattle or Knocking Noise

Technical Background
The camshaft adjustment is hydraulically actuated and controlled by the engine oil pressure.

If the vehicle has been sitting, with the engine turned off for a period of time, the oil accumulation inside the camshaft adjusters partially bleeds off and the oil flows back into the oil sump.

To ensure an efficient camshaft adjustment after an engine cold start, the oil pressure inside the camshaft adjusters must be built up as quickly as possible.

During this time a slight rattle or knocking noise may be audible.

This noise is normal at engine start and will last until the oil pressure is fully reinstated.

I found another one regard the trunk lid. I want you to open the trunk lid and keep it propped while you see if the noise is still present.

PAul
Was this
answer
helpful?
Yes
No
Tuesday, October 20th, 2009 AT 6:04 AM
Tiny
02MARC
  • MEMBER
  • 16 POSTS
The fuel pump is stand alone under the back seat. You can remove it from the inside. When I start it for about 30 seconds or so it runs great and very smooth. After that the knock starts out soft and builds real fast to a loud pound. I can feel it also when I put my hand on it. Especially on the fuel return side of the pump. The engine then starts to idle rougher. The sound stays the same after that and I can hear the pump behind the knocking going up and down slowly in pitch. Like a wave. My old one made the same loud knocking sound right before I pulled it into the garage to change the pump out. Weird. Nobody can tell me what it is. Some say bad fuel, others a pressure pump.
Was this
answer
helpful?
Yes
No
Tuesday, October 20th, 2009 AT 1:28 PM
Tiny
SERVICE WRITER
  • MECHANIC
  • 9,123 POSTS
A defective pump is possible, seriously doubt a bad gas scenario.

I am thinking a restriction a line maybe in the return line. Check and monitor the fuel pressure from start up.
I would do this not only to determine the symptom source, but the reason for the runniblility issue. I would not be surprised if you find the pressure goes out of spec. As it warms up. If I am right, I would pull off the return line at each end and blow compressed air through it, replace the filter and do the same on that line as well as the vent line.

Also on the fuel filter replacement, I would question it. Any time I do a fuel pump, we do the filter. I don't care if it was done the week before. I have seen filters start to plug up very quickly in some cases.
Was this
answer
helpful?
Yes
No
Tuesday, October 20th, 2009 AT 7:30 PM
Tiny
02MARC
  • MEMBER
  • 16 POSTS
Thanks. I will replace the filter and take the return line off. How do you check the pressure?
Was this
answer
helpful?
Yes
No
Wednesday, October 21st, 2009 AT 9:43 AM
Tiny
SERVICE WRITER
  • MECHANIC
  • 9,123 POSTS
Do you have a fuel pressure gauge?

OEM style:
VAG1318 pressure gauge
Adapter 1318/9
Adapter 1318/17

Aftermarket gauges should work, but you'll need the right adapters.

IF yes, I'll send the procedure.
Was this
answer
helpful?
Yes
No
Wednesday, October 21st, 2009 AT 10:44 AM
Tiny
02MARC
  • MEMBER
  • 16 POSTS
I don't have tools like you guys do.I'm just a weekend warrior. Now over my head. I can't even move it to a shop.
Was this
answer
helpful?
Yes
No
Wednesday, October 21st, 2009 AT 11:39 AM
Tiny
SERVICE WRITER
  • MECHANIC
  • 9,123 POSTS
Maybe I missed it, but I thought it runs, just rough.

Can you get the lines disconnected and blow air through them?
Even if you buy a small compressor, it is something that always comes in handy around the house.

IF there is a restriction, this may be why the pump goes from good to bad.

Another thing I might try is to disconnect the return line and run it into a container and visually see if the volume starts dropping off as it gets worse.
Was this
answer
helpful?
Yes
No
Wednesday, October 21st, 2009 AT 11:48 AM
Tiny
02MARC
  • MEMBER
  • 16 POSTS
It runs rough at idle and when I talk my foot off the gas (all this is in my driveway) it seems like it wants to stall. But doesn't. I'm just afraid it will stall on the road and it is about 15 miles to the nearest shop that works on VW's. This after noon I am going to try all you recommended this morning. Disconnecting the return line should show a steady stream of gas into a container when started right? And is ok to run disconnected? I will pay more if any of this works.
Was this
answer
helpful?
Yes
No
Wednesday, October 21st, 2009 AT 1:03 PM
Tiny
SERVICE WRITER
  • MECHANIC
  • 9,123 POSTS
The return line is just returning the fuel that isn't used, so it isn't a problem doing so with any I have worked on.
Was this
answer
helpful?
Yes
No
Wednesday, October 21st, 2009 AT 2:30 PM
Tiny
SERVICE WRITER
  • MECHANIC
  • 9,123 POSTS
Hey,
I was talking to the top Monkey around here on your car. DId you replace the pump with a after market pump, If so What brand? Or did you get one from the dealer? With the exception of Delphi, All the other aftermarket ones really have bad track records.
Was this
answer
helpful?
Yes
No
Wednesday, October 21st, 2009 AT 7:44 PM
Tiny
02MARC
  • MEMBER
  • 16 POSTS
It is a Delphi OEM pump.
Was this
answer
helpful?
Yes
No
Thursday, October 22nd, 2009 AT 9:56 AM
Tiny
SERVICE WRITER
  • MECHANIC
  • 9,123 POSTS
Good.
You may want to give delphi tech support a call at 1-877-go delphi.
Was this
answer
helpful?
Yes
No
Thursday, October 22nd, 2009 AT 1:32 PM
Tiny
02MARC
  • MEMBER
  • 16 POSTS
I will do that. Thanks
Was this
answer
helpful?
Yes
No
Thursday, October 22nd, 2009 AT 2:14 PM
Tiny
02MARC
  • MEMBER
  • 16 POSTS
I was going to call Delphi but there are to many numbers. 877/go delphi
Was this
answer
helpful?
Yes
No
Thursday, October 22nd, 2009 AT 2:43 PM
Tiny
SERVICE WRITER
  • MECHANIC
  • 9,123 POSTS
LMAO!

I had sat there for about 5 minutes writing it out and kept getting 8 numbers too. I got it from both my supplier and the Delphi website. Finally I just copied and pasted it from the site. I was hoping it worked, but didn't ty it.
. I'm gonna dial it and see what happens.
Was this
answer
helpful?
Yes
No
Thursday, October 22nd, 2009 AT 6:45 PM
Tiny
SERVICE WRITER
  • MECHANIC
  • 9,123 POSTS
Sorry. Didn't mean to laugh.
Was this
answer
helpful?
Yes
No
Thursday, October 22nd, 2009 AT 6:46 PM
Tiny
SERVICE WRITER
  • MECHANIC
  • 9,123 POSTS
HEH HEH. And you doubted me! HAHA!

When you call the number, keep in mind the menu has changed on December X, 2008.

On the serious side I hope they can give some more technical logic that brings this to a close.

Did you try blowing out the lines?
Was this
answer
helpful?
Yes
No
Thursday, October 22nd, 2009 AT 6:50 PM
Tiny
02MARC
  • MEMBER
  • 16 POSTS
Oh man.I had to laugh also about being so dumb! Of course, the telephone only dials 7 numbers. Duh! I called but they were busy. I am going to recall this morning. I haven't blown the lines out yet. Tomorrow I am spending the day on the 'dub. You have given some good ideas. Hopefully they will end this nightmare for me! Question, I know where the return line terminates into the pump. Where is the other end? Thanks
Was this
answer
helpful?
Yes
No
Friday, October 23rd, 2009 AT 9:33 AM
Tiny
SERVICE WRITER
  • MECHANIC
  • 9,123 POSTS
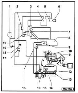
Look at the fuel rail

9 is the pump
16 is the pressure line

13 is the rail


https://www.2carpros.com/forum/automotive_pictures/30961_fu_1.jpg

Was this
answer
helpful?
Yes
No
Friday, October 23rd, 2009 AT 11:24 AM
Tiny
02MARC
  • MEMBER
  • 16 POSTS
Great schematic. That helps alot. I just talked to Delphi and they are kicking in the wind like we are. I am going to check the lines tomorrow as you suggested. It has a black and blue fuel line on top of the pump, what color is output and what color is input? Dephi wanted me to check that it was installed correctly and not touching the bottom. I lined the pump up to the hole facing the trunk which is where I think I remember it was. I have the blue line hooked up to the return side. Right?
Was this
answer
helpful?
Yes
No
Friday, October 23rd, 2009 AT 12:01 PM

Please login or register to post a reply.