Vent/blend door actuator

Tiny
SIERRA GUYA
  • MEMBER
  • 1997 GMC C1500
  • 5.0L
  • V8
  • 2WD
  • AUTOMATIC
  • 107,000 MILES
Are the vent and blend doors same part number? I guess I could say are they interchangeable for my year of truck. Blend door seems to be fine, A/C is cold and heat is heat. Vent door is kind of hit and miss as far as floor to defrost and in between.
Friday, June 7th, 2019 AT 4:54 PM

1 Reply

Tiny
JACOBANDNICKOLAS
  • MECHANIC
  • 110,194 POSTS
Welcome to 2CarPros.

Interestingly, I thought they were different, but according to my information, they have the same part number. So, to the best of my information, they are the same. The item you are referring to is called the mode door actuator.

I don't know if you need this, but here is info for replacing one. It explains how they are adjusted, so I thought you may need them. The attached pictures correlate with the directions.

_______________________________________

MODE ACTUATOR
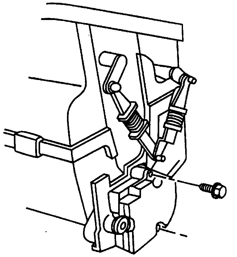
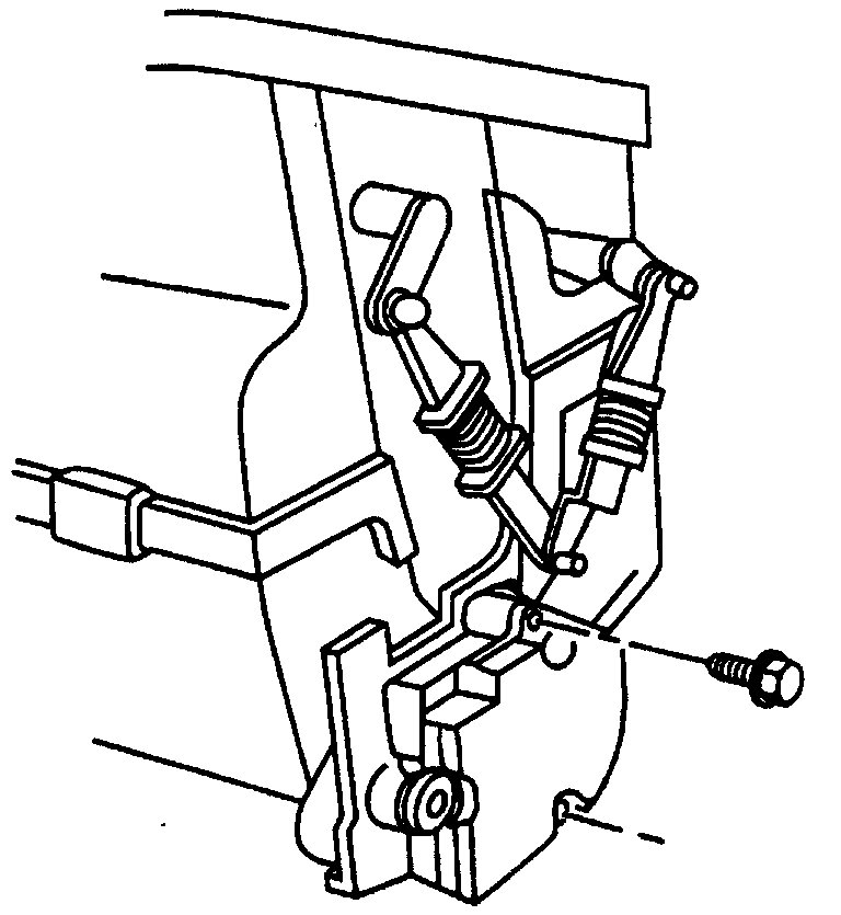
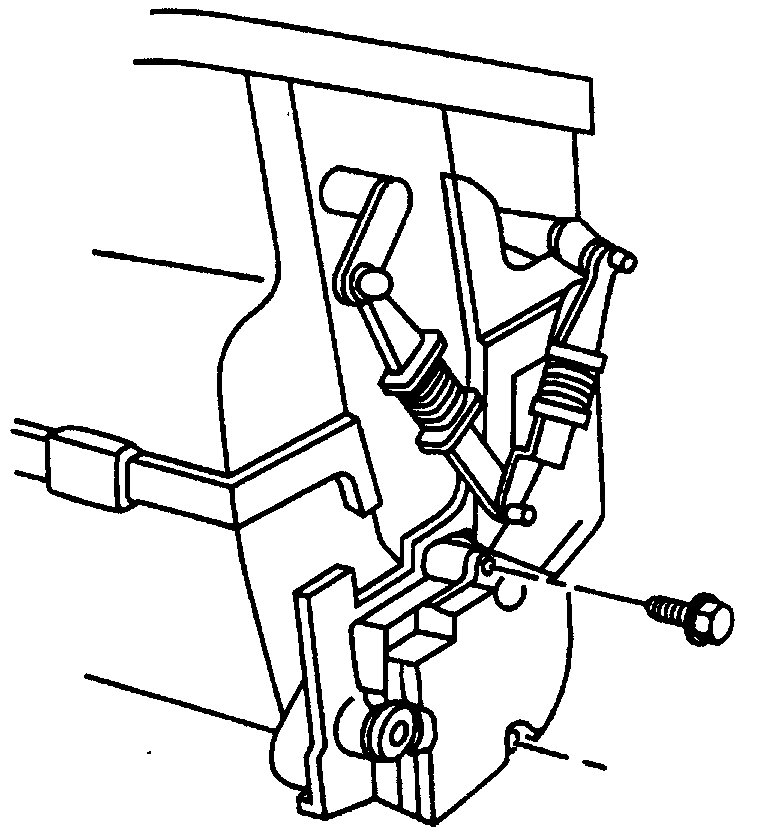
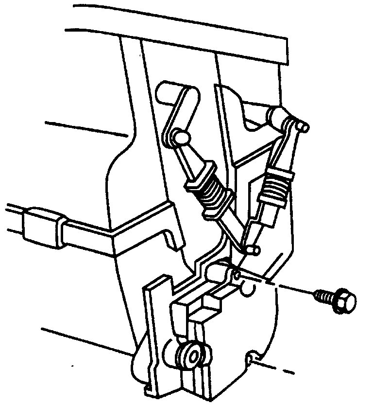
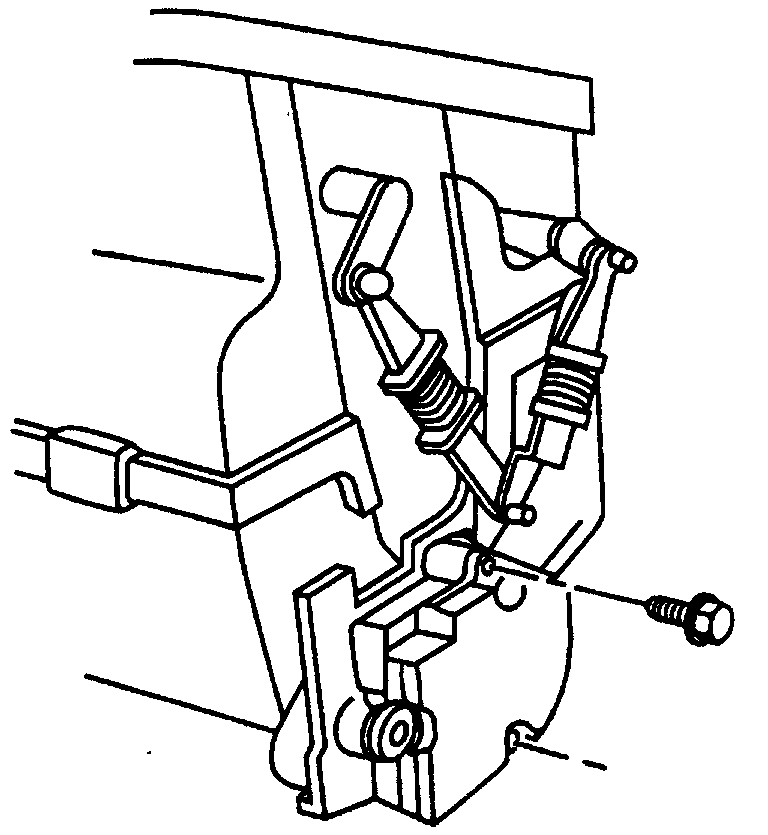
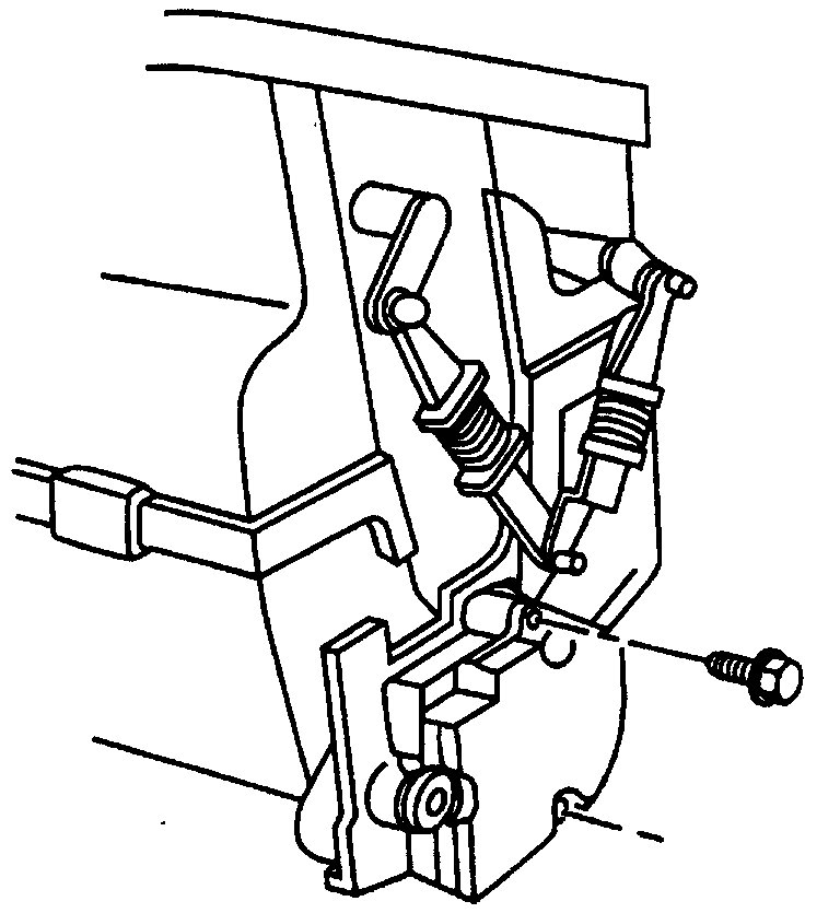
Mode Actuator Location

pic 1

Mode Actuator Replacement

pic 2

Remove or Disconnect
1. Negative battery cable.
2. Electrical connector.
3. Screws.
4. Adjuster links from control lever.
5. Mode actuator.

Adjust
A. Electrical connector to the actuator.
B. Turn the ignition key to the run position and let the actuator position itself.
C. Turn off the ignition key.
D. Remove the actuator from the electrical connection.

Install or Connect
1. Mode actuator.
2. Screws.
3. Adjuster links to control lever.
4. Electrical connector.
5. Negative battery cable.

- Check circuit operation.

____________________________________

I hope this helps. Let me know if you have other questions.

Take care,
Joe
Was this
answer
helpful?
Yes
No
Friday, June 7th, 2019 AT 9:48 PM

Please login or register to post a reply.