1) the odometer/PRND321 is constantly lit up even with key out of ignition and the battery will run down overnight if I do not disconnect it; battery is eight months old and holds a charge fine.
2) I can move the shift arm into all gears without the key and without the brake on.
3) there is no door chime when I put the key in the ignition.
4) And finally, I can turn the lock cylinder without the key in it and the van will start up and run, lol! I realize that might be a cool feature if you ever lose your keys but I would be more comfortable knowing I needed a key to start it.
5) Not sure if this is related, but it shifts into all gears except first. What would cause this?
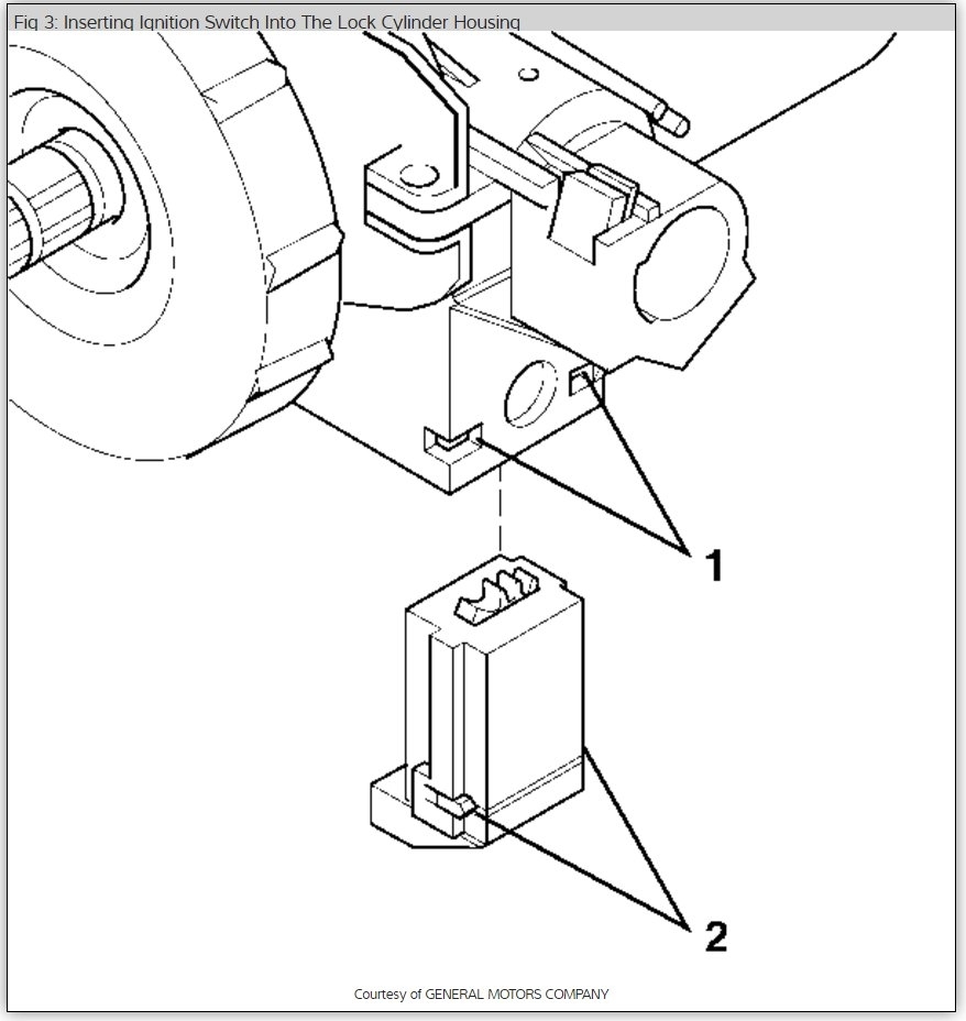
I am thinking it is the ignition, but your help would be greatly appreciated. Would I need to replace the whole ignition switch and lock cylinder?
Saturday, September 30th, 2017 AT 4:56 PM















