Small leak in the valve cover gasket

Tiny
THE KID
  • MEMBER
  • 2009 HONDA ODYSSEY
  • 6 CYL
  • AUTOMATIC
  • 172,000 MILES
I had a mechanic look at my car said I have a very very small leak valve cover gasket but no oil is leaking. Should I be concerned or is this a major problem?
Wednesday, March 4th, 2020 AT 3:18 PM

2 Replies

Tiny
CJ MEDEVAC
  • MECHANIC
  • 11,005 POSTS
What is leaking out of the cover?

The Medic
Was this
answer
helpful?
Yes
No
Wednesday, March 4th, 2020 AT 3:31 PM
Tiny
ASEMASTER6371
  • MECHANIC
  • 52,796 POSTS
Good evening,

If you are using any oil and there is no leak showing, I would wait until it needs to be done.

Did he say which one was leaking?

Roy

Cylinder Head Cover Removal

1. Remove the intake manifold See: Intake Manifold > Removal and Replacement > Intake Manifold Removal/Installation.

2. Remove the six ignition coils See: Ignition Coil > Removal and Replacement > Ignition Coil and Spark Plug Removal/Installation (Except J35A7).

3. Remove the dipstick.

Front Cylinder Head Cover

4. Remove the two bolts (A) securing the harness holder, and remove the harness clamp (B).

ImageOpen In New TabZoom/Print

Rear Cylinder Head Cover

5. Remove the drive belt See: Drive Belt > Removal and Replacement > Drive Belt Replacement (J35A6).

6. Remove the power steering (P/S) pump and the P/S hose bracket See: Cylinder Head Assembly > Removal and Replacement > Cylinder Head Removal (J35A6) with its hoses connected.

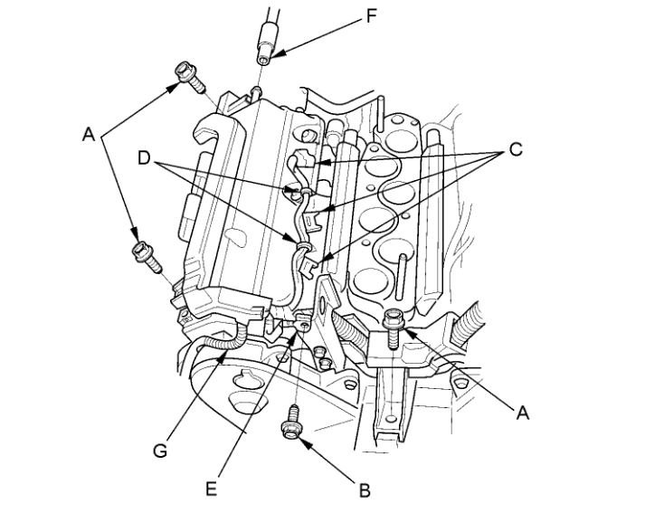
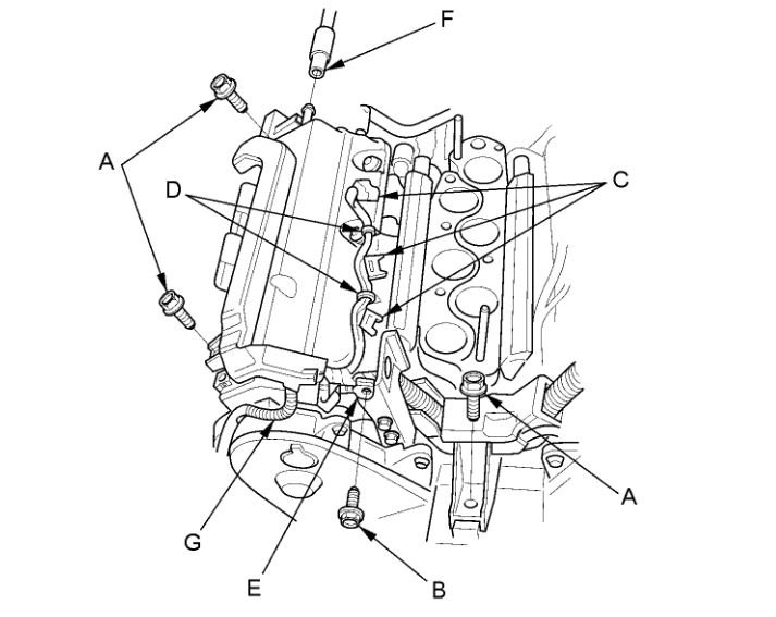
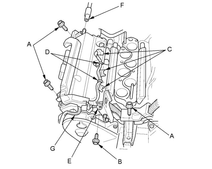
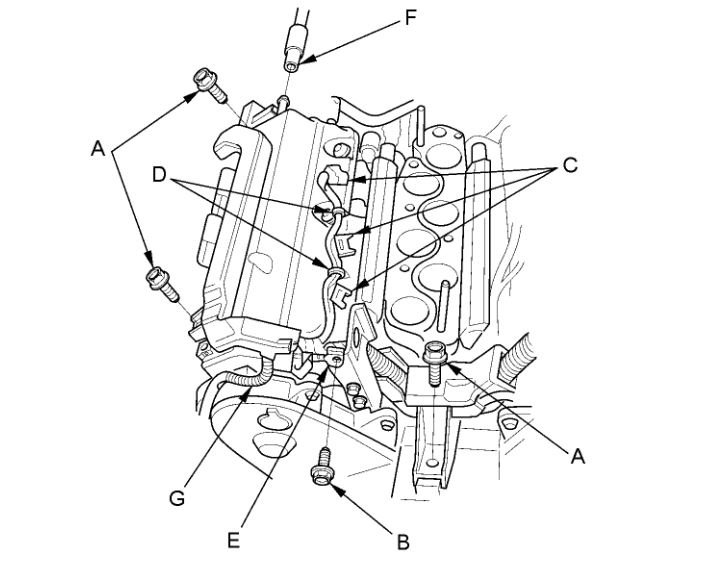
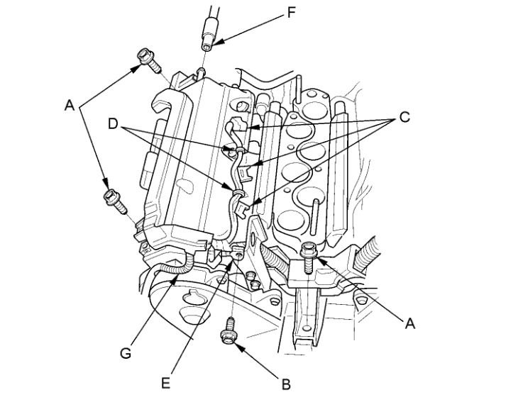
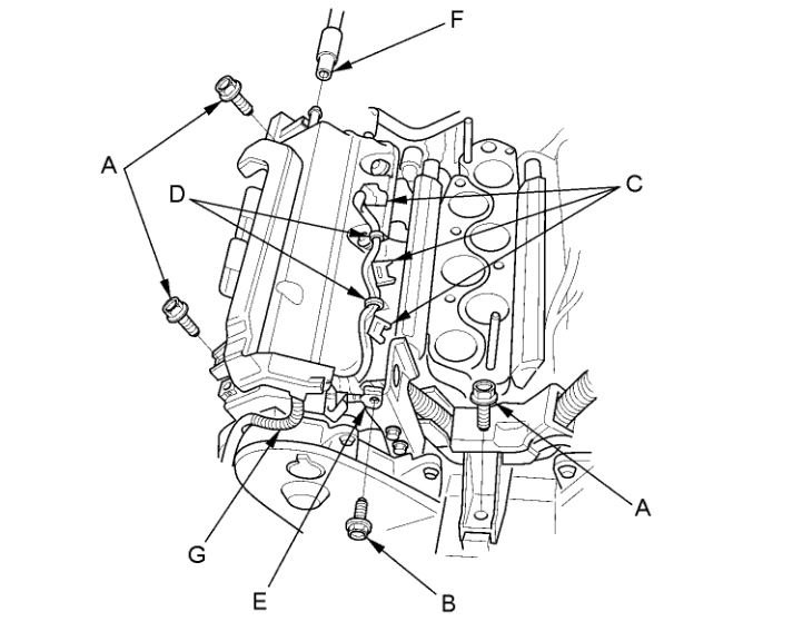
7. Remove the harness holder mounting bolts (A) and the engine ground cable bolt (B).

ImageOpen In New TabZoom/Print

8. Disconnect the injector connectors (C) and the two harness clips (D).

9. Remove the engine ground cable (E) and disconnect the breather hose (F).

10. Remove the harness (G) from the upper cover.

11. Remove the cylinder head cover.

FRONT

imageOpen In New TabZoom/Print

REAR

imageOpen In New TabZoom/Print
Was this
answer
helpful?
Yes
No
Wednesday, March 4th, 2020 AT 3:34 PM

Please login or register to post a reply.