Vacuum lines diagram

Tiny
DALE PROVANCE
  • MEMBER
  • 2012 CHEVROLET SILVERADO
  • 5.3L
  • V8
  • 2WD
  • AUTOMATIC
  • 195,000 MILES
How do I get a vacuum line diagram for my truck listed above?
Thanks much.
Saturday, December 29th, 2018 AT 7:35 PM

35 Replies

Tiny
JACOBANDNICKOLAS
  • MECHANIC
  • 110,194 POSTS
Hi Dale and thanks for using 2CarPros.

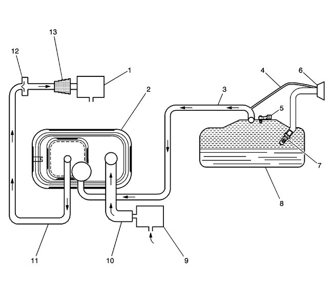
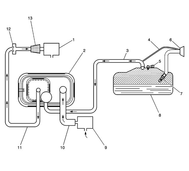
I have attached a picture of the EVAP system vacuum diagram. Also, I don't know if you are looking for a leak, but here is a link that describes how to find a vacuum leak:

https://www.2carpros.com/articles/how-to-use-an-engine-vacuum-gauge

Let me know if this helps.

Joe
Was this
answer
helpful?
Yes
No
+3
Saturday, December 29th, 2018 AT 7:44 PM
Tiny
MONKSTER
  • MEMBER
  • 7 POSTS
  • 2002 CHEVROLET SILVERADO
  • 5.3L
  • V8
  • 4WD
  • AUTOMATIC
  • 150,000 MILES
I need to know where the vacuum on front passenger side of intake goes. Any complete diagrams of the whole vacuums off the intake would be very helpful. I just changed my motor out and not sure if I have the vacuums hooked up right.
Was this
answer
helpful?
Yes
No
Tuesday, December 29th, 2020 AT 1:53 PM (Merged)
Tiny
HMAC300
  • MECHANIC
  • 48,601 POSTS
This is the only diagram we have and it covers from a 4.8L to 6.0L all the same. See picture.
Was this
answer
helpful?
Yes
No
+1
Tuesday, December 29th, 2020 AT 1:53 PM (Merged)
Tiny
MONKSTER
  • MEMBER
  • 7 POSTS
From what I gathered it is the crankcase breather tube, but there is nowhere to hook it up to. I went from a LM7 (non flex fuel) to a L59 (flex fuel). The guy that sold me the motor said that all I have to do is change my intake. Is that true? Because it is looking to be more than just that to me. Any information on the swap?
Was this
answer
helpful?
Yes
No
Tuesday, December 29th, 2020 AT 1:53 PM (Merged)
Tiny
HMAC300
  • MECHANIC
  • 48,601 POSTS
If it is flex fuel the injectors are different and fuel lines. Intake should be same but to be sure check against old one. It may connect to throttle body or ductwork leading from air cleaner to throttle body. Normally that is where breather goes.
Was this
answer
helpful?
Yes
No
Tuesday, December 29th, 2020 AT 1:53 PM (Merged)
Tiny
MONKSTER
  • MEMBER
  • 7 POSTS
I just want to update, my motor is changed out and running great. Just to verify you can change from non flex to a flex motor, you just have to change out your intake manifold and fuel rail. All in all the swap wasn't bad considering it was done in my back yard. Thanks for all the help.
Was this
answer
helpful?
Yes
No
Tuesday, December 29th, 2020 AT 1:53 PM (Merged)
Tiny
MAXIMILIAM
  • ADMIN
  • 436 POSTS
If you have any more issues or any other question, do not hesitate to get back to us!
Was this
answer
helpful?
Yes
No
+1
Tuesday, December 29th, 2020 AT 1:53 PM (Merged)
Tiny
MONKSTER
  • MEMBER
  • 7 POSTS
Would it be some thing else? Drove great yesterday(first run on new motor, today from 1st thing this morning I had to pat gas a few times to clear out and idle, like old school carbs. Way home from work started great then idle up a little then lower likes it breathing. Checked all visible signs hoses ect. Nothing. Gonna try carb cleaner trick tomorrow see if idles up. When I put back together originally I picked the best of the two and and used it just had to hear my 'used' motor for the first time. Question on gaskets would it being broke on 1/4 from bolt hole to bolt hole. Never interfers with intake gasket cause it to leak? RTV just them 2 or the hole gasket? I used the one that was all 1 piece but flatten compared to the other with a broken side. Wrong move I realize now.
Was this
answer
helpful?
Yes
No
Tuesday, December 29th, 2020 AT 1:53 PM (Merged)
Tiny
HMAC300
  • MECHANIC
  • 48,601 POSTS
If intake gasket is broken replace it rtv will get into exhaust and screw up O2 sensors. Carb cleaner may take of other problem bu clean throttle plate on both sides and iac hole
Was this
answer
helpful?
Yes
No
Tuesday, December 29th, 2020 AT 1:53 PM (Merged)
Tiny
MONKSTER
  • MEMBER
  • 7 POSTS
Ok after doing a little researching, the motor is "Z" but the intake is "T". The gaskets look very similar but the price is like $12 difference so there's gotta be some differents. So which gasket should I use?
Was this
answer
helpful?
Yes
No
-1
Tuesday, December 29th, 2020 AT 1:53 PM (Merged)
Tiny
HMAC300
  • MECHANIC
  • 48,601 POSTS
What is the difference of the old gasket vs new one? Larger ports, e85 fuel uses larger injectors for the alcohol. Have you cleaned throttle plate on both sides and iac hole and are there any holes between maf and engine if there are fix them so there are none same with bad grommets on engine, no air leaks
Was this
answer
helpful?
Yes
No
Tuesday, December 29th, 2020 AT 1:53 PM (Merged)
Tiny
MONKSTER
  • MEMBER
  • 7 POSTS
Do I get the gasket that fits the intake itself or the gasket that fits the block? I mean I understand larger ports so which side do I want to block more of? So to speak. I've cleaned the plates and iac hole when I had intake off changing motor out.
Was this
answer
helpful?
Yes
No
+1
Tuesday, December 29th, 2020 AT 1:53 PM (Merged)
Tiny
REALIST21
  • MEMBER
  • 2 POSTS
  • 2000 CHEVROLET SILVERADO
  • 300,000 MILES
Its a plastic elbow about a pencil eraser around and its on the transfer case
Was this
answer
helpful?
Yes
No
Tuesday, December 29th, 2020 AT 1:53 PM (Merged)
Tiny
JACOBANDNICKOLAS
  • MECHANIC
  • 110,194 POSTS
Check to see if it goes to the front axle.
Was this
answer
helpful?
Yes
No
-1
Tuesday, December 29th, 2020 AT 1:53 PM (Merged)
Tiny
HMAC300
  • MECHANIC
  • 48,601 POSTS
Uput the gaskets that will fit the head if worst comes to worse then try the intake from the other engine with the injectors for what the old engine was.I don't think anyone has ever done this kind of a swap before and it may not run right ever because of it. One other thing you may have to drive this for a bit so that computer can relearn what is dealing with so it can make corrections as you drive.
Was this
answer
helpful?
Yes
No
Tuesday, December 29th, 2020 AT 1:53 PM (Merged)
Tiny
REALIST21
  • MEMBER
  • 2 POSTS
Thank you
Was this
answer
helpful?
Yes
No
-1
Tuesday, December 29th, 2020 AT 1:53 PM (Merged)
Tiny
MONKSTER
  • MEMBER
  • 7 POSTS
Ok just to update she's purring like a kitten now. I tried your suggestion with the fuel rail switched to the motors original intake. Started up for bout 20 sec then wouldn't hit a lick. I checked everything, so I thought, then decided to put my old intake back on. Wouldn't hit a lick. I bled the fuel rail again but no gas started to come out. Now my fuel gauge has never worked I judge by the tripometer which only had bout 250 on it so I didn't ever think about gas at all. Poured about a gallon in tank and she fired right up. Stupid mistake I know. A little fine tuning and she's running top notch. My original motor had 280000 miles on it, got it with 45 new. This one starting at 140000 from junk yard. Maybe it'll last til I get it rebuilt. Gonna try to rebuild it myself. We'll never know if that odd ball swaps with the intake would work or not now. Anyway thanks for all your help
Was this
answer
helpful?
Yes
No
Tuesday, December 29th, 2020 AT 1:53 PM (Merged)
Tiny
JACOBANDNICKOLAS
  • MECHANIC
  • 110,194 POSTS
One other thought, on some of them, there was a vacuum supply that ran a switch for the 4wd light. I don't think your year had that, but it may.
Was this
answer
helpful?
Yes
No
Tuesday, December 29th, 2020 AT 1:53 PM (Merged)
Tiny
KEN L
  • MASTER CERTIFIED MECHANIC
  • 55,488 POSTS
Glad you could get it fixed please use 2CarPros. Com anytime we are here to help

Best, Ken
Was this
answer
helpful?
Yes
No
Tuesday, December 29th, 2020 AT 1:53 PM (Merged)
Tiny
MRPEPCKID
  • MEMBER
  • 1 POST
  • 1989 CHEVROLET SILVERADO
Engine Performance problem
1989 Chevy Silverado V8 Two Wheel Drive Automatic

I need to find the correct assemble for the vacuum lines that conect to the fuel injected carborator. I have them hooked up but the engine is idleing to fast and when I put it into gear it stalls out.
Was this
answer
helpful?
Yes
No
Tuesday, December 29th, 2020 AT 1:53 PM (Merged)

Please login or register to post a reply.